LEMON Manuals: Even more car manuals for everyone: 1960-2025
Home >> Honda >> 2003 >> Insight L3-1.0L Hybrid >> Repair and Diagnosis >> Powertrain Management >> Computers and Control Systems >> Relays and Modules - Computers and Control Systems >> Main Relay (Computer/Fuel System) >> Testing and Inspection >> Power Relay Test
April 5, 2026: LEMON Manuals is launched! Read the announcement.

Power Relay Test

Power Relay Test

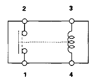
Normally-open type A:







1. Turn the battery module switch OFF, and measure the voltage.
2. Check for continuity between the terminals.
- There should be continuity between the No. 1 and No. 2 terminals when power and ground are connected to the No. 3 and No. 4 terminals.
- There should be no continuity between the No. 1 and No. 2 terminals when power is disconnected.
- A/C compressor clutch relay
- Air fuel ratio sensor relay
- Condenser fan relay
- Daytime running lights relay (Canada)
- Headlight relay 1
- Headlight relay 2
- High speed battery module fan control relay
- High speed motor power inverter module fan control relay
- High voltage conductor control relay
- Horn relay
- Ignition hold relay
- Low speed battery module fan control relay
- Low speed motor power inverter module fan control relay
- Power window relay
- Radiator fan relay
- Rear window defogger relay
- Reverse relay
- Starter cut relay
- Taillight relay