LEMON Manuals: Even more car manuals for everyone: 1960-2025
Home >> Honda >> 2004 >> Pilot EX >> Repair and Diagnosis >> Steering >> Steering Column >> Power Steering >> Pump Overhaul >> Exploded View >> Disassembly
April 5, 2026: LEMON Manuals is launched! Read the announcement.

Exploded View: Disassembly

NOTE: Refer to the Exploded View as needed during the following procedure.
  1. Remove the power steering pump (see PUMP REPLACEMENT  ).
  2. Drain the fluid from the pump (see step 1 on FLUID REPLACEMENT  ).
  3. Hold the power steering pump (A) in a vise with soft jaws, hold the pulley (B) with the special tool, and remove the pulley nut (C) and pulley. Be careful not to damage the pump housing with the jaws of the vise.
    Fig 1: Removing The Pulley Nut & Pulley
    G01463038Courtesy of AMERICAN HONDA MOTOR CO., INC.
  4. Loosen the flow control valve cap with a hex wrench, and remove it and the O-ring, flow control valve and spring.
  5. Remove the pump cover and pump cover seal.
  6. Remove the outer side plate, pump cam ring, pump rotor, pump vanes, side plate and O-rings.
  7. Remove the internal snap ring, then remove the pump drive shaft by tapping on the shaft end with the plastic hammer.
  8. Remove the pump seal spacer and pump seal.

    Inspection: 

  9. Check the flow control valve for wear, burrs, and other damage to the edges of the grooves in the valve.
    Fig 2: Checking The Flow Control Valve
    G01463039Courtesy of AMERICAN HONDA MOTOR CO., INC.
  10. Inspect the bore of the flow control valve on the pump housing for scratches and wear.
  11. Slip the flow control valve into the pump housing, and check that it moves in and out smoothly. If OK, go to step 12; if not, replace the pump as an assembly. The flow control valve (A) is not available separately.
    Fig 3: Checking That Flow Control Valve Moves In & Out Smoothly
    G01463040Courtesy of AMERICAN HONDA MOTOR CO., INC.
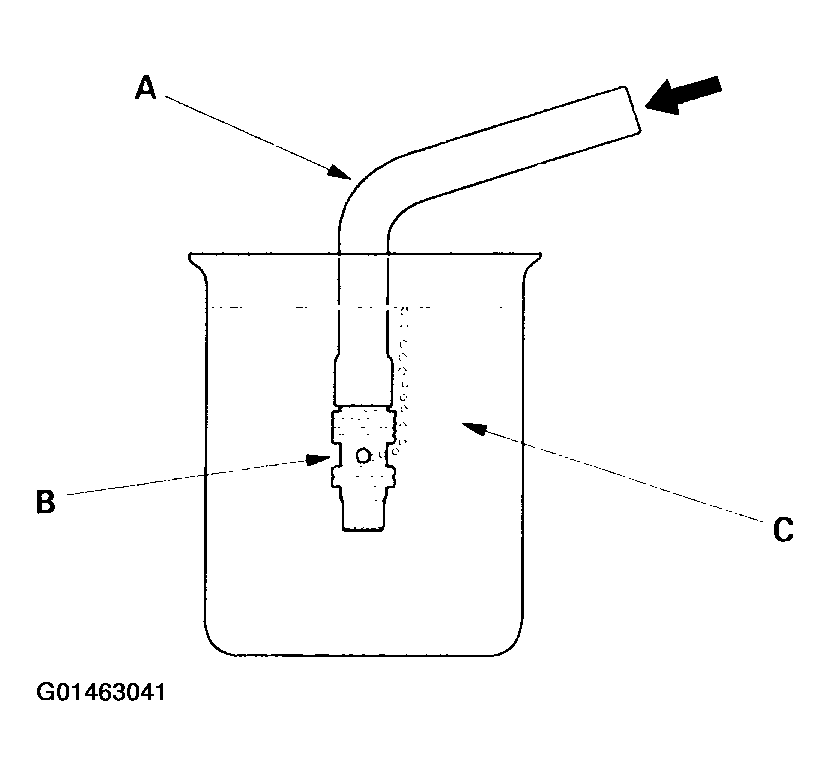
  12. Attach a hose (A) to the end of the flow control valve (B) as shown. Then submerge the flow control valve in a container of power steering fluid or solvent (C), and blow in the hose.
    • If air bubbles leak through the valve at less than 98 kPa (1.0 kgf/cm2 , 14.2 psi), replace the pump as an assembly. The flow control valve is not available separately.
    • If the flow control valve tests OK, set it aside for reassembly later.
    Fig 4: Testing The Flow Control Valve
    G01463041Courtesy of AMERICAN HONDA MOTOR CO., INC.
  13. Inspect the ball bearing by rotating the outer race slowly. If you feel any play (axial or radial) or roughness, remove the faulty ball bearing (A), and install a new one (B).
    Fig 5: Inspecting The Ball Bearing
    G01463042Courtesy of AMERICAN HONDA MOTOR CO., INC.
  14. Inspect each part shown with an asterisk in the Exploded View; if any of them are worn or damaged, replace the pump as an assembly.

    Reassembly

  15. Clean the disassembled parts with solvent, and dry them with compressed air. Do not dip rubber parts in solvent.
  16. Install the new pump seal (A) (with its grooved side facing in) into the pump housing by hand first.
    Fig 6: Installing The Pump Seal
    G01463043Courtesy of AMERICAN HONDA MOTOR CO., INC.
  17. Position the pump drive shaft (B) in the pump housing (C), then drive it in using an appropriately sized socket wrench (D) (ball bearing O.D. 40 mm).
  18. Install the 40 mm internal snap ring (E) with its radius side facing out.
  19. Coat the new pump cover seal (A) with power steering fluid, and install it into the groove in the pump cover (B).
    Fig 7: Installing The Pump Cover Seal
    G01463044Courtesy of AMERICAN HONDA MOTOR CO., INC.
  20. Install the outer side plate (C) over the two roll pins (D).
  21. Set the pump cam ring (A) over the two roll pins with its dot mark (B) facing down.
    Fig 8: Setting The Pump Cam Ring Over The Roll Pins
    G01463045Courtesy of AMERICAN HONDA MOTOR CO., INC.
  22. Assemble pump rotor (A) to the pump cover (B).
    Fig 9: Assembling The Pump Rotor To The Pump Cover
    G01463046Courtesy of AMERICAN HONDA MOTOR CO., INC.
  23. Set the 10 vanes (C) in the grooves in the rotor. Make sure that the round ends (D) of the vanes are in contact with the sliding surface of the cam ring.
  24. Coat the new 15.2 mm O-ring (A) with power steering fluid, and install it into the groove in the side plate (B).
    Fig 10: Installing O-Ring Into The Groove In The Side Plate
    G01463047Courtesy of AMERICAN HONDA MOTOR CO., INC.
  25. Install the side plate on the cam ring (C) by aligning the roll pins set holes (D) in the side plate with the roll pins (E).
  26. Coat the new 51 mm O-ring (A) with power steering fluid, and position it in the bottom of the pump housing (B).
    Fig 11: Positioning O-Ring In The Bottom Of The Pump Housing
    G01463048Courtesy of AMERICAN HONDA MOTOR CO., INC.
  27. Install the pump cover assembly (C) in the pump housing. Tighten the bolts to the specified torque.
  28. Coat the flow control valve (A) with power steering fluid, then install it and the spring (B) in the pump housing.
    Fig 12: Installing The Flow Control Valve & The Spring In The Pump Housing
    G01463049Courtesy of AMERICAN HONDA MOTOR CO., INC.
  29. Coat the new 16.7 mm O-ring (C) with power steering fluid, and install it on the flow control valve cap (D), then install the cap on the pump housing, and tighten it.
  30. Coat the new 13 mm O-ring (A) with power steering fluid, and install it on the inlet joint (B). Install the inlet joint on the pump housing, and tighten the flange bolt.
    Fig 13: Installing The Inlet Joint On The Pump Housing
    G01463050Courtesy of AMERICAN HONDA MOTOR CO., INC.
  31. Install the pulley (A), then loosely install the pulley nut (B). Hold the steering pump in a vise with soft jaws. Be careful not to damage the pump housing with the jaws of the vise.
    Fig 14: Installing The Pulley
    G01463051Courtesy of AMERICAN HONDA MOTOR CO., INC.
  32. Hold the pulley with the special tool, and tighten the pulley nut.
  33. Check that the pump turns smoothly by turning the pulley by hand. If it turns hard, loosen the four flange bolts on the cover, then retighten them in same manner as in step  27 . Turn the pump again by hand.