LEMON Manuals: Even more car manuals for everyone: 1960-2025
Home >> Honda >> 2005 >> Accord L4-2.4L >> Repair and Diagnosis >> Accessories and Optional Equipment >> Navigation System >> Navigation Module >> Service and Repair >> Audio-HVAC Display Panel Disassembly/Reassembly
April 5, 2026: LEMON Manuals is launched! Read the announcement.

Audio-HVAC Display Panel Disassembly/Reassembly

Audio-HVAC Display Panel Disassembly/Reassembly

1. Remove the audio-HVAC display panel.







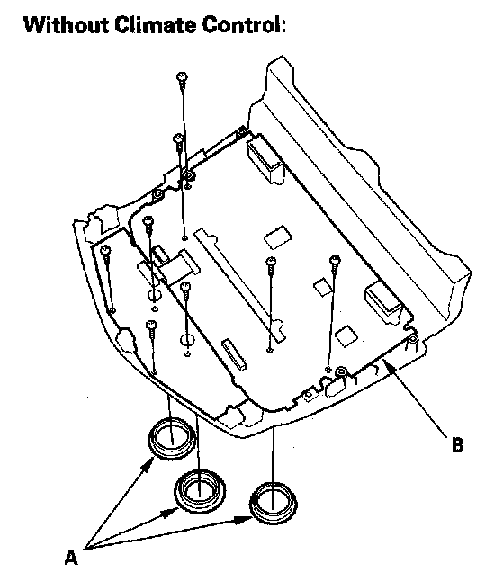
2. Remove the mounting screws and the covers (A), then disconnect the connectors (B) (Navigation system) from the printed circuit board (C).




3. With navigation system: Remove the mounting screws and display unit (A) from the printed circuit board (B).










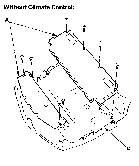
4. Remove the mounting screws and control knobs (A), then remove the printed circuit board (B).
5. Install the audio unit and printed circuit board in the reverse order of removal.