LEMON Manuals: Even more car manuals for everyone: 1960-2025
Home >> Honda >> 2007 >> Element SC, Automatic >> Repair and Diagnosis >> Transmission >> Automatic Trans >> Automatic Transmission >> Pressure Test >> Notes
April 5, 2026: LEMON Manuals is launched! Read the announcement.

Pressure Test: Notes

Special Tools Required 

NOTE:
  • Disable the VSA by pressing the VSA OFF switch.
  • VSA DTC(s) may come on during the test-drive. If the VSA DTC(s) come on, clear the DTC(s) with the HDS.
  1. Make sure the transmission fluid is filled to the proper level (see ATF LEVEL CHECK ).
  2. 4WD: Raise the vehicle on a lift, make sure it is securely supported, and allow all four wheels to rotate freely.

    2WD: Raise the vehicle on a lift, or apply the parking brake, block the rear wheels, and raise the front of the vehicle. Make sure it is securely supported.

  3. Allow the front wheels to rotate freely.
  4. Remove the splash shield.
  5. Connect the HDS to the DLC (A) located under the driver's side of the dashboard.
    Fig 1: Identifying HDS To DLC Driver's Side Of Dashboard
    G06266874Courtesy of AMERICAN HONDA MOTOR CO., INC.
  6. Turn the ignition switch to ON (II), and go to the A/T Data List. Make sure the HDS communicates with the PCM. If it does not, go to the DLC circuit troubleshooting (see DLC CIRCUIT TROUBLESHOOTING ).
  7. Connect the A/T oil pressure gauge to the line pressure inspection port (A). Do not allow dust or other foreign particles to enter the port while connecting the A/T oil pressure gauge.
    Fig 2: Identifying Line Pressure Inspection Port
    G06266875Courtesy of AMERICAN HONDA MOTOR CO., INC.
  8. Start the engine, and warm it up to normal operating temperature (the radiator fan comes on).
  9. Measure the line pressure at the line pressure inspection port (A) while holding the engine speed at 2,000 rpm with the shift lever in P or N.
    NOTE: Higher pressures may be noticed if measurements are made taken with the shift lever in any position other than P or N.
    FLUID PRESSURE REFERENCE

    Pressure Fluid Pressure
    Standard Service Limit
    Line (A) 927-986 kPa (9.45-10.05 kgf/cm2 , 134-143 psi) 878 kPa (8.95 kgf/cm2 , 127 psi)
  10. Turn the ignition switch to LOCK (0), then disconnect the A/T oil pressure gauge from the line pressure inspection port.
  11. Install the sealing bolt in the line pressure inspection port with a new sealing washer, and tighten the sealing bolt to 18 N.m (1.8 kgf-m, 13 lbf.ft). Do not reuse the old sealing washer.
  12. Connect the A/Toil pressure gauge to the 1st clutch pressure inspection port (B).
    Fig 3: Identifying 1st Clutch Pressure Inspection Port
    G06266876Courtesy of AMERICAN HONDA MOTOR CO., INC.
  13. Remove the intake air duct and air cleaner assembly (see AIR CLEANER REMOVAL/INSTALLATION ), and connect the A/T oil pressure gauge to the 2nd clutch pressure inspection port (C). Then temporarily install the air cleaner assembly and intake air duct.
    Fig 4: Identifying 2nd Clutch Pressure Inspection Port
    G06266877Courtesy of AMERICAN HONDA MOTOR CO., INC.
  14. Start the engine, and shift into D.
  15. Shift to 1st gear, and measure the 1st clutch pressure at the 1st clutch pressure inspection port (B) while holding engine speed at 2,000 rpm.
  16. Shift up to 2nd gear, and measure the 2nd clutch pressure at the 2nd clutch pressure inspection port (C) while holding engine speed at 2,000 rpm.
    FLUID PRESSURE REFERENCE

    Pressure Fluid Pressure
    Standard Service Limit
    1st clutch (B) 2nd clutch (C) 917-995 kPa (9.35-10.15 kgf/cm2 , 133-144 psi) 868 kPa (8.85 kgf/cm2 , 126 psi)
  17. Turn the ignition switch to LOCK (0), then disconnect the A/T oil pressure gauges from the 1st and 2nd clutch pressure inspection ports.
  18. Install the sealing bolts in the 1st and 2nd clutch pressure inspection ports with new sealing washers, and tighten the sealing bolts to 18 N.m (1.8 kgf.m, 13 lbf.ft). Do not reuse the old sealing washers.
  19. Connect the A/T oil pressure gauge to the 3rd clutch pressure inspection port (D) and the 5th clutch pressure inspection port (F).
    Fig 5: Identifying 3rd Clutch Pressure Inspection Port And 5th Clutch Pressure Inspection Port
    G06266878Courtesy of AMERICAN HONDA MOTOR CO., INC.
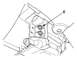
  20. Connect the A/T oil pressure gauge to the 4th clutch pressure inspection port (E).
    Fig 6: Connecting A/T Oil Pressure Gauge To 4th Clutch Pressure Inspection Port
    G06266879Courtesy of AMERICAN HONDA MOTOR CO., INC.
  21. Start the engine.
  22. Shift to D and select D3 driving mode by pressing the D3 switch, and measure the 3rd clutch pressure (D) while holding the engine at 2,000 RPM.
  23. Disable the D3 driving mode by pressing the D3 button.
  24. Shift to 4th gear in D, and measure the 4th clutch pressure (E) while holding the engine speed at 2,000 rpm.
  25. Shift to 5th gear in D, and measure the 5th clutch pressure (F) while holding the engine speed at 2,000 rpm.
    FLUID PRESSURE REFERENCE

    Pressure Fluid Pressure
    Standard Service Limit
    3rd clutch (D) 4th clutch (E) 5th clutch (F) 917-995 kPa 868 kPa (9.35-10.15 kgf/cm2 (8.85 kgf/cm2 , 133-144 psi) 126 psi)
  26. Bring the engine back to an idle, then apply the brake pedal to stop the wheels from rotating.
  27. Shift to R, then release the brake pedal. Raise the engine speed to 2,000 rpm, and measure the 4th clutch pressure at the 4th clutch pressure inspection port (E).
    FLUID PRESSURE REFERENCE

    Pressure Fluid Pressure
    Standard Service Limit
    4th clutch (E) in R 917-995 kPa (9.35-10.15 kgf/cm2 , 133-144 psi) 868 kPa (8.85 kgf/cm2 , 126 psi)
  28. Turn the ignition switch to LOCK (0), then disconnect the A/T oil pressure gauges from the 3rd, 4th, and 5th clutch pressure inspection ports.
  29. Install the sealing bolts in the 3rd, 4th, and 5th clutch pressure inspection ports with new sealing washers, and tighten the sealing bolts to 18 N.m (1.8 kgf.m, 13 lbf.ft). Do not reuse the old sealing washers.
  30. If the pressures are out of the service limit, the problems and probable causes are listed in the table.
    PROBABLE CAUSES CHART

    Problem Probable causes
    No or low line pressure
    • Torque converter
    • ATF pump
    • Regulator valve
    • Torque converter check valve
    • Clogged ATF strainer
    No or low 1st clutch pressure
    • 1st clutch
    • O-rings
    No or low 2nd clutch pressure
    • 2nd clutch
    • O-rings
    No or low 3rd clutch pressure
    • 3rd clutch
    • O-rings
    No or low 4th clutch pressure
    • 4th clutch
    • O-rings
    No or low 5th clutch pressure
    • 5th clutch
    • O-rings
    No or low 4th clutch pressure in R
    • Servo valve
    • 4th clutch
    • O-rings
  31. Install the air cleaner assembly (see AIR CLEANER REMOVAL/INSTALLATION ) and intake air duct.
  32. Install the splash shield.
  33. Check the ATF level (see ATF LEVEL CHECK ).