LEMON Manuals: Even more car manuals for everyone: 1960-2025
Home >> Honda >> 2007 >> Element SC, Automatic >> Repair and Diagnosis >> Transmission >> Automatic Trans >> Automatic Transmission >> Reassembly
April 5, 2026: LEMON Manuals is launched! Read the announcement.

Automatic Transmission: Reassembly

Special Tools Required 

NOTE:
  • While reassembling the transfer assembly:
    • Check and adjust the transfer gear tooth contact.
    • Measure and adjust the transfer gear backlash.
    • Check and adjust the tapered roller bearing starting torque.
  • Coat all parts with ATF during reassembly.
  • Replace the tapered roller bearing and the bearing outer race as a set if either part is replaced.
  • Replace the transfer drive gear and the transfer output shaft as a set if either part is replaced.
  1. Select the 35 mm thrust shim if the transfer output shaft is replaced. Calculate the thickness of the 35 mm thrust shim using the formula, and select the shim from the table.
    NOTE: The number on the transfer output shaft is shown in 1/100 mm.

    FORMULA: X = A/100 - B/100 + c 

    A: Number on the existing transfer output shaft 

    B: Number on the replacement transfer output shaft 

    C: Thickness of the existing 35 mm thrust shim 

    X: Thickness needed for the replacement 35 mm thrust shim 

    Example 

    Fig 1: Identifying Thrust Shim Thickness
    G06267307Courtesy of AMERICAN HONDA MOTOR CO., INC.

    Select No. M 35 mm thrust shim of 1.08 mm in this example.

    THRUST SHIM, 35 mm 

    THICKNESS CHART

    Shim No. Part Number Thickness
    A 41361-PS3-000 0.72 mm (0.028 in.)
    B 41362-PS3-000 0.75 mm (0.030 in.)
    C 41363-PS3-000 0.78 mm (0.031 in.)
    D 41364-PS3-000 0.81 mm (0.032 in.)
    E 41365-PS3-000 0.84 mm (0.033 in.)
    F 41366-PS3-000 0.87 mm (0.034 in.)
    G 41367-PS3-000 0.90 mm (0.035 in.)
    H 41368-PS3-000 0.93 mm (0.037 in.)
    I 41369-PS3-000 0.96 mm (0.038 in.)
    J 41370-PS3-000 0.99 mm (0.039 in.)
    K 41371-PS3-000 1.02 mm (0.040 in.)
    L 41372-PS3-000 1.05 mm (0.041 in.)
    M 41373-PS3-000 1.08 mm (0.043 in.)
    N 41374-PS3-000 1.11 mm (0.044 in.)
  2. Select the 35 mm thrust shim if the tapered roller bearing on the transfer output shaft is replaced. Measure the thickness of the replacement bearing and the existing bearing, and calculate the difference of the bearing thickness. Adjust the thickness of the existing 35 mm thrust shim by the amount of the difference in bearing thickness, and select the replacement 35 mm thrust shim from the table.
  3. Install the 35 mm thrust shim (A) on the transfer output shaft (B), then install the tapered roller bearing (C) using the 40 mm I.D. driver handle, the 35 mm I.D. attachment, and a press.
    Fig 2: Installing Thrust Shim On Transfer Output Shaft
    G06267308Courtesy of AMERICAN HONDA MOTOR CO., INC.
  4. Place the tapered roller bearing (A) on the bearing outer race of the companion flange side of the transfer housing.
    Fig 3: Placing Tapered Roller Bearing On Bearing Outer Race
    G06267309Courtesy of AMERICAN HONDA MOTOR CO., INC.
  5. Install the new oil seal (B) on the transfer housing using the driver handle and the oil seal driver attachment.
  6. Install the transfer output shaft (A) in the transfer housing (B). Do not install the transfer spacer on the transfer output shaft.
    Fig 4: Identifying Oil Seal On Transfer Housing
    G06267310Courtesy of AMERICAN HONDA MOTOR CO., INC.
  7. Install the companion flange (A), the conical spring washer (B), and the locknut (C) on the transfer output shaft (D). Do not install the O-ring and backup ring.
    Fig 5: Identifying Companion Flange, Conical Spring Washer, Locknut And Transfer Output Shaft
    G06267311Courtesy of AMERICAN HONDA MOTOR CO., INC.
  8. Secure the transfer housing (A) in a bench vise (B) with soft jaws. To prevent damaging the transfer housing, always use soft jaws or equivalent materials between the transfer housing and the vise.
    Fig 6: Securing Transfer Housing
    G06267312Courtesy of AMERICAN HONDA MOTOR CO., INC.
  9. Install the companion flange holder and the holder handle on the companion flange.
  10. Tighten the locknut while measuring the starting torque so the starting torque is within 0.98-1.39 N.m (10.0-14.2 kgf.cm, 8.7-12.3 lbf.in.). Do not stake the locknut in this step. Remove the companion flange holder and the holder handle.
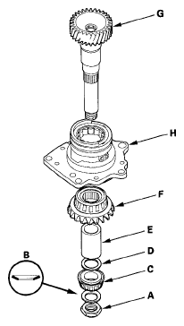
  11. Install the transfer shaft (A) in the transfer holder (B), and install the transfer drive gear (C), the transfer collar (D), the 25 mm thrust shim (E), the tapered roller bearing (F), the conical spring washer (G), and the locknut (H).
    Fig 7: Identifying Transfer Shaft, Transfer Holder And Transfer Drive Gear, Tapered Roller Bearing And Conical Spring Washer
    G06267313Courtesy of AMERICAN HONDA MOTOR CO., INC.
  12. Put a 14 mm hex wrench (A) in the transfer shaft (B), then secure the hex wrench in a bench vise.
    Fig 8: Identifying Transfer Shaft
    G06267314Courtesy of AMERICAN HONDA MOTOR CO., INC.
  13. Tighten the locknut 118 N.m (12.0 kgf.m, 86.8 lbf.ft). Do not stake the locknut in this step.
  14. Apply Prussian Blue to both sides of the transfer drive gear teeth lightly and evenly.
  15. Temporarily install the transfer holder (A) and the dowel pin (B) without the O-ring, and tighten the bolts.
    Fig 9: Transfer Holder, Dowel Pin, O-ring And Bolts With Torque Specifications
    G06267315Courtesy of AMERICAN HONDA MOTOR CO., INC.
  16. Rotate the companion flange in both directions until the transfer gears rotate one full turn in both directions.
  17. Set a dial indicator (A) on the companion flange (B).
    Fig 10: Setting Dial Indicator On Companion Flange
    G06267316Courtesy of AMERICAN HONDA MOTOR CO., INC.
  18. Measure the transfer gear backlash.

    Standard: 0.06-0.16 mm (0.002-0.006 in.) 

  19. Remove the transfer holder, and check the transfer drive gear tooth contact pattern.
    Fig 11: Measuring Transfer Gear Backlash
    G06267317Courtesy of AMERICAN HONDA MOTOR CO., INC.
  20. If the backlash measurement is out of the standard, adjust the backlash with the 35 mm thrust shim and recheck. Do not use more than two 35 mm thrust shims to adjust the backlash.
  21. If the transfer gear tooth contact is incorrect, adjust the tooth contact with the 25 mm or 35 mm thrust shim. Do not use more than two of each thrust shim to adjust the tooth contact.
    • Toe Contact

      Use a thinner 35 mm thrust shim to move the transfer output shaft away from the transfer drive gear. Because this movement causes the transfer gear backlash to change, move the transfer drive gear toward the transfer output shaft to adjust the transfer gear backlash as follows:

      • Reduce the thickness of the 25 mm thrust shim.
      • Increase the thickness of the 75 mm thrust shim by the amount you reduced the thickness of the 25 mm thrust shim.
    • Heel Contact

      Use a thicker 35 mm thrust shim to move the transfer output shaft toward the transfer drive gear. Because this movement causes the transfer gear backlash to change, move the transfer drive gear away from the transfer output shaft to adjust the transfer gear backlash as follows:

      • Increase the thickness of the 25 mm thrust shim.
      • Reduce the thickness of the 75 mm thrust shim by the amount you increased the 25 mm thrust shim.
    • Flank Contact

      Use a thicker 25 mm thrust shim to move the transfer drive gear away from the transfer output shaft. Face contact must be adjusted within the limits of the transfer gear backlash. If the backlash exceeds the limits, adjust as described under Toe Contact.

    • Face Contact

    Use a thinner 25 mm thrust shim to move the transfer drive gear toward the transfer output shaft. Flank contact must be adjusted within the limits of the transfer gear backlash. If the backlash exceeds the limits, adjust as described under Heel Contact.

    THRUST SHIM, 25 mm 

    THICKNESS CHART

    Shim No. Part Number Thickness
    1.70 29411-P1C-000 1.70 mm (0.067 in.)
    1.73 29412-P1C-000 1.73 mm (0.068 in.)
    1.76 29413-P1C-000 1.76 mm (0.069 in.)
    1.79 29414-P1C-000 1.79 mm (0.070 in.)
    1.82 29415-P1C-000 1.82 mm (0.072 in.)
    1.85 29416-P1C-000 1.85 mm (0.073 in.)
    1.88 29417-P1C-000 1.88 mm (0.074 in.)
    1.91 29418-P1C-000 1.91 mm (0.075 in.)
    1.94 29419-P1C-000 1.94 mm (0.076 in.)
    1.97 29420-P1C-000 1.97 mm (0.078 in.)
    2.00 29421-P1C-000 2.00 mm (0.079 in.)
    2.03 29422-P1C-000 2.03 mm (0.080 in.)
    2.06 29423-P1C-000 2.06 mm (0.081 in.)
    2.09 29424-P1C-000 2.09 mm (0.082 in.)
    2.12 29425-P1C-000 2.12 mm (0.083 in.)
    2.15 29426-P1C-000 2.15 mm (0.085 in.)
    2.18 29427-P1C-000 2.18 mm (0.086 in.)
    2.21 29428-P1C-000 2.21 mm (0.087 in.)
    2.24 29429-P1C-000 2.24 mm (0.088 in.)
  22. Remove the transfer holder (A) from the transfer housing (B) after adjusting the transfer gear backlash or the transfer gear tooth contact.
    Fig 12: Identifying Transfer Holder And Transfer Housing
    G06267318Courtesy of AMERICAN HONDA MOTOR CO., INC.
  23. Secure the transfer housing (A) in a bench vise (B) with soft jaws. To prevent damaging the transfer housing, always use soft jaws or equivalent materials between the transfer housing and the vise.
    Fig 13: Tightening Transfer Housing In Bench Vise
    G06267319Courtesy of AMERICAN HONDA MOTOR CO., INC.
  24. Install the companion flange holder and the holder handle on the companion flange, then loosen the locknut. Remove the companion flange holder and the holder handle.
  25. Remove the locknut (A), the conical spring washer (B), and the companion flange (C) from the transfer output shaft (D).
    Fig 14: Identifying Locknut, Conical Spring Washer, Companion Flange And Transfer Output Shaft
    G06267320Courtesy of AMERICAN HONDA MOTOR CO., INC.
  26. Remove the transfer output shaft (A) from the transfer housing (B).
    Fig 15: Identifying Transfer Output Shaft And Transfer Housing
    G06267321Courtesy of AMERICAN HONDA MOTOR CO., INC.
  27. Install the new transfer spacer (C) on the transfer output shaft in the direction shown, and install them in the transfer housing.
  28. Coat the threads of the locknut and transfer output shaft with ATF.
  29. Install the companion flange (A), the new O-ring (B), the back-up ring (C), the new conical spring washer (D), and the new locknut (E) on the transfer output shaft (F). Install the conical spring washer in the direction shown.
    Fig 16: Identifying Companion Flange, O-Ring, Back-Up Ring And Conical Spring Washer
    G06267322Courtesy of AMERICAN HONDA MOTOR CO., INC.
  30. Secure the transfer housing (A) in a bench vise (B) with soft jaws. To prevent damaging the transfer housing, always use soft jaws or equivalent materials between the transfer housing and the vise.
    Fig 17: Tightening Transfer Housing
    G06267323Courtesy of AMERICAN HONDA MOTOR CO., INC.
  31. Install the companion flange holder and the holder handle on the companion flange.
  32. Tighten the locknut while measuring the starting torque of the transfer output shaft.

    Starting Torque: 

    0.98-1.39 N.m (10.0-14.2 kgf.cm, 8.7-12.3 lbf.in.) 

    Tightening Torque: 

    132-260 N.m (13.5-26.5 kgf.m, 97.6-192 lbf.ft) 

    NOTE:
    • Rotate the companion flange several turns to seat the tapered roller bearings, then measure the starting torque.
    • If the starting torque exceeds 1.39 N.m (14.2 kgf.cm, 12.3 lbf.in.), replace the transfer spacer and reassemble the parts. Do not adjust the starting torque with the locknut loose.
    • If the tightening torque exceeds 260 N.m (26.5 kgf.m, 192 lbf.ft), replace the transfer spacer and reassemble the parts.
  33. Remove the companion flange holder and the holder handle.
  34. Stake the locknut into the transfer output shaft in depth (A) of 0.7-1.2 mm (0.03-0.05 in.) using a 3.5 mm punch (B).
    Fig 18: Staking Locknut Into Transfer Output Shaft
    G06267324Courtesy of AMERICAN HONDA MOTOR CO., INC.
  35. Temporarily install the transfer holder (A) and the dowel pin (B) without the O-ring, and tighten the bolts.
    Fig 19: Transfer Holder, Dowel Pin And Bolts With Torque Specifications
    G06267325Courtesy of AMERICAN HONDA MOTOR CO., INC.
  36. Secure the transfer housing (A) in a bench vise (B) with soft jaws. To prevent damaging the transfer housing, always use soft jaws or equivalent materials between the transfer housing and the vise.
    Fig 20: Tightening Transfer Housing In Bench Vise
    G06267326Courtesy of AMERICAN HONDA MOTOR CO., INC.
  37. Rotate the companion flange several times to seat the tapered roller bearings.
  38. Measure the starting torque at the companion flange (C) using a torque wrench (D).

    Standard: 2.75-4.22 N.m (28.1-43.1 kgf.cm, 24.4-37.4 lbf.in.) 

  39. Remove the transfer holder from the transfer housing.
  40. If the measurement is within the standard, go to step  53.
  41. If the measurement is out of standard, put a 14 mm hex wrench (A) in the transfer shaft (B), then secure the hex wrench in a bench vise.
    Fig 21: Rotating Companion Flange
    G06267327Courtesy of AMERICAN HONDA MOTOR CO., INC.
  42. Loosen the locknut.
  43. Remove the locknut (A) and the conical spring washer (B).
    Fig 22: Identifying Locknut And Conical Spring Washer
    G06267328Courtesy of AMERICAN HONDA MOTOR CO., INC.
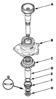
  44. Remove the tapered roller bearing (C), the 25 mm thrust shim (D), the transfer collar (E), the transfer drive gear (F), and the transfer shaft (G) from the transfer holder (H).
  45. Remove the tapered roller bearing outer race (A) and the 75 mm thrust shim (B) from the transfer holder (C).
    Fig 23: Removing Tapered Roller Bearing, Thrust Shim, Transfer Collar And Transfer Drive Gear
    G06267329Courtesy of AMERICAN HONDA MOTOR CO., INC.
  46. Measure the thickness of the 75 mm thrust shim, and select the new 75 mm thrust shim.

    THRUST SHIM, 75 mm 

    THICKNESS CHART

    Shim No. Part Number Thickness
    AA 41401-PGV-000 1.52 mm (0.060 in.)
    AB 41402-PGV-000 1.55 mm (0.061 in.)
    AC 41403-PGV-000 1.58 mm (0.062 in.)
    AD 41404-PGV-000 1.61 mm (0.063 in.)
    AE 41405-PGV-000 1.64 mm (0.065 in.)
    B 41402-PW8-010 1.67 mm (0.066 in.)
    C 41403-PW8-010 1.70 mm (0.067 in.)
    D 41404-PW8-010 1.73 mm (0.068 in.)
    E 41405-PW8-010 1.76 mm (0.069 in.)
    F 41406-PW8-010 1.79 mm (0.070 in.)
    G 41407-PW8-010 1.82 mm (0.072 in.)
    H 41408-PW8-010 1.85 mm (0.073 in.)
    I 41409-PW8-010 1.88 mm (0.074 in.)
    J 41410-PW8-010 1.91 mm (0.075 in.)
    K 41411-PW8-010 1.94 mm (0.076 in.)
    L 41412-PW8-010 1.97 mm (0.078 in.)
    M 41413-PW8-010 2.00 mm (0.079 in.)
    N 41414-PW8-010 2.03 mm (0.080 in.)
    O 41415-PW8-010 2.06 mm (0.081 in.)
    P 41416-PW8-010 2.09 mm (0.082 in.)
    Q 41417-PW8-010 2.12 mm (0.083 in.)
    R 41418-PW8-010 2.15 mm (0.085 in.)
    S 41419-PW8-010 2.18 mm (0.086 in.)
    T 41420-PW8-010 2.21 mm (0.087 in.)
    U 41421-PW8-010 2.24 mm (0.088 in.)
    V 41422-PW8-010 2.27 mm (0.089 in.)
    W 41423-PW8-010 2.30 mm (0.091 in.)
    X 41424-PW8-010 2.33 mm (0.092 in.)
    Y 41425-PW8-010 2.36 mm (0.093 in.)
    Z 41426-PW8-010 2.39 mm (0.094 in.)
    ZA 41406-PGV-000 2.42 mm (0.095 in.)
    ZB 41407-PGV-000 2.45 mm (0.096 in.)
    ZC 41408-PGV-000 2.48 mm (0.098 in.)
    ZD 41409-PGV-000 2.51 mm (0.099 in.)
    ZE 41410-PGV-000 2.54 mm (0.100 in.)
    ZF 41411-PGV-000 2.57 mm (0.101 in.)
    ZG 41412-PGV-000 2.60 mm (0.102 in.)
    ZH 41413-PGV-000 2.63 mm (0.104 in.)
    ZI 41414-PGV-000 2.66 mm (0.105 in.)
  47. Install the new 75 mm thrust shim (A) in the transfer holder, then install the tapered roller bearing outer race (B) using the driver handle and the 72 x 75 mm attachment.
    Fig 24: Installing Tapered Roller Bearing Outer Race
    G06267330Courtesy of AMERICAN HONDA MOTOR CO., INC.
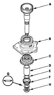
  48. Install the transfer shaft (A) in the transfer holder (B), and install the transfer drive gear (C), the transfer collar (D), the 25 mm thrust shim (E), the tapered roller bearing (F), the conical spring washer (G), and the locknut (H). Install the conical spring washer in the direction shown.
    Fig 25: Identifying Transfer Shaft, Transfer Holder, Transfer Drive Gear And Transfer Collar
    G06267331Courtesy of AMERICAN HONDA MOTOR CO., INC.
  49. Put a 14 mm hex wrench (A) in the transfer shaft (B), then secure the hex wrench in a bench vise.
    Fig 26: Tightening Transfer Shaft
    G06267332Courtesy of AMERICAN HONDA MOTOR CO., INC.
  50. Tighten the locknut 118 N.m (12.0 kgf.m, 86.8 lbf.ft). Do not stake the locknut in this step.
  51. Temporarily install the transfer holder (A) and the dowel pin (B) without the O-ring, and tighten the bolts.
    Fig 27: Transfer Holder, Dowel Pin And O-Ring With Torque Specifications
    G06267333Courtesy of AMERICAN HONDA MOTOR CO., INC.
  52. Rotate the companion flange several turns to seat the tapered roller bearings, and recheck the starting torque. Remove the transfer holder after adjusting the starting torque.
  53. Stake the locknut into the transfer shaft in depth (A) of 0.7-1.2 mm (0.03-0.05 in.) using a 3.5 mm punch (B).
    Fig 28: Staking Locknut Into Transfer Shaft
    G06267334Courtesy of AMERICAN HONDA MOTOR CO., INC.
  54. Install a new O-ring (A) on the transfer holder (B), then install the transfer holder with the dowel pin (C) on the transfer housing (D).
    Fig 29: O-Ring, Transfer Holder, Transfer Holder And Dowel Pin With Torque Specifications
    G06267335Courtesy of AMERICAN HONDA MOTOR CO., INC.