LEMON Manuals: Even more car manuals for everyone: 1960-2025
Home >> Honda >> 2007 >> Fit Base, Automatic >> Repair and Diagnosis >> Body & Frame >> Frames, Subframes & Crossmembers >> Frame Repair Chart >> Side View
April 5, 2026: LEMON Manuals is launched! Read the announcement.

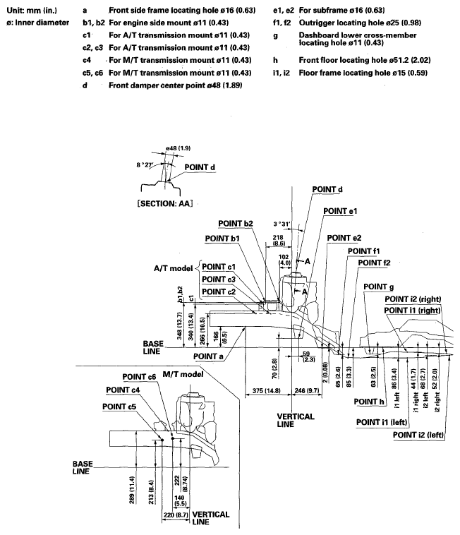
Side View

Fig 1: Frame Repair Chart - Side View (1 Of 2)
G05456427
Fig 2: Frame Repair Chart - Side View (2 Of 2)
G05456428