LEMON Manuals: Even more car manuals for everyone: 1960-2025
Home >> Honda >> 2007 >> Odyssey EX >> Repair and Diagnosis >> Body & Frame >> Seats >> Driver Position Memory System (DPMS) >> Driving Position Memory Switch Test/Replacement
April 5, 2026: LEMON Manuals is launched! Read the announcement.

Driving Position Memory Switch Test/Replacement

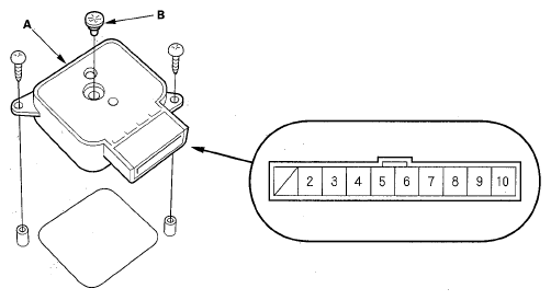
  1. Remove the driver's door panel (see FRONT DOOR PANEL REMOVAL/INSTALLATION ).
  2. Disconnect the 10P connector from the memory switch (A).
    Fig 1: Identifying Memory Switch
    G05526947Courtesy of AMERICAN HONDA MOTOR CO., INC.
  3. Remove the two screws, then remove the switch from the door panel.
  4. Check for continuity between the terminals in each switch position according to Fig 2.
    Fig 2: Checking For Continuity Between Terminals In Each Switch Position
    G05526948Courtesy of AMERICAN HONDA MOTOR CO., INC.
  5. If the continuity is not as specified, replace the illumination bulb (B) or the switch.