LEMON Manuals: Even more car manuals for everyone: 1960-2025
Home >> Honda >> 2007 >> Pilot EX, 3.5 YF2 >> Repair and Diagnosis >> Engine Performance >> System >> Intake Air System >> Throttle Body Cleaning
April 5, 2026: LEMON Manuals is launched! Read the announcement.

Throttle Body Cleaning

CAUTION: Do not insert your fingers into the installed throttle body when you turn the ignition switch ON (II) or while the ignition switch is ON (II). If you do, you will seriously injure your fingers if the throttle valve is activated.
  1. Check for damage to the air cleaner. If the air cleaner is damaged, replace it (see Air CLEANER ELEMENT INSPECTION/REPLACEMENT  ).
  2. Remove the throttle body (see THROTTLE BODY REMOVAL/INSTALLATION  ).
  3. Clean off the carbon from the throttle valve and inside the throttle body with a paper towel soaked in throttle plate and induction cleaner.
    NOTE:
    • Remove the throttle body to clean it.
    • Be careful not to pinch your fingers.
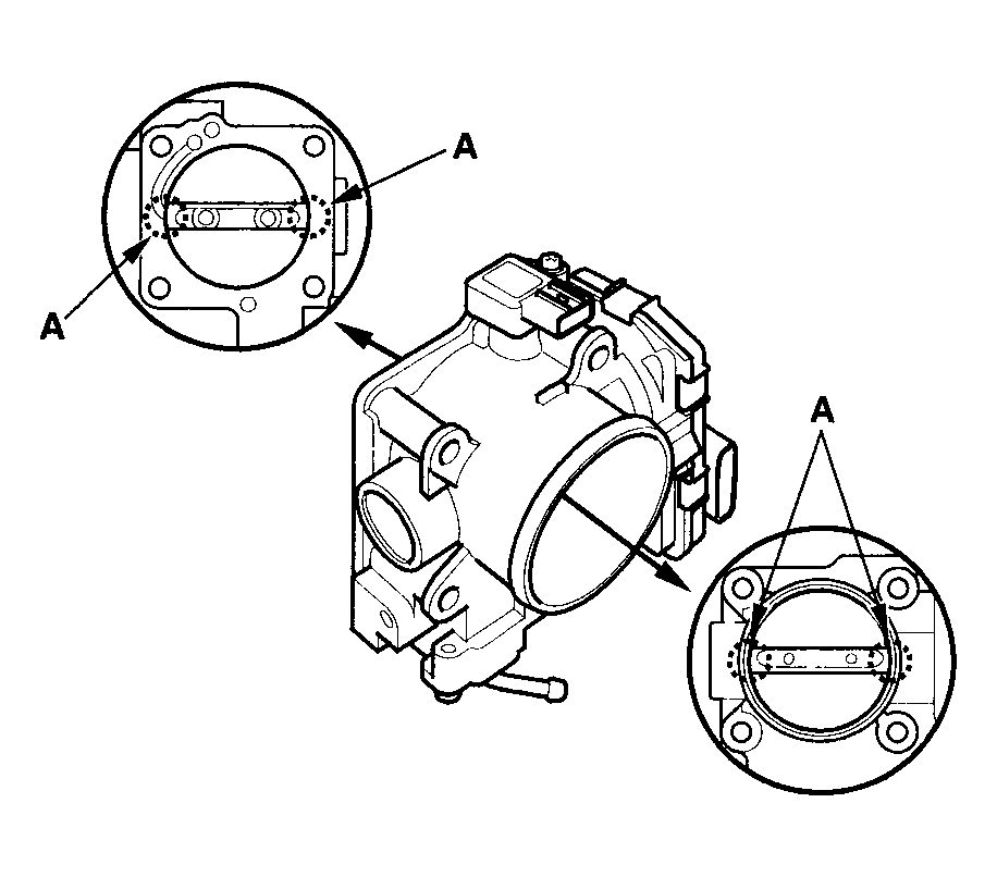
    • To avoid removing the molybdenum coating, do not clean the bearing area of the throttle shaft (A).
    • Do not spray throttle plate and induction cleaner directly on the throttle body.
    • Use Honda genuine throttle plate and induction cleaner.
      Fig 1: Avoid Cleaning Bearing Area Of Throttle Shaft
      G04245536Courtesy of AMERICAN HONDA MOTOR CO., INC.
  4. Install the throttle body (see THROTTLE BODY REMOVAL/INSTALLATION  ).
  5. Reset the PCM with the HDS.
  6. Turn the ignition switch ON (II), and wait 2 seconds.
  7. Do the PCM idle learn procedure (see PCM IDLE LEARN PROCEDURE ).