LEMON Manuals: Even more car manuals for everyone: 1960-2025
Home >> Honda >> 2008 >> S2000 L4-2.2L >> Repair and Diagnosis >> Relays and Modules >> Relays and Modules - Restraints and Safety Systems >> Air Bag Control Module >> Service and Repair >> SRS Unit Replacement
April 5, 2026: LEMON Manuals is launched! Read the announcement.

SRS Unit Replacement

SRS Unit Replacement

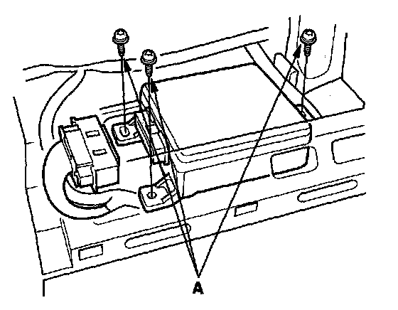
Removal ('00-05 Models)

1. Disconnect the negative cable from the battery, then wait for 3 minutes before starting work.
2. Disconnect the airbag connectors and seat belt tensioner connectors.
3. Remove the center console and audio unit.
4. Disconnect the SRS unit connector (18P) (A) from the SRS unit (B).






5. Remove the three TORX bolts (A) from the SRS unit, then pull out the SRS unit from the bracket.






Removal ('06-08 Models)

NOTE: If you are disconnecting SRS unit connector.

1. Disconnect the negative cable from the battery, then wait for 3 minutes before starting work.
2. Disconnect both seat belt tensioner connectors.
3. Remove the center console and audio unit.
4. Disconnect the SRS unit connect A (28P) and B (28P) from the SRS unit (C).






5. Remove the three TORX bolts (A) from the SRS unit, then pull out the SRS unit from the bracket.






Installation ('00-05 Models)

1. Install the SRS unit (A) with new TORX bolts (B), then connect the SRS unit connector (18P) (C) to the SRS unit; push it into position until it clicks.

NOTE: When tightening the TORX bolts to the specified torque after replacement, be careful to turn them in so that their heads rest squarely on the brackets.






2. Reinstall the center console and audio unit.
3. Reconnect the airbag connectors and seat belt tensioner connectors.
4. Reconnect the negative cable to the battery.
5. After installing the SRS unit, confirm proper system operation: Turn the ignition switch ON (II); the SRS indicator should come on for about 6 seconds and then go off.

Installation ('06-08 Models)

1. Install the SRS unit (A) with new TORX bolts (B), then connect the connectors (C) to the SRS unit-push them into position until they clicks.

NOTE: Be sure the SRS unit is setting squarely against its bracket before torquing the TORX bolts.






2. Reinstall the center console and audio unit.
3. Reconnect both seat belt tensioner connectors.
4. Reconnect the negative cable to the battery.
5. After installing the SRS unit, confirm proper system operation: Turn the ignition switch ON (II); the SRS indicator should come on for about 6 seconds and then go off.