LEMON Manuals: Even more car manuals for everyone: 1960-2025
Home >> Honda >> 2009 >> Ridgeline RTL >> Repair and Diagnosis >> Electrical >> Body Electrical >> OEM-Fuse/Relay Boxes >> Fuse/Relay Boxes >> Under-dash Fuse/Relay Box >> Connector-to-Fuse/Relay Box Index
April 5, 2026: LEMON Manuals is launched! Read the announcement.

Connector-to-Fuse/Relay Box Index

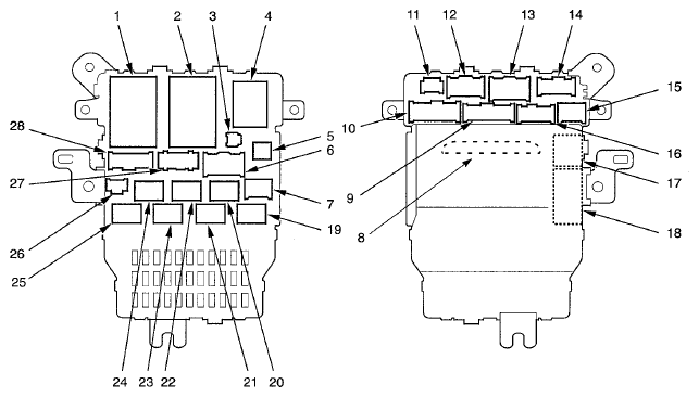
Fig 1: Connector To Fuse/Relay Box Index (6-3)
G07763456
Ref Socket Cavities Connects to
1 X 39 Dashboard Wire Harness (Left Branch) (See DASHBOARD WIRE HARNESS (LEFT BRANCH) )
2 N 45 Dashboard Wire Harness (Left Branch) (See DASHBOARD WIRE HARNESS (LEFT BRANCH) )
3 R (MES Connector) 2 Dashboard Wire Harness (Left Branch) (See DASHBOARD WIRE HARNESS (LEFT BRANCH) )
4 Turn Signal/Hazard Relay 6  
5 S 2 Dashboard Wire Harness (Left Branch) (See DASHBOARD WIRE HARNESS (LEFT BRANCH) )
6 A 6 Ignition Switch Lead (See IGNITION SWITCH LEAD )
7 T 6 Option Connector
8 MICU 25 (Plugs directly into the fuse/relay box)
9 E 16 Floor Wire Harness (Left Branch) (See FLOOR WIRE HARNESS (LEFT BRANCH) )
10 F 14 Floor Wire Harness (Left Branch) (See FLOOR WIRE HARNESS (LEFT BRANCH) )
11 W 5 Roof Wire Harness (See ROOF WIRE HARNESS )
12 C 12 Right Engine Compartment Wire Harness (See RIGHT ENGINE COMPARTMENT WIRE HARNESS )
13 B 6 Right Engine Compartment Wire Harness (See RIGHT ENGINE COMPARTMENT WIRE HARNESS )
14 D 17 Right Engine Compartment Wire Harness (See RIGHT ENGINE COMPARTMENT WIRE HARNESS )
15 G 6 Not Used
16 H 14 Floor Wire Harness (Left Branch) (See FLOOR WIRE HARNESS (LEFT BRANCH) )
17 Q (MICU) 14 Floor Wire Harness (Left Branch) (See FLOOR WIRE HARNESS (LEFT BRANCH) )
18 P (MICU) 30 Dashboard Wire Harness (Left Branch) (See DASHBOARD WIRE HARNESS (LEFT BRANCH) )
19 Starter Cut Relay 4  
20 Rear Accessory Power Socket Relay 4  
21 A/F Sensor Relay 4  
22 PGM-FI Main Relay 1 4  
23 Power Window Relay 4  
24 Ignition Coil Relay 4  
25 PGM-FI Main Relay 2 4  
26 M 3 MICU Service Check Connector
27 K 12 Driver's Door Sub-harness (See DRIVER'S DOOR WIRE HARNESS )
28 J 21 Driver's Door Sub-harness (See DRIVER'S DOOR WIRE HARNESS )