LEMON Manuals: Even more car manuals for everyone: 1960-2025
Home >> Honda >> 2010 >> Element 2WD L4-2.4L >> Parts and Labor >> Powertrain Management >> Ignition System >> Images
April 5, 2026: LEMON Manuals is launched! Read the announcement.

Images

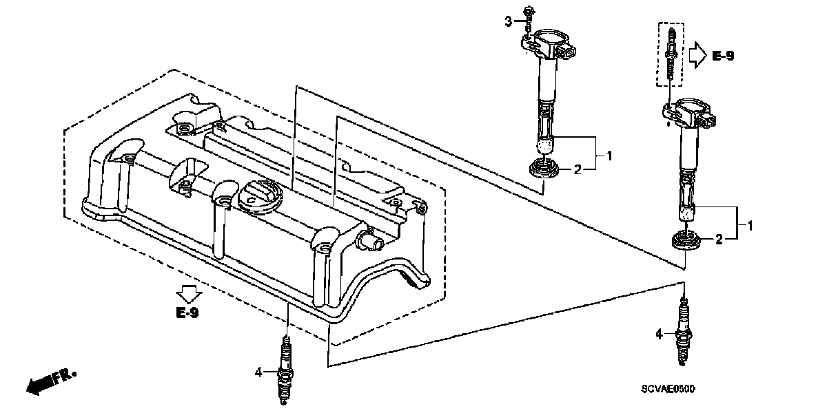
Plug Hole Coil - Plug: