LEMON Manuals: Even more car manuals for everyone: 1960-2025
Home >> Honda >> 2010 >> Element 2WD L4-2.4L >> Repair and Diagnosis >> Specifications >> Mechanical Specifications >> Engine >> Timing Cover
April 5, 2026: LEMON Manuals is launched! Read the announcement.

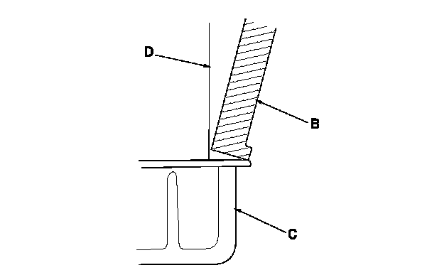
Timing Cover




Chain case cover

NOTE:
Wait for at least 30 minutes before filling the engine with oil.
Do not run the engine for at least 3 hours after installing the chain case cover.