LEMON Manuals: Even more car manuals for everyone: 1960-2025
Home >> Honda >> 2011 >> Insight Base >> Repair and Diagnosis >> Engine Performance >> Tune-Up >> Ignition System >> Spark Plug Inspection
April 5, 2026: LEMON Manuals is launched! Read the announcement.

Spark Plug Inspection

  1. Remove the spark plugs, and inspect the electrodes and ceramic insulator.
    • Burned or worn electrodes may be caused by these conditions:
      • Advanced ignition timing
      • Loose spark plug
      • Plug heat range too hot
      • Insufficient cooling
    • Fouled plugs may be caused by these conditions:
      • Retarded ignition timing
      • Oil in combustion chamber
      • Incorrect spark plug gap
      • Plug heat range too cold
      • Excessive idling/low speed running
      • Clogged air cleaner element
      • Deteriorated ignition coils
      • Poor quality fuel
    Fig 1: Identifying Damage Spark Plug
    G06428761Courtesy of AMERICAN HONDA MOTOR CO., INC.
  2. If the spark plug electrode is dirty or contaminated, clean the electrode with a plug cleaner.
    NOTE:
    • Do not use a wire brush or scrape the iridium electrode since this will damage the electrode.
    • When using a sandblaster spark plug cleaner, do not clean for more than 20 seconds to avoid damaging the electrode.
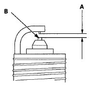
  3. Do not adjust the gap of iridium tip plugs (A); replace the spark plug if the gap is out of specification.

    Electrode Gap 

    Standard (New): 1.0-1.1 mm (0.039-0.043 in) 

    Fig 2: Identifying Spark Plug Electrode Gap
    G06428762Courtesy of AMERICAN HONDA MOTOR CO., INC.
  4. Replace the plug at the specified interval, or when the center electrode is rounded (B). Use only the listed spark plugs.

    Spark Plugs 

    NGK: DILFR6F11G 

  5. Apply a small amount of anti-seize compound to the plug threads, and screw the plugs into the cylinder head, finger-tight. Then torque them to 18 N.m (1.8 kgf.m, 13 lbf.ft).