LEMON Manuals: Even more car manuals for everyone: 1960-2025
Home >> Honda >> 2012 >> Fit Base, Automatic Trans >> Repair and Diagnosis >> Transmission >> Automatic Trans >> Automatic Transmission >> ATF Level Check
April 5, 2026: LEMON Manuals is launched! Read the announcement.

ATF Level Check

NOTE: Keep all foreign particles out of the transmission.
  1. Park the vehicle on level ground.
  2. Warm up the engine to normal operating temperature (the radiator fan comes on), then turn the engine off. Do not allow the engine to warm up longer than the time it takes for the radiator fan to come on twice.
    NOTE: Check the fluid level within 60-90 seconds after turning the engine off. Higher fluid level may be indicated if the radiator fan comes on twice or more.
  3. Remove the dipstick (yellow loop) (A), and wipe it with a clean cloth.
    Fig 1: Removing Dipstick (Yellow Loop)
    G06768457Courtesy of AMERICAN HONDA MOTOR CO., INC.
  4. Insert the dipstick into the transmission.
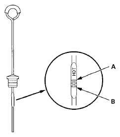
  5. Remove the dipstick and check the fluid level. It should be between the upper mark (A) and lower mark(B).
    Fig 2: Identifying Fluid Level Mark
    G06768458Courtesy of AMERICAN HONDA MOTOR CO., INC.
  6. If the level is below the lower mark, check for fluid leaks at the transmission, and hose and line joints. If a problem is found, fix it before filling the transmission.
    NOTE: If the vehicle is driven when the ATF level is below the lower mark, one or more of these symptoms may occur:
    • Transmission damage.
    • Vehicle does not move in any gear.
    • Vehicle accelerates poorly, and flares when starting off in the forward and reverse positions.
    • The engine vibrates at idle.
  7. If the level is above the upper mark, drain the ATF to proper level (see step  4 ).
    NOTE: If the vehicle is driven when the ATF level is above the upper mark, the vehicle may creep forward while in N, or have shifting problems.
  8. If necessary, fill the transmission with the ATF through the dipstick guide opening (A) to bring the fluid level midway between the upper mark and lower mark of the dipstick. Do not fill past the upper mark. Always use Honda ATF DW-1 Automatic Transmission Fluid (ATF). Using a non-Honda ATF can affect shift quality.
    Fig 3: Identifying Dipstick Guide Opening
    G06768459Courtesy of AMERICAN HONDA MOTOR CO., INC.
  9. Insert the dipstick back into the transmission.