LEMON Manuals: Even more car manuals for everyone: 1960-2025
Home >> Honda >> 2012 >> Fit Base, Automatic Trans >> Repair and Diagnosis >> Transmission >> Automatic Trans >> Automatic Transmission >> System Description >> Electronic Control System >> Lock-up Control
April 5, 2026: LEMON Manuals is launched! Read the announcement.

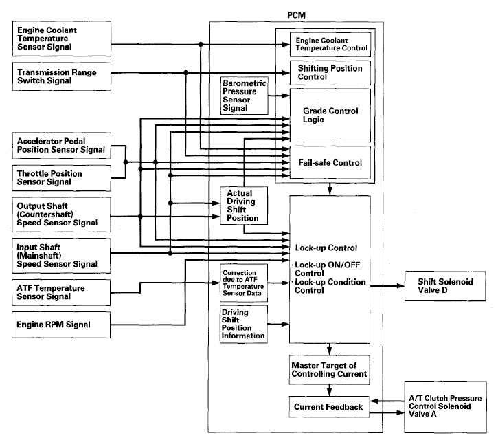
Lock-up Control

Shift solenoid valve D controls the hydraulic pressure to switch the lock-up shift valve ON and OFF. When the PCM turns shift solenoid valve D and A/T clutch pressure control solenoid valve A ON, lock-up starts. A/T clutch pressure control solenoid valve A regulates and applies hydraulic pressure to the lock-up control valve to control the degree of the lock-up.

The lock-up mechanism operates in all five gears in D, in 3rd gear in D3, and in 3rd and 4th gears in S.

Fig 1: Lock-Up Control Connection Diagram
G06768299Courtesy of AMERICAN HONDA MOTOR CO., INC.