LEMON Manuals: Even more car manuals for everyone: 1960-2025
Home >> Honda >> 2012 >> Fit L4-1.5L >> Repair and Diagnosis >> Starting and Charging >> Power and Ground Distribution >> Relay Box >> Locations >> Component Locations >> Under-Dash Fuse/Relay Box >> Fuse/Relay Box Connector Locations (Under-dash Fuse/Relay Box)
April 5, 2026: LEMON Manuals is launched! Read the announcement.

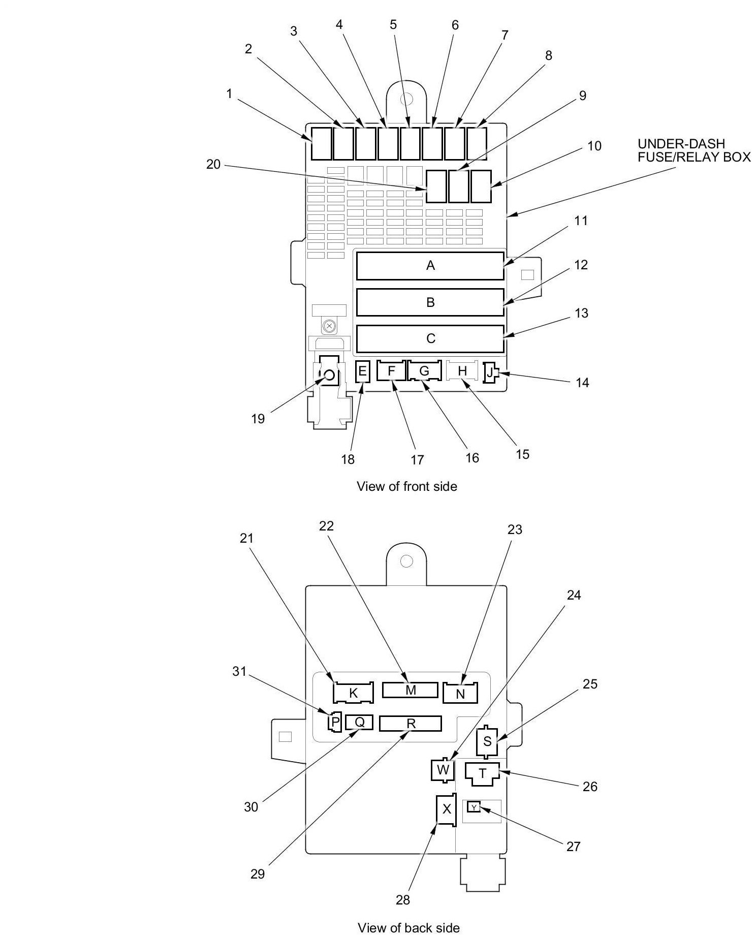
Fuse/Relay Box Connector Locations (Under-dash Fuse/Relay Box)




Fuse/Relay Box Connector Locations

Under-dash Fuse/Relay Box