LEMON Manuals: Even more car manuals for everyone: 1960-2025
Home >> Honda >> 2012 >> Ridgeline RT >> Repair and Diagnosis >> Body & Frame >> Windows >> Power Windows >> Back Power Window Switch Test/Replacement
April 5, 2026: LEMON Manuals is launched! Read the announcement.

Back Power Window Switch Test/Replacement

  1. Remove the driver's door panel (see FRONT DOOR PANEL REMOVAL/INSTALLATION ).
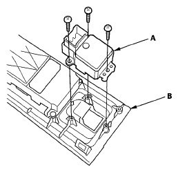
  2. Remove the three mounting screws, then remove the back power window switch (A) from the switch panel (B).
    Fig 1: Identifying Back Power Window Switch And Switch Panel With Mounting Screws
    G05968795Courtesy of AMERICAN HONDA MOTOR CO., INC.
  3. Swap the back power window switch with another known-good switch and test. If the original back power window switch is faulty; replace it.
  4. Install the switch in the reverse order of removal.
  5. Reset the power window control unit (see RESETTING THE POWER WINDOW CONTROL UNIT ).