LEMON Manuals: Even more car manuals for everyone: 1960-2025
Home >> Honda >> 2012 >> Ridgeline RTL >> Repair and Diagnosis >> Transmission >> Automatic Trans >> Automatic Transmission >> Transfer Assembly >> Disassembly >> Exploded View
April 5, 2026: LEMON Manuals is launched! Read the announcement.

Exploded View

Fig 1: Exploded View Of Transfer Assembly
G06629221Courtesy of AMERICAN HONDA MOTOR CO., INC.

Special Tools Required 

Flange Holder 07XAB-0010101

NOTE: Refer to the Exploded View as needed during the following procedure.
  1. Remove the transfer cover (A) from the transfer housing (B).
    Fig 2: Identifying Transfer Cover And Transfer Housing
    G06629222Courtesy of AMERICAN HONDA MOTOR CO., INC.
  2. Remove the transfer hypoid drive gear/shaft assembly (C), the 25 mm thrust shim (D), and the tapered roller bearing (E).
  3. Remove the O-ring (F) from the transfer cover.
  4. Drain the transfer fluid (hypoid gear oil) from the transfer housing.
  5. Cut the lock tab on the locknut using a chisel.
    Fig 3: Cutting Lock Tab On Locknut Using Chisel
    G06629223Courtesy of AMERICAN HONDA MOTOR CO., INC.
  6. Secure the transfer housing (A) in a bench vise (B) with soft jaws. To prevent damage to the transfer housing, always use soft jaws or equivalent materials between the transfer housing and a vise.
    Fig 4: Securing Transfer Housing In Bench Vise Using Soft Jaws
    G06629224Courtesy of AMERICAN HONDA MOTOR CO., INC.
  7. Install the flange holder on the companion flange, then loosen the locknut.
  8. Remove the flange holder.
  9. Remove the locknut (A), the conical spring washer (B), the back-up ring (C), the O-ring (D), and the companion flange (E) from the transfer output shaft (hypoid gear) (F).
    Fig 5: Identifying Locknut, Conical Spring Washer, Back-Up Ring And O-Ring
    G06629225Courtesy of AMERICAN HONDA MOTOR CO., INC.
  10. Remove the transfer output shaft (hypoid gear) (A) from the transfer housing (B), then remove the thrust washers (C) and the transfer spacer (D) from the transfer output shaft (hypoid gear).
    Fig 6: Identifying Transfer Output Shaft (Hypoid Gear) On Transfer Housing
    G06629226Courtesy of AMERICAN HONDA MOTOR CO., INC.
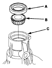
  11. Remove the oil seal (A) and the tapered roller bearing (B) from the transfer housing (C).
Fig 7: Identifying Oil Seal And Tapered Roller Bearing On Transfer Housing
G06629227Courtesy of AMERICAN HONDA MOTOR CO., INC.