LEMON Manuals: Even more car manuals for everyone: 1960-2025
Home >> Honda >> 2012 >> Ridgeline RTL >> Repair and Diagnosis >> Transmission >> Automatic Trans >> Automatic Transmission >> Transfer Assembly >> Reassembly
April 5, 2026: LEMON Manuals is launched! Read the announcement.

Transfer Assembly: Reassembly

Special Tools Required 

NOTE:
  • While reassembling the transfer assembly:
    • Check and adjust the transfer gear tooth contact.
    • Measure and adjust the transfer gear backlash.
    • Check and adjust the tapered roller bearing starting torque.
  • Coat all parts with transfer fluid (hypoid gear oil) during reassembly.
  • Replace the tapered roller bearing and the tapered roller bearing outer race as a set if either part is replaced.
  • Replace the transfer hypoid drive gear and the transfer output shaft (hypoid gear) as a set if either part is replaced.
  1. Select the 40 mm thrust shim if the transfer output shaft (hypoid gear) is replaced. Calculate the thickness of the 40 mm thrust shim using the following formula, and select the shim from the following table.

    FORMULA: A/100 - B/100 + C = X 

    A: Number on the existing transfer output shaft (hypoid gear) 

    B: Number on the replacement transfer output shaft (hypoid gear) 

    C: Thickness of the existing 40 mm thrust shim 

    X: Thickness needed for the replacement 40 mm thrust shim 

    NOTE: The number on the transfer output shaft (hypoid gear) is shown in 1/100 mm.

    EXAMPLE 

    A: Existing transfer output shaft (hypoid gear) Numbers +2 

    B: Replacement transfer output shaft (hypoid gear) Numbers -1 

    C: Existing 40 mm thrust shim thickness = 1.05 mm 

    X: Replacement 40 mm thrust shim thickness 

    X = A/100-B/100+C 

    = 2/100-(-1)/100+1.05 

    = 0.02+0.01 + 1.05 = 1.08 (mm) 

    Select No. M 40 mm thrust shim of 1.08 mm (0.043 in) 

    Fig 1: Identifying Transfer Output Shafts And Shims
    G06629242Courtesy of AMERICAN HONDA MOTOR CO., INC.

    THRUST SHIM, 40 mm 

    THRUST SHIM REFERENCE CHART

    Shim No. Thickness
    A 0.72 mm (0.028 in)
    B 0.75 mm (0.030 in)
    C 0.78 mm (0.031 in)
    D 0.81 mm (0.032 in)
    E 0.84 mm (0.033 in)
    F 0.87 mm (0.034 in)
    G 0.90 mm (0.035 in)
    H 0.93 mm (0.037 in)
    I 0.96 mm (0.038 in)
    J 0.99 mm (0.039 in)
    K 1.02 mm (0.040 in)
    L 1.05 mm (0.041 in)
    M 1.08 mm (0.043 in)
    N 1.11 mm (0.044 in)
    O 1.14 mm (0.045 in)
  2. Select the 40 mm thrust shim if the tapered roller bearing on the transfer output shaft (hypoid gear) is replaced. Measure the thickness of the replacement bearing and the existing bearing, and calculate the difference of the bearing thickness. Adjust the thickness of the existing 40 mm thrust shim by the amount of difference in bearing thickness, and select the replacement 40 mm thrust shim.
  3. Install the 40 mm thrust shim (A) on the transfer output shaft (hypoid gear) (B), then install the tapered roller bearing (C) using the driver handle (40 mm I.D.) and a press.
    Fig 2: Installing 40 mm Thrust Shim On Transfer Output Shaft (Hypoid Gear)
    G06629243Courtesy of AMERICAN HONDA MOTOR CO., INC.
  4. Place the tapered roller bearing (A) on the tapered roller bearing outer race of the companion flange side of the transfer housing, and install a new oil seal (B).
    Fig 3: Identifying Tapered Roller Bearing And Oil Seal
    G06629244Courtesy of AMERICAN HONDA MOTOR CO., INC.
  5. Drive the oil seal securely in the transfer housing using the driver handle (15 x 135L) and the attachment (65 mm).
    Fig 4: Driving Oil Seal Securely In Transfer Housing
    G06629245Courtesy of AMERICAN HONDA MOTOR CO., INC.
  6. Install the transfer output shaft (hypoid gear) (A) in the transfer housing (B). Do not install the transfer spacer and thrust washer on the transfer output shaft (hypoid gear).
    Fig 5: Identifying Transfer Output Shaft (Hypoid Gear) In Transfer Housing
    G06629246Courtesy of AMERICAN HONDA MOTOR CO., INC.
  7. Install the companion flange (A), the conical spring washer (B) (in the direction shown), and the locknut (C) on the transfer output shaft (hypoid gear) (D). Do not install the O-ring and back-up ring.
    Fig 6: Direction Of Installing Companion Flange And Conical Spring Washer
    G06629247Courtesy of AMERICAN HONDA MOTOR CO., INC.
  8. Secure the transfer housing (A) in a bench vise (B) with soft jaws. To prevent damaging the transfer housing, always use soft jaws or equivalent materials between the transfer housing and a vise.
    Fig 7: Securing Transfer Housing In Bench Vise Using Soft Jaws
    G06629248Courtesy of AMERICAN HONDA MOTOR CO., INC.
  9. Install the flange holder on the companion flange.
  10. Tighten the locknut while measuring the starting torque of the transfer output shaft (hypoid gear) so the starting torque is within 1.15-1.71 N.m (11.7-17.4 kgf.cm, 10.2-15.1 lbf.in). Do not stake the locknut in this step.
  11. Remove the flange holder.
  12. Apply Prussian Blue to both sides of the transfer hypoid drive gear teeth lightly and evenly.
  13. Install the tapered roller bearing (A), the 25 mm thrust shim (B), and the transfer drive gear/shaft assembly (C) in the transfer housing (D).
    Fig 8: Identifying Tapered Roller Bearing, 25 mm Thrust Shim And Transfer Drive Gear/Shaft Assembly In Transfer Housing
    G06629249Courtesy of AMERICAN HONDA MOTOR CO., INC.
  14. Install the transfer cover (E) and secure the cover with the bolts. Do not install the O-ring on the transfer cover.
  15. Rotate the companion flange in both directions until the transfer gears rotate one full turn in both directions.
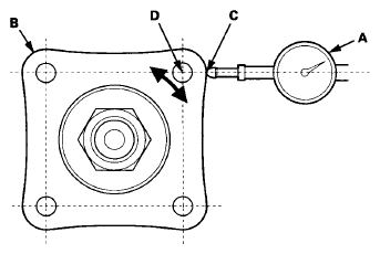
  16. Set a dial indicator (A) on the transfer companion flange (B); position dial indicator tip (C) on the direct extension of the bolt hole center (D).
    Fig 9: Measuring Transfer Gear Backlash
    G06629250Courtesy of AMERICAN HONDA MOTOR CO., INC.
  17. Measure the transfer gear backlash.

    Standard: 0.06-0.17 mm (0.002-0.007 in) 

  18. Remove the transfer cover, the transfer hypoid drive gear/shaft assembly, and check the transfer hypoid drive gear tooth contact pattern.
    Fig 10: Identifying Correct And Incorrect Tooth Contact Pattern
    G06629251Courtesy of AMERICAN HONDA MOTOR CO., INC.
  19. If the backlash measurement is out of the standard, adjust the backlash with the 40 mm thrust shim and recheck. Do not use more than two 40 mm thrust shims to adjust the transfer gear backlash.
  20. If the transfer gear tooth contact is incorrect, adjust the transfer gear tooth contact with the 25 mm, 40 mm, or 80 mm thrust shim. Do not use more than two shims of each thrust shim to adjust the tooth contact,
    • Toe Contact

      Use a thinner 40 mm thrust shim to move the transfer output shaft (hypoid gear) away from the transfer hypoid drive gear. Because this movement causes the transfer gear backlash to change, move the transfer hypoid drive gear toward the transfer output shaft (hypoid gear) to adjust the transfer gear backlash as follows:

      • Reduce the thickness of the 25 mm thrust shim.
      • Increase the thickness of the 80 mm thrust shim by amount the 25 mm thrust shim was reduced.
    • Heel Contact

      Use a thicker 40 mm thrust shim to move the transfer output shaft (hypoid gear) toward the transfer hypoid drive gear. Because this movement causes the transfer backlash to change, move the transfer hypoid drive gear away from the transfer output shaft (hypoid gear) to adjust the transfer gear backlash as follows:

      • Increase the thickness of the 25 mm thrust shim.
      • Reduce the thickness of the 80 mm thrust shim by the amount the 25 mm thrust shim was reduced.
    • Flank Contact

      Use a thicker 25 mm thrust shim to move the transfer hypoid drive gear away from the transfer output shaft (hypoid gear). Flank contact must be adjusted within the limits of the transfer gear backlash. If the backlash exceeds the limits, adjust as described under Heel Contact.

    • Face Contact

      Use a thinner 25 mm thrust shim to move the transfer hypoid drive gear away from the transfer output shaft (hypoid gear). Face contact must be adjusted within the limits of the transfer gear backlash. If the backlash exceeds the limits, adjust as described under Toe Contact.

    THRUST SHIM, 25 mm 

    THRUST SHIM REFERENCE CHART

    Shim No. Thickness
    1.70 1.70 mm (0.067 in)
    1.73 1.73 mm (0.068 in)
    1.76 1.76 mm (0.069 in)
    1.79 1.79 mm (0.070 in)
    1.82 1.82 mm (0.072 in)
    1.85 1.85 mm (0.073 in)
    1.88 1.88 mm (0.074 in)
    1.91 1.91 mm (0.075 in)
    1.94 1.94 mm (0.076 in)
    1.97 1.97 mm (0.078 in)
    2.00 2.00 mm (0.079 in)
    2.03 2.03 mm (0.080 in)
    2.06 2.06 mm (0.081 in)
    2.09 2.09 mm (0.082 in)
    2.12 2.12 mm (0.083 in)
    2.15 2.15 mm (0.085 in)
    2.18 2.18 mm (0.086 in)
    2.21 2.21 mm (0.087 in)
    2.24 2.24 mm (0.088 in)
  21. Remove the transfer cover (A), the transfer hypoid drive gear/shaft assembly (B), the 25 mm thrust shim (C), and the tapered roller bearing (D) from the transfer housing (E) after adjusting the transfer gear backlash or transfer gear tooth contact.
    Fig 11: Identifying Transfer Cover, Transfer Hypoid Drive Gear/Shaft Assembly And 25 mm Thrust Shim
    G06629252Courtesy of AMERICAN HONDA MOTOR CO., INC.
  22. Secure the transfer housing (A) in a bench vise (B) with soft jaws, then install the flange holder on the companion flange. To prevent damage to the transfer housing, always use soft jaws or equivalent materials between the transfer housing and the vise.
    Fig 12: Securing Transfer Housing In Bench Vise Using Soft Jaws
    G06629253Courtesy of AMERICAN HONDA MOTOR CO., INC.
  23. Remove the locknut (A), the conical spring washer (B), and the companion flange (C) from the transfer output shaft (hypoid gear) (D).
    Fig 13: Identifying Locknut, Conical Spring Washer And Companion Flange
    G06629254Courtesy of AMERICAN HONDA MOTOR CO., INC.
  24. Remove the transfer output shaft (hypoid gear) from the transfer housing.
  25. Install the two thrust washers (A) and a new transfer spacer (B) on the transfer output shaft (hypoid gear) (C) in the direction shown, and install them in the transfer housing (D).
    Fig 14: Direction Of Installing Thrust Washers, Transfer Spacer On Transfer Output Shaft (Hypoid Gear)
    G06629255Courtesy of AMERICAN HONDA MOTOR CO., INC.
  26. Coat the threads of the locknut and transfer output shaft (hypoid gear) with transfer fluid (hypoid gear oil).
  27. Install the companion flange (A), a new O-ring (B), back-up ring (C), a new conical spring washer (D), and a new locknut (E) on the transfer output shaft (hypoid gear) (F). Install the conical spring washer in the direction shown.
    Fig 15: Direction Of Installing Conical Spring Washer
    G06629256Courtesy of AMERICAN HONDA MOTOR CO., INC.
  28. Secure the transfer housing (A) in a bench vise (B) with soft jaws, then install the flange holder on the companion flange. To prevent damage to the transfer housing, always use soft jaws or equivalent materials between the transfer housing and the vise.
    Fig 16: Securing Transfer Housing In Bench Vise Using Soft Jaws
    G06629257Courtesy of AMERICAN HONDA MOTOR CO., INC.
  29. Tighten the locknut while measuring the starting torque of the transfer output shaft (hypoid gear) so the starting torque is within 1.15-1.71 N.m (11.7-17.4 kgf.cm, 10.2-15.1 lbf.in).

    Tightening Torque: 

    108-294 N.m (11.0-30.0 kgf.m, 79.6-217 lbf.ft) 

    Starting Torque: 1.15-1.71 N.m (11.7-17.4 kgf.cm, 10.2-15.1 lbf.in) 

    NOTE:
    • Rotate the companion flange several times to seat the tapered roller bearings, then measure the starting torque.
    • If the starting torque exceeds 1.71 N.m (17.4 kgf.cm, 15.1 lbf.in), replace the transfer spacer and reassemble the parts. Do not adjust the torque with the locknut loose.
    • If the tightening torque exceeds 294 N.m (30.0 kgf.m, 217 lbf.ft), replace the transfer spacer and reassemble the parts.
  30. Remove the flange holder.
  31. Stake the locknut to a depth (A) of 0.7-1.2 mm (0.03-0.05 in) using a 3.5 mm punch (B).
    Fig 17: Staking Locknut
    G06629258Courtesy of AMERICAN HONDA MOTOR CO., INC.
  32. Install the tapered roller bearing (A), the 25 mm thrust shim (B), and the transfer hypoid drive gear/shaft assembly (C) in the transfer housing (D).
    Fig 18: Tapered Roller Bearing, 25 mm Thrust Shim And Transfer Hypoid Drive Gear/Shaft Assembly With Torque Specifications
    G06629259Courtesy of AMERICAN HONDA MOTOR CO., INC.
  33. Temporarily install the transfer cover (E) without the O-ring. Install and tighten the bolts.
  34. Secure the transfer housing (A) in a bench vise (B) with soft jaws. To prevent damage to the transfer housing, always use soft jaws or equivalent materials between the transfer housing and the vise.
    Fig 19: Securing Transfer Housing In Bench Vise Using Soft Jaws
    G06629260Courtesy of AMERICAN HONDA MOTOR CO., INC.
  35. Rotate the transfer companion flange (C) several times to seat the tapered roller bearings.
  36. Measure the starting torque at the companion flange using a torque wrench (D) and a socket (E).

    Total Starting Torque: 

    3.20-4.16 N.m (32.6-42.4 kgf.cm, 28.3-36.8 lbf.in). 

  37. Calculate the transfer hypoid drive gear/shaft starting torque using the following formula.

    Transfer Hypoid Drive Gear/Shaft Starting Torque Formula: 

    A - B = X 

    A: Actual total starting torque (measured in step 36) 

    B: Actual transfer output shaft (hypoid gear) starting torque (measured in step 29) 

    X: Transfer hypoid drive gear/shaft starting torque 

  38. Check that the calculated transfer hypoid drive gear/shaft starting torque is within the following reference value range.

    Reference Value Range of Transfer Hypoid Drive Gear/Shaft Starting Torque: 

    1.49-3.01 N.m 

    (15.2-30.6 kgf.cm, 13.2-26.6 lbf.in) 

    • If the calculated transfer hypoid drive gear/shaft starting torque is within the reference value range, remove the transfer cover from the transfer housing, then go to  44.
    • If the calculated transfer hypoid drive gear/shaft starting torque is out of the reference value range, go to  39.
  39. Remove the tapered roller bearing outer race (A) and the 80 mm thrust shim (B) from the transfer cover (C). If the tapered roller bearing outer race is press-fitted, remove the tapered roller bearing outer race by heating the transfer cover to about 212 °F (100 °C) using a heat gun (D). Do not heat the transfer cover more than 212 °F (100 °C).
    NOTE: Let the transfer cover cool to room temperature before adjusting the bearing preload.
    Fig 20: Removing Tapered Roller Bearing Outer Race And 80 mm Thrust Shim From Transfer Cover
    G06629261Courtesy of AMERICAN HONDA MOTOR CO., INC.
  40. Measure the thickness of removed 80 mm thrust shim, and select a new 80 mm thrust shim.

    THRUST SHIM, 80 mm 

    THRUST SHIM REFERENCE CHART

    Shim No. Thickness
    A 1.52 mm (0.060 in)
    B 1.55 mm (0.061 in)
    C 1.58 mm (0.062 in)
    D 1.61 mm (0.063 in)
    E 1.64 mm (0.065 in)
    F 1.67 mm (0.066 in)
    G 1.70 mm (0.067 in)
    H 1.73 mm (0.068 in)
    I 1.76 mm (0.069 in)
    J 1.79 mm (0.070 in)
    K 1.82 mm (0.072 in)
    L 1.85 mm (0.073 in)
    M 1.88 mm (0.074 in)
    N 1.91 mm (0.075 in)
    O 1.94 mm (0.076 in)
    P 1.97 mm (0.078 in)
    Q 2.00 mm (0.079 in)
    R 2.03 mm (0.080 in)
    S 2.06 mm (0.081 in)
    T 2.09 mm (0.082 in)
    U 2.12 mm (0.083 in)
    V 2.15 mm (0.085 in)
    W 2.18 mm (0.086 in)
    X 2.21 mm (0.087 in)
    Y 2.24 mm (0.088 in)
    Z 2.27 mm (0.089 in)
    AA 2.30 mm (0.091 in)
    AB 2.33 mm (0.092 in)
    AC 2.36 mm (0.093 in)
    AD 2.39 mm (0.094 in)
    AE 2.42 mm (0.095 in)
    AF 2.45 mm (0.096 in)
    AG 2.48 mm (0.098 in)
    AH 2.51 mm (0.099 in)
    AI 2.54 mm (0.100 in)
    AJ 2.57 mm (0.101 in)
    AK 2.60 mm (0.102 in)
    AL 2.63 mm (0.104 in)
    AM 2.66 mm (0.105 in)
  41. Install the 80 mm trust shim (A) and tapered roller bearing outer race (B) in the transfer cover (C).
    Fig 21: Identifying 80 mm Trust Shim And Tapered Roller Bearing Outer Race In Transfer Cover
    G06629262Courtesy of AMERICAN HONDA MOTOR CO., INC.
  42. Drive the tapered roller bearing outer race securely in the transfer cover with the driver handle (15 x 135L) and attachment (78 x 80 mm), so there is no clearance between the tapered roller bearing outer race, the 80 mm thrust shim, and the transfer cover.
    Fig 22: Driving Tapered Roller Bearing Outer Race Securely In Transfer Cover
    G06629263Courtesy of AMERICAN HONDA MOTOR CO., INC.
  43. After replacing the 80 mm thrust shim, recheck and make sure that the total starting torque is within the specification.
  44. Install a new O-ring (A) on the transfer cover (B), then install the transfer cover on the transfer housing (C).
    Fig 23: O-Ring On Transfer Cover With Torque Specifications
    G06629264Courtesy of AMERICAN HONDA MOTOR CO., INC.
  45. Remove the filler plug (A), then refill the transfer assembly with transfer fluid (hypoid gear oil). Use a SAE 90 viscosity hypoid gear oil, API classified GL4 or GL5 only.

    Viscosity: SAE 90 

    Hypoid Gear Oil Capacity: 0.45 L (0.48 US qt) 

    Fig 24: Transfer Assembly Filler Plug And Sealing Washer With Torque Specifications
    G06629265Courtesy of AMERICAN HONDA MOTOR CO., INC.
  46. Install the filler plug with a new sealing washer (B).