LEMON Manuals: Even more car manuals for everyone: 1960-2025
Home >> Honda >> 2013 >> Fit Base, Automatic Trans >> Repair and Diagnosis >> General Information >> OEM General Information >> Body & Design Specifications >> Design Specifications >> Body Specifications
April 5, 2026: LEMON Manuals is launched! Read the announcement.

Body Specifications

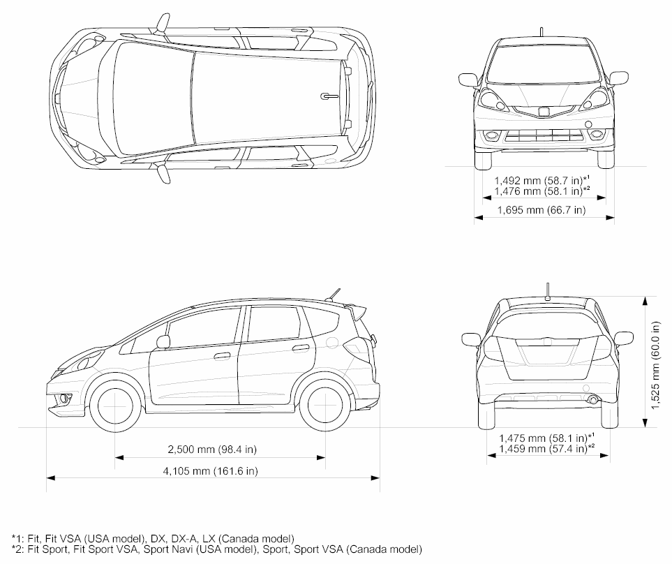
Fig 1: Identifying Body Specifications
G05952246Courtesy of AMERICAN HONDA MOTOR CO., INC.