LEMON Manuals: Even more car manuals for everyone: 1960-2025
Home >> Honda >> 2013 >> Insight Base >> Repair and Diagnosis >> External Pages >> Different car >> Section 2 (IMA System) >> Motor Power Inverter (MPI) Module Removal/Installation
April 5, 2026: LEMON Manuals is launched! Read the announcement.

Motor Power Inverter (MPI) Module Removal/Installation

WARNING: This page is about a different car, the 2011 Honda Insight and 2010 Honda Insight. However, it is still accessible from the selected car via links, so may be relevant.
WARNING: The IMA motor power cables carry high voltage when the engine is running or the IMA system is energized. To avoid serious injury from electrical shock, do not start the engine with the IMA motor power cables disconnected.

IMA components are located in this area. The IMA is a high-voltage system. You must be familiar with the IMA system before working on or around it. Make sure you have read the IMA service precautions before doing repairs or service (see SERVICE PRECAUTIONS  ).

  1. Remove the MCM (see MOTOR CONTROL MODULE (MCM) REMOVAL/INSTALLATION  ).
  2. Remove the DC-DC converter (see DC-DC CONVERTER REMOVAL/INSTALLATION  ).
  3. Remove the IMA motor power cables (A).
    NOTE: Check the position of the U phase, V phase, and W phase cables before disconnecting the IMA motor power cables.
    Fig 1: Bolts With Torque Specifications And IMA Motor Power Cables Connections
    G06429954Courtesy of AMERICAN HONDA MOTOR CO., INC.
  4. Remove the 12 V power cable (B), and wrap it with insulating tape.
  5. Remove the bolts (A) and the terminal cover (B).
    Fig 2: Bolts With Torque Specifications And Terminal Cover
    G06429955Courtesy of AMERICAN HONDA MOTOR CO., INC.
  6. Disconnect the phase motor current sensor connector (A).
    Fig 3: Bolts With Torque Specifications, Phase Motor Current Sensor And Connector
    G06429956Courtesy of AMERICAN HONDA MOTOR CO., INC.
  7. Remove the bolts (B, C) and the phase motor current sensor (D).
  8. Remove the bolts (A, B) and the PCU wire harness (C).
    Fig 4: Bolts With Torque Specifications And PCU Wire Harness
    G06429957Courtesy of AMERICAN HONDA MOTOR CO., INC.
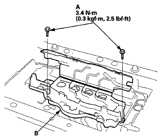
  9. Remove the bolts (A) and the MPI module (B).
    Fig 5: Bolts With Torque Specifications And MPI Module
    G06429958Courtesy of AMERICAN HONDA MOTOR CO., INC.
  10. Install the parts in the reverse order of removal.
  11. Do the motor rotor position calibration procedure (see IMA MOTOR ROTOR POSITION CALIBRATION  ).