LEMON Manuals: Even more car manuals for everyone: 1960-2025
Home >> Honda >> 2014 >> Pilot EX, FWD >> Repair and Diagnosis >> Electrical >> Starter >> Starting System >> Starter Overhaul >> Exploded View
April 5, 2026: LEMON Manuals is launched! Read the announcement.

Exploded View

Fig 1: Exploded View Of Starter With Torque Specifications
G08078414Courtesy of AMERICAN HONDA MOTOR CO., INC.
NOTE: Refer to the Fig 1 if needed during this procedure.

Brush Holder Removal 

  1. Remove the starter (see STARTER REMOVAL AND INSTALLATION  ).
  2. Disconnect the motor wire from the M terminal (see STARTER SOLENOID TEST  ), and remove the end cover.
  3. Pry back each brush spring with a screwdriver, then position the brush on the brush holder about halfway out of its holder. Release the spring to hold it in place.
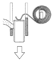
    Fig 2: Prying Back Each Brush Spring Using Screwdriver
    G08078415Courtesy of AMERICAN HONDA MOTOR CO., INC.
  4. Remove the brush holder assembly (A).

    Armature Inspection and Test 

  5. Inspect the armature for wear or damage from contact with the permanent magnet. If there is wear or damage, replace the armature.
    Fig 3: View Of Armature
    G08078416Courtesy of AMERICAN HONDA MOTOR CO., INC.
  6. Check the commutator (A) surface. If the surface is dirty or burnt, resurface it with an emery cloth or a lathe to the specifications in step 7, or recondition with #500 or #600 sandpaper (B).
    Fig 4: Checking Commutator Surface Using Sandpaper
    G08078417Courtesy of AMERICAN HONDA MOTOR CO., INC.
  7. Check the commutator diameter with a digital caliper or dial type caliper. If the diameter is below the service limit, replace the armature.

    Commutator Diameter 

    Standard (New): 28.9-29.0 mm (1.138-1.142 in) 

    Service Limit: 28.0 mm (1.102 in) 

    Fig 5: Checking Commutator Diameter And Digital Caliper
    G08078418Courtesy of AMERICAN HONDA MOTOR CO., INC.
  8. Measure the commutator (A) runout:
    • If the commutator runout is within the service limit, check the commutator for carbon dust or brass chips between the segments.
    • If the commutator runout is not within the service limit, replace the armature.

    Commutator Runout 

    Standard (New): 0.02 mm (0.0008 in) max. 

    Service Limit: 0.05 mm (0.0020 in) 

    Fig 6: Measuring Commutator Runout
    G08078419Courtesy of AMERICAN HONDA MOTOR CO., INC.
  9. Use a digital caliper or dial type caliper to check the mica depth (A). If the mica depth is below the service limit, replace the armature.

    Commutator Mica Depth 

    Standard (New): 0.50-0.90 mm (0.0197-0.0354 in) 

    Service Limit: 0.20 mm (0.0079 in) 

    Fig 7: Checking Mica Depth Using Digital Caliper Or Dial Type Caliper
    G08078420Courtesy of AMERICAN HONDA MOTOR CO., INC.
  10. Use an ohmmeter to check for continuity between the segments of the commutator. If there is an open circuit between any segments, replace the armature.
    Fig 8: Checking For Continuity Between Segments Of Commutator Using Ohmmeter
    G08078421Courtesy of AMERICAN HONDA MOTOR CO., INC.
  11. Place the armature (A) on an armature tester (B). Hold a hacksaw blade (C) on the armature core. If the blade is attracted to the core while the core is turned, the armature is shorted. Replace the armature.
    Fig 9: Checking Armature Core For Shorted Using Armature Tester And Hacksaw Blade
    G08078422Courtesy of AMERICAN HONDA MOTOR CO., INC.
  12. Use an ohmmeter to check for continuity between the commutator (A) and the armature coil core (B), and between the commutator and the armature shaft (C). If there is continuity, replace the armature.
    Fig 10: Checking Continuity Between Commutator And Armature Coil Core And Armature Shaft Using Ohmmeter
    G08078423Courtesy of AMERICAN HONDA MOTOR CO., INC.

    Overrunning Clutch Inspection 

  13. Slide the overrunning clutch (A) along the shaft. Replace it if it does not slide smoothly.
    Fig 11: Sliding Overrunning Clutch Along Shaft
    G08078424Courtesy of AMERICAN HONDA MOTOR CO., INC.
  14. Hold the overrunning clutch (A), and turn the drive gear (B) in the direction shown in illustration to make sure it turns freely. Also make sure the drive gear locks in the opposite direction. If it does not lock, replace the overrunning clutch assembly.
    Fig 12: Replacing Overrunning Clutch Assembly
    G08078425Courtesy of AMERICAN HONDA MOTOR CO., INC.
  15. If the starter drive gear is worn or damaged, replace the overrunning clutch assembly; the gear is not available separately. Check the condition of the torque converter ring gear. Replace it if the starter drive gear teeth are damaged.

    Starter Brush Inspection 

  16. Measure the brush length. If it is shorter than the service limit, replace the brush holder assembly.

    Brush Length 

    Standard (New): 15.0-16.0 mm (0.591 -0.630 in) 

    Service Limit: 9.0 mm (0.354 in) 

    Fig 13: Measuring Brush Length
    G08078426Courtesy of AMERICAN HONDA MOTOR CO., INC.

    Starter Brush Holder Test 

  17. Check for continuity between the (+) brush holders (A) and the (-) brush holders (B). If there is continuity, replace the brush holder assembly.
    Fig 14: Identifying (+) Brush Holders And (-) Brush Holders
    G08078427Courtesy of AMERICAN HONDA MOTOR CO., INC.

    Brush Spring Inspection 

  18. Insert the brush (A) into the brush holder, and bring the brush into contact with the commutator, then attach a spring scale (B) to the spring (C). Measure the spring tension at the moment the spring lifts off the brush. If it is not within the standard, replace the brush holder assembly.

    Spring Tension 

    Standard (New): 22.26-27.26 N (2.27-2.78 kgf, 5.00-6.13 lbf) 

    Fig 15: Measuring Spring Tension At Moment Spring Lifts Off Brush
    G08078428Courtesy of AMERICAN HONDA MOTOR CO., INC.

    Planetary Gear Inspection 

  19. Check the planetary gears (A), the armature shaft gear (B), and the internal ring gear (C). Replace them if they are worn or damaged.
    Fig 16: Identifying Planetary Gears, Armature Shaft Gear And Internal Ring Gear
    G08078429Courtesy of AMERICAN HONDA MOTOR CO., INC.

    Starter Reassembly 

  20. Install the armature housing (A) and the armature (B) by aligning the slotted point (C) to the projection (D).
    Fig 17: Identifying Armature Housing, Armature, Aligning Slotted Point
    G08078430Courtesy of AMERICAN HONDA MOTOR CO., INC.
  21. Pry back each brush spring with a screwdriver, then position the brush on the brush holder about halfway out of its holder. Release the spring to hold it in place.
    NOTE: To seat the new brushes. Slip a strip of #500 or #600 sandpaper, with the grit side up, between the commutator and each brush, and smoothly turn the armature. The contact surface of the brushes will be sanded to the same contour as the commutator.
    Fig 18: Seating Brushes
    G08078431Courtesy of AMERICAN HONDA MOTOR CO., INC.
  22. Install the brush holder assembly. Next pry back each brush spring again, and push each brush down until it seats against the commutator, then release the spring against the end of the brush.
    Fig 19: Installing Brush Holder Assembly
    G08078432Courtesy of AMERICAN HONDA MOTOR CO., INC.
  23. Install the end cover to retain the brush holder.
    Fig 20: Installing End Cover To Retain Brush Holder With Torque Specifications
    G08078433Courtesy of AMERICAN HONDA MOTOR CO., INC.
  24. Install the starter (see STARTER REMOVAL AND INSTALLATION  ).