LEMON Manuals: Even more car manuals for everyone: 1960-2025
Home >> Honda >> 2021 >> Clarity Plug-In Hybrid >> Repair and Diagnosis >> Engine Performance >> Engine Control Systems >> Engine Control System / Engine Mechanical - Service Information (Plug-In) >> Overhaul >> Engine Block >> Inspection
April 5, 2026: LEMON Manuals is launched! Read the announcement.

Engine Block: Inspection

Connecting Rod and Crankshaft End Play Inspection 

  1. Connecting Rod End Play - Inspect

    1. Measure the connecting rod end play with a feeler gauge (A) between the connecting rod (B) and the crankshaft (C).

    Connecting Rod End Play 

    Standard (New):  0.15-0.35 mm (0.0059-0.0138 in) 
    Service Limit:  0.45 mm (0.0177 in) 
    GHH418352Courtesy of HONDA, U.S.A., INC.

    2. If the connecting rod end play is beyond the service limit, install a new connecting rod, and recheck. If it is still beyond the service limit, replace the crankshaft.

  2. Crankshaft End Play - Inspect

    1. Push the crankshaft firmly away from the dial indicator by prying, and zero the dial against the end of the crankshaft. Then pull the crankshaft firmly back toward the indicator by prying; the dial reading should not exceed the service limit.

    Crankshaft End Play 

    Standard (New):  0.10-0.35 mm (0.0039-0.0138 in) 
    Service Limit:  0.45 mm (0.0177 in) 
    GHH418353Courtesy of HONDA, U.S.A., INC.

    2. If the end play is beyond the service limit, replace the thrust washers, and recheck. If it is still beyond the service limit, replace the crankshaft.

    Main Bearing Clearance Inspection 

  3. Crankshaft Main Bearing Cap and Bearing Half - Remove
  4. Crankshaft Main Bearing Clearance - Inspect
    Fig 1: Crankshaft Main Bearing Tightening Sequence
    GHH418354Courtesy of HONDA, U.S.A., INC.
    1. Clean each main journal and main bearing half with a clean shop towel.

    2. Place one strip of plastigage across each main journal.

    3. Reinstall the main bearings and the main bearing caps, then torque the main bearing cap bolts to 30 N.m (3.1 kgf.m, 22 lbf.ft) in the proper sequence.

    • NOTE:  Apply new engine oil to the bolt threads and flanges.
    • Do not rotate the crankshaft during inspection.

    4. Tighten the bearing cap bolts in the number sequence shown as the table below.

    No. 1, 2, 4, and 5 journals:  22 deg. 
    No. 3 journal:  32 deg. 
    GHH418355Courtesy of HONDA, U.S.A., INC.
    5. Remove the main bearing caps, and the main bearing halves, and measure the widest part of the plastigage.

    Main Bearing-to-Journal Oil Clearance 

    6. If the plastigage measures too wide or too narrow, remove the crankshaft, and remove the upper half of the main bearing. Install a new, complete main bearing with the same color code, and recheck the clearance. Do not file, shim, or scrape the main bearings or the main bearing caps to adjust clearance.

    7. If the plastigage shows the clearance is still incorrect, try the next larger or smaller main bearing (the color listed above or below that one), and check the clearance again. If the proper clearance cannot be obtained by using the appropriate larger or smaller main bearings, replace the crankshaft and start over.

    Standard (New):  0.018-0.036 mm (0.00071-0.00142 in) 
    Service Limit:  0.050 mm (0.00197 in) 
  5. Crankshaft Main Bearing - Select
    Block Bore Code Locations 
    GHH418356Courtesy of HONDA, U.S.A., INC.
    1. Numbers, letters, or bars have been stamped on the end of the engine block as a code for the size of each of the five main journal bores. Use them, and the numbers stamped on the crankshaft (codes for main journal size), to choose the correct main bearings.

    NOTE:  If the codes are indecipherable because of an accumulation of dirt and dust, do not scrub them with a wire brush or scraper. Clean them only with solvent or detergent.

    Main Journal Code Locations 
    GHH418357Courtesy of HONDA, U.S.A., INC.
    2. The main journal codes are stamped on the crankshaft in either location.
    Bearing Identification 
    GHH418358Courtesy of HONDA, U.S.A., INC.
    3. Use the block bore codes and the main journal codes to select the appropriate replacement main bearings from the following table.
    • NOTE:  Color code is on the edge of the bearing.
    • When using bearing halves of different colors, it does not matter which color is used in the top or bottom.

    Connecting Rod Bearing Clearance Inspection 

  6. Connecting Rod Cap and Bearing Half - Remove
  7. Connecting Rod Bearing Clearance - Inspect
    GHH418359Courtesy of HONDA, U.S.A., INC.
    1. Clean the connecting rod journal and the connecting rod bearing half with a clean shop towel.

    2. Place one strip of plastigage across the rod journal.

    3. Line up the mark (A) on the connecting rod and the connecting rod cap (B), then reinstall the connecting rod bearing half (C), the connecting rod cap, and the connecting rod bolts (D) finger-tight.

    • NOTE:  Apply new engine oil to the bolt threads and flanges.
    • Do not rotate the crankshaft during inspection.

    4. Torque the connecting rod bolts to 10 N.m (1.0 kgf.m, 7 lbf.ft).

    GHH418360Courtesy of HONDA, U.S.A., INC.
    5. Tighten the connecting rod bolts an additional 90 deg..

    6. Remove the connecting rod cap and the connecting rod bearing half, and measure the widest part of the plastigage.

    Connecting Rod Bearing-to-Journal Oil Clearance 

    Standard (New):  0.020-0.038 mm (0.00079-0.00150 in) 
    Service Limit:  0.038 mm (0.00150 in) 
    GHH418361Courtesy of HONDA, U.S.A., INC.

    7. If the plastigage measures too wide or too narrow, remove the upper half of the connecting rod bearing. Install a new, complete connecting rod bearing with the same color code, and recheck the clearance. Do not file, shim, or scrape the connecting rod bearings or the connecting rod caps to adjust clearance.

    8. If the plastigage shows the clearance is still incorrect, try the next larger or smaller connecting rod bearing (the color listed above or below that one), and check the clearance again. If the proper clearance cannot be obtained by using the appropriate larger or smaller connecting rod bearing, replace the crankshaft and start over.

  8. Connecting Rod Bearing - Select
    Connecting Rod Big End Bore Code Locations 
    GHH418362GHH418363GHH418364Courtesy of HONDA, U.S.A., INC.HONDA, U.S.A., INC.HONDA, U.S.A., INC.

    Connecting Rod Journal Code Locations 

    GHH418362GHH418363GHH418364Courtesy of HONDA, U.S.A., INC.HONDA, U.S.A., INC.HONDA, U.S.A., INC.

    Bearing Identification 

    GHH418362GHH418363GHH418364Courtesy of HONDA, U.S.A., INC.HONDA, U.S.A., INC.HONDA, U.S.A., INC.
    1. Inspect each connecting rod for cracks and heat damage.

    2. Numbers have been stamped on the side of each connecting rod as a code for the size of the big end. Use them, and the letters stamped on the crank (codes for rod journal size), to choose the correct connecting rod bearings.

    • NOTE:  If the codes are indecipherable because of an accumulation of dirt and dust, do not scrub them with a wire brush or scraper. Clean them only with solvent or detergent.
    • Each connecting rod falls into one of four tolerance ranges (from 0 to 0.024 mm (0.00095 in), in 0.006 mm (0.00024 in) increments) depending on the size of its big end bore. It's then stamped with a number (1, 2, 3, or 4) indicating the range. You may find any combination of 1, 2, 3, or 4 in any engine.

    3. Use the big end bore codes and the connecting rod journal codes to select appropriate replacement connecting rod bearings from the following table.

    • NOTE:  Color code is on the edge of the bearing.
    • When using bearing halves of different colors, it does not matter which color is used in the top or bottom.
    Big End Bore Size:  43.0 mm (1.693 in) 

    Crankshaft Inspection 

  9. Crankshaft - Inspect
    GHH418365Courtesy of HONDA, U.S.A., INC.
    Journal Out-of-Round and Journal Taper 

    1. Clean the crankshaft oil passages with pipe cleaners or a suitable brush.

    2. Check the keyway slot and the threaded holes for damage.

    3. Measure the out-of-round at the middle of each rod and main journal in two places. The difference between measurements on each journal must not be more than the service limit.

    Journal Out-of-Round 

    4. Measure the taper at the edges of each rod and the main journal. The difference between measurements on each journal must not be more than the service limit.

    Journal Taper 

    Standard (New):  0.005 mm (0.00020 in) max. 
    Service Limit:  0.010 mm (0.00039 in) 
    Standard (New):  0.005 mm (0.00020 in) max. 
    Service Limit:  0.010 mm (0.00039 in) 
    GHH418366Courtesy of HONDA, U.S.A., INC.
    Straightness 

    5. Place the V-blocks on a flat surface.

    6. Check the total runout with the crankshaft supported on V-blocks.

    7. Measure the runout on all of the main journals. Rotate the crankshaft two complete revolutions. The difference between measurements on each main journal must not be more than the service limit.

    Crankshaft Total Runout 

    Standard (New):  0.03 mm (0.0012 in) max. 
    Service Limit:  0.04 mm (0.0016 in) 

    Piston, Ring, Pin, and Connecting Rod Inspection 

  10. Piston Ring End Gap - Inspect

    1. Using a piston, push a new ring (A) into the cylinder bore 15-20 mm (0.59-0.79 in) from the bottom.

    GHH418367Courtesy of HONDA, U.S.A., INC.

    2. Measure the piston ring end-gap (B) with a feeler gauge:

    • If the gap is too small, check to see if you have the proper rings for your engine.
    • If the gap is too large, recheck the cylinder bore diameter against the wear limits. If the bore is beyond the service limit, the engine block must be rebored.

    Piston Ring End-Gap 

    Top Ring 
    Standard (New):  0.150-0.200 mm (0.00591-0.00787 in) 
    Service Limit:  0.60 mm (0.0236 in) 
    Second Ring 
    Standard (New):  0.30-0.42 mm (0.0118-0.0165 in) 
    Service Limit:  0.65 mm (0.0256 in) 
    Oil Ring 
    Standard (New):  0.10-0.40 mm (0.0039-0.0157 in) 
    Service Limit:  0.80 mm (0.0315 in) 
  11. Piston Pin - Inspect
    GHH418368Courtesy of HONDA, U.S.A., INC.
    1. Measure the diameter of the piston pin.

    Piston Pin Diameter 

    Standard (New):  17.960-17.964 mm (0.70709-0.70724 in) 
    Service Limit:  17.960 mm (0.70709 in) 
    GHH418369Courtesy of HONDA, U.S.A., INC.
    2. Zero the dial indicator (A) to the piston pin diameter.

    3. Check the difference between the piston pin diameter and the piston pin hole diameter in the piston.

    Piston Pin-to-Piston Clearance 

    Standard (New):  -0.004-0.003 mm (-0.00016-0.00012 in) 
    Service Limit:  0.006 mm (0.00024 in) 
    GHH418370Courtesy of HONDA, U.S.A., INC.
    GHH418371Courtesy of HONDA, U.S.A., INC.
    4. Measure the piston pin-to-connecting rod clearance.

    Piston Pin-to-Connecting Rod Clearance 

    Standard (New):  0.005-0.015 mm (0.00020-0.00059 in) 
    Service Limit:  0.020 mm (0.00079 in) 
  12. Piston Ring-to-Piston Ring Groove Clearance - Inspect

    1. After installing a new set of rings, measure the ring-to-groove clearances.

    Ring-to-Groove Clearance 

    Top Ring 
    Standard (New):  0.045-0.070 mm (0.00177-0.00276 in) 
    Service Limit:  0.130 mm (0.00512 in) 
    Second Ring 
    Standard (New):  0.035-0.060 mm (0.00138-0.00236 in) 
    Service Limit:  0.120 mm (0.00472 in) 
    GHH418372Courtesy of HONDA, U.S.A., INC.
    GHH418373Courtesy of HONDA, U.S.A., INC.

    Block and Piston Inspection 

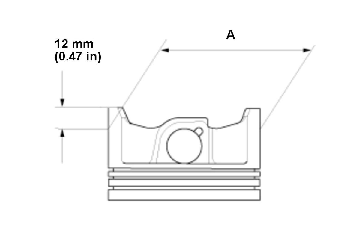
  13. Block and Piston - Inspect
    GHH418374GHH418375Courtesy of HONDA, U.S.A., INC.HONDA, U.S.A., INC.
    GHH418374GHH418375Courtesy of HONDA, U.S.A., INC.HONDA, U.S.A., INC.
    1. Check the piston for distortion or cracks.

    2. Measure the piston skirt diameter (A) at a point 12 mm (0.47 in) from the bottom of the skirt.

    Piston Diameter 

    Standard (New):  72.980-72.987 mm (2.87322-2.87350 in) 
    Service Limit:  72.970 mm (2.87283 in) 
    GHH418376Courtesy of HONDA, U.S.A., INC.
    3. Measure the wear and taper in direction X and Y at three levels in each cylinder as shown. If the measurements in any cylinder are beyond the Oversize Bore Service Limit, replace the engine block. If the engine block is being rebored, check the piston-to-cylinder bore clearance.

    Cylinder Bore Size 

    Bore Taper 

    4. Hone any cored or scratched cylinder bores if needed.

    Limit:  (Difference between first and third measurement) 0.050 mm (0.00197 in) 
    Standard (New): 
    Direction X:  73.000-73.020 mm (2.87401-2.87480 in) 
    Direction Y:  73.003-73.015 mm (2.87413-2.87460 in) 
    Service Limit:  73.065 mm (2.87657 in) 
    GHH418377Courtesy of HONDA, U.S.A., INC.
    5. Calculate the difference between the cylinder bore diameter and the piston diameter. If the clearance is near or exceeds the service limit, inspect the piston and the engine block for excessive wear.

    Piston-to-Cylinder Clearance 

    Standard (New):  0.016-0.035 mm (0.00063-0.00138 in) 
    Service Limit:  0.050 mm (0.00197 in) 
    GHH418378GHH418379Courtesy of HONDA, U.S.A., INC.HONDA, U.S.A., INC.
    GHH418378GHH418379Courtesy of HONDA, U.S.A., INC.HONDA, U.S.A., INC.
    6. Check the top of the engine block for warpage. Measure along the edges and across the center as shown.

    Engine Block Warpage 

    Standard (New):  0.07 mm (0.0028 in) max.