LEMON Manuals: Even more car manuals for everyone: 1960-2025
Home >> Honda >> 2021 >> Pilot Elite >> Repair and Diagnosis (Single Page) >> Body & Frame >> Door Locks >> Security System Keyless Entry System - Testing & Troubleshooting (1 Of 2) >> System Description >> Keyless Access - Control/Function >> Smart Entry Function
April 5, 2026: LEMON Manuals is launched! Read the announcement.

Smart Entry Function

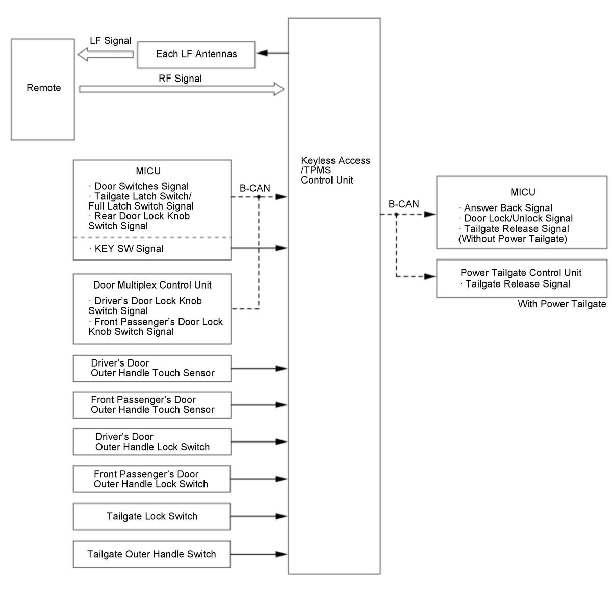
The keyless access/TPMS control unit detects the input signal of the door outer handle touch sensors, the door outer handle lock switches, the tailgate outer handle switch, and the tailgate lock switch, and authenticates 2-way communication with the remote. Then the keyless access/TPMS control unit sends a door lock/unlock signal, a tailgate release signal, and an answer back signal to the MICU via the B-CAN.

Refer to the symptom troubleshooting information for the pattern of indicator and the checking method of the system.

Keyless Access System Symptom Troubleshooting Information (2016 2017 2018)  or

Keyless Access System Symptom Troubleshooting Information (2019 2020 2021) 

GHH312245Courtesy of HONDA, U.S.A., INC.