LEMON Manuals: Even more car manuals for everyone: 1960-2025
Home >> Honda >> 2021 >> Ridgeline RTL, FWD >> Repair and Diagnosis >> Body & Frame >> Door Locks >> Keyless Access System - Testing & Troubleshooting >> Connector View >> Keyless Access/TPMS Control Unit Connector for Inputs and Outputs (2017 2018 2019)
April 5, 2026: LEMON Manuals is launched! Read the announcement.

Keyless Access/TPMS Control Unit Connector for Inputs and Outputs (2017 2018 2019)

Connector Index
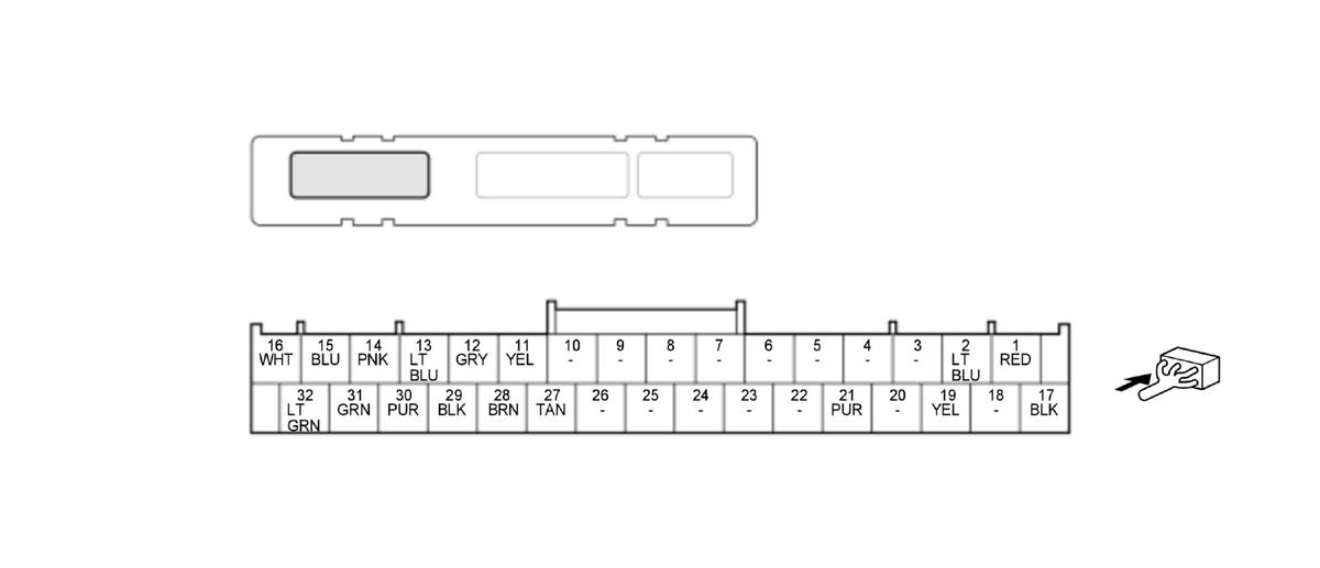
KEYLESS ACCESS/TPMS CONTROL UNIT CONNECTOR A (32P)
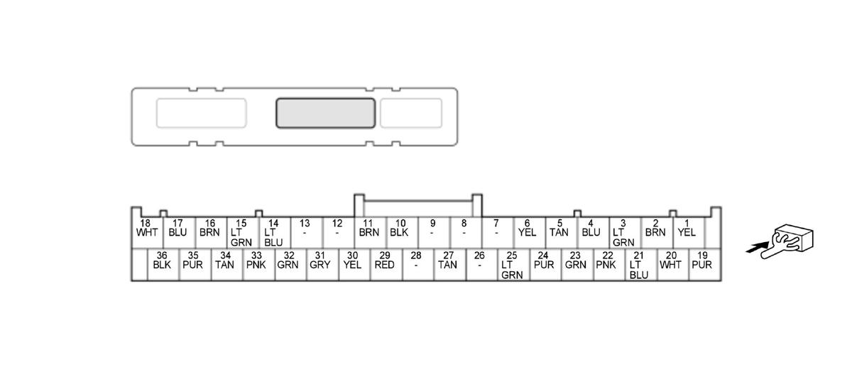
KEYLESS ACCESS/TPMS CONTROL UNIT CONNECTOR B (36P)
KEYLESS ACCESS/TPMS CONTROL UNIT CONNECTOR C (20P)

KEYLESS ACCESS/TPMS CONTROL UNIT CONNECTOR A (32P) (female terminals) 

GHH459495Courtesy of HONDA, U.S.A., INC.
Terminal number Terminal name Description Signal
1 +B SMART +B power source About battery voltage at all times
2 KEY SW Outputs KEY SW signal With vehicle in OFF (LOCK) mode: about battery voltage

With vehicle in ACCESSORY or ON mode: less than 0.2 V

3 --- Not used ---
4 --- Not used ---
5 --- Not used ---
6 --- Not used ---
7 --- Not used ---
8 --- Not used ---
9 --- Not used ---
10 --- Not used ---
11 RR INT LF+ Detects rear interior LF antenna signal ---
12 FR WHEEL LF+ Detects right-front LF antenna/initiator signal ---
13 FL WHEEL LF+ Detects left-front LF antenna/initiator signal ---
14 FR INT LF+ Detects front interior LF antenna signal ---
15 RR WHEEL LF+ Detects right-rear LF antenna/initiator signal ---
16 RL WHEEL LF+ Detects left-rear LF antenna/initiator signal ---
17 SGND Keyless access/TPMS control unit ground Less than 0.2 V at all times

*: With keyless access function

Terminal number Terminal name Description Signal
18 --- Not used ---
19* VOUT FRDR Drives driver's door outer handle touch sensor ---
20 --- Not used ---
21* VOUT FRAS Drives front passenger's door outer handle touch sensor ---
22 --- Not used ---
23 --- Not used ---
24 --- Not used ---
25 --- Not used ---
26 --- Not used ---
27 RR INT LF- Detects rear interior LF antenna signal ---
28 FR WHEEL LF- Detects right-front LF antenna/initiator signal ---
29 FL WHEEL LF- Detects left-front LF antenna/initiator signal ---
30 FR INT LF- Detects front interior LF antenna signal ---
31 RR WHEEL LF- Detects right-rear LF antenna/initiator signal ---
32 RL WHEEL LF- Detects left-rear LF antenna/initiator signal ---

*: With keyless access function

KEYLESS ACCESS/TPMS CONTROL UNIT CONNECTOR B (36P) (female terminals) 

GHH459496Courtesy of HONDA, U.S.A., INC.
Terminal number Terminal name Description Signal
1 PARKING SW Detects parking brake switch signal With parking brake switch ON: less than 0.2 V

With parking brake switch OFF: about battery voltage

2* ESL SW D Detects electric steering lock (ESL SW D) signal ---
3* ESL SW B Detects electric steering lock (ESL SW B) signal ---
4* ESL SW C Detects electric steering lock (ESL SW C) signal ---

*: With electric steering lock

Terminal number Terminal name Description Signal
5* MTR CUT1 Detects electric steering lock (MTR CUT1) signal ---
6* MTR CUT2 Detects electric steering lock (MTR CUT2) signal ---
7 --- Not used ---
8 --- Not used ---
9 --- Not used ---
10 SS1+ Detects engine start/stop switch (SS1+) signal With engine start/stop switch pressed: about battery voltage
11 SS2- Detects engine start/stop switch (SS2-) signal ---
12 --- Not used ---
13 --- Not used ---
14 IG1 REM Outputs engine remote start signal With engine remote start operation: about battery voltage
15 ACC RLY CL Drives ACC relay circuit With vehicle in ACCESSORY or ON mode: about battery voltage
16 IG2 RLY CL Drives IG2 relay circuit With vehicle in ON mode: about battery voltage
17 IG1 RLY CL Drives IG1A/B relay With vehicle in ON mode: about battery voltage
18 +B BACKUP +B power source About battery voltage at all times
19 STOP SW Detects brake pedal position switch signal With brake pedal pressed: about battery voltage

With brake pedal released: less than 0.2 V

20 DCK Communication line ---
21 DIN/DOUT Communication line ---
22 SW ILL2 Detects engine start/stop switch illumination signal About 0V-battery voltage (depending on engine start/stop switch illumination brightness)
23 SW ILL1 Detects engine start/stop switch illumination signal About 0V-battery voltage (depending on engine start/stop switch illumination brightness)
24 VCONT Drives engine start/stop switch ---
25 SSB GND Ground for engine start/stop switch Less than 0.2 V at all times
26 --- Not used ---
27 IG2-MAIN IG2 power source With vehicle in ON mode: about battery voltage
28 --- Not used ---
29 IG1B FBK IG1 power source With vehicle in ON mode: about battery voltage
30 IG1A FBK IG1 power source With vehicle in ON mode: about battery voltage
31* MTR CONT Detects electric steering lock (MTR CONT) signal ---
32 STS Outputs engine starting signal With engine starting request: about battery voltage
33* ESL PWR Drives electric steering lock With electric steering lock operation: about battery voltage
34 IG1 VSA IG1 power source With vehicle in ON or START mode: about battery voltage
35 SMART RLY GND Ground for IG1A/B relay and IG2/ACC relay circuit Less than 0.2 V at all times
36 SGND Keyless access/TPMS control unit ground Less than 0.2 V at all times

*: With electric steering lock

KEYLESS ACCESS/TPMS CONTROL UNIT CONNECTOR C (20P) (female terminals) 

GHH459497Courtesy of HONDA, U.S.A., INC.
Terminal number Terminal name Description Signal
1 B-CAN_H Communication line ---
2 F-CAN_H Communication line ---
3* 1 IGN TRX Communication line ---
4 K-LINE Communication line ---
5 S-NET Communication line ---
6 L-LINE Communication line ---
7 --- Not used ---
8 --- Not used ---
9 P-PIN SW Detects park pin switch signal With P position/mode: less than 0.2 V

With select lever knob switch pressed or without P position/mode: about battery voltage

10 ATP-P Detects transmission range switch (P) signal With P position/mode: less than 0.2 V

Without P position/mode: about battery voltage

11 B-CAN_L Communication line ---
12 F-CAN_L Communication line ---
13* 2 DL FRAS Detects front passenger's door outer handle lock switch signal ---
14* 2 DL FRDR Detects driver's door outer handle lock switch signal ---
15* 2 TS FRDR Detects driver's door outer handle touch sensor signal ---
16 TRUNK HANDLE SW Detects in-bed trunk lid outer handle switch signal ---
17* 2 TS FRAS Detects front passenger's door outer handle touch sensor signal ---
18 --- Not used ---
19 --- Not used ---
20 --- Not used ---

*1: With electric steering lock

*2: With keyless access function