LEMON Manuals: Even more car manuals for everyone: 1960-2025
Home >> Hummer >> 2003 >> H2 >> Repair and Diagnosis >> Body & Frame >> Seats >> Repair Instructions >> Memory Seat Control Module Replacement >> Installation Procedure
April 5, 2026: LEMON Manuals is launched! Read the announcement.

Installation Procedure

    Fig 1: Removing/Installing Memory Module
    GM381489Courtesy of GENERAL MOTORS CORP.
  1. Slide the module in until seated.
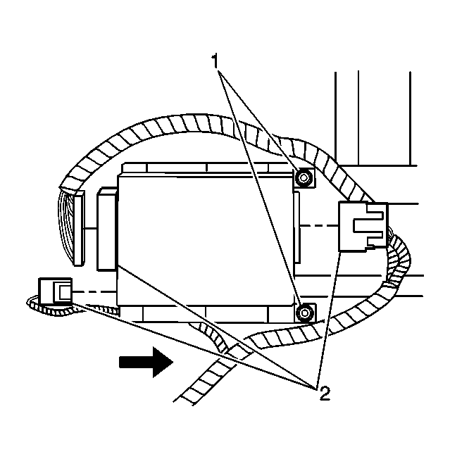
  2. Fig 2: Locating Memory Module Harness Connectors & Retaining Screws
    GM378544Courtesy of GENERAL MOTORS CORP.
    NOTE: Refer to Fastener Notice in Cautions and Notices.
  3. Install the memory module retaining screws (1).

    Tighten:  Tighten the screws to 3 N.m (26 lb in).

  4. Connect the harness connectors (2).
  5. Install the seat cushion. Refer to Seat Cushion Frame Replacement - Front .
  6. Install the seat trim panel. Refer to Trim Panel Replacement - Front Seat .
  7. If a new memory seat module is installed, the seat needs to be synchronized:
    1. Operate the seat in all directions:
      • Front tilt
      • Rear tilt
      • Horizontal
      • Recline
    2. If the seat stops part way due to programmed soft stop, release the switch and operate again in the same direction till the seat touches the mechanical stop
    3. Repeat the above for all seat moving axes.