LEMON Manuals: Even more car manuals for everyone: 1960-2025
Home >> Hummer >> 2003 >> H2 >> Repair and Diagnosis >> External Pages >> Different car >> Section 565 (Lighting Systems) >> Component Locator >> Lighting Systems Connector End Views
April 5, 2026: LEMON Manuals is launched! Read the announcement.

Lighting Systems Connector End Views

WARNING: This page is about a different car, the 2004 Hummer H2. However, it is still accessible from the selected car via links, so may be relevant.
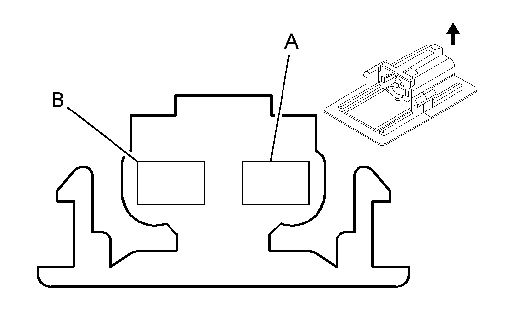
Backup Lamp Terminal Identification - Left

GM882584Courtesy of GENERAL MOTORS CORP.
Connector Part Information
  • 0001035
  • 2-Way F CE-F29.14-5A Series (GY)
Pin Wire Color Circuit No. Function
A GY 24 Backup Lamp Supply Voltage
B GY/BK 1750 Ground
Backup Lamp Terminal Identification - Right

GM882584Courtesy of GENERAL MOTORS CORP.
Connector Part Information
  • 0001035
  • 2-Way F CE-F29.14-5A Series (GY)
Pin Wire Color Circuit No. Function
A GY 24 Backup Lamp Supply Voltage
B GY/BK 1750 Ground
Center High Mounted Stop Lamp (CHMSL) Terminal Identification

GM35441Courtesy of GENERAL MOTORS CORP.
Connector Part Information
  • 12047663
  • 2-Way M Metri-Pack 150 Series (BK)
Pin Wire Color Circuit No. Function
A L-BU 1620 Trailer CHMSL Supply Voltage
B BK 1450 Ground
Clearance Lamp Terminal Identification - LF

GM35441Courtesy of GENERAL MOTORS CORP.
Connector Part Information
  • 12047663
  • 2-Way M Metri-Pack 150 Series (BK)
Pin Wire Color Circuit No. Function
A BN 2409 Interior Park Lamps Supply Voltage
B BK 1050 Ground
Clearance Lamp Terminal Identification - LR

GM35441Courtesy of GENERAL MOTORS CORP.
Connector Part Information
  • 12047663
  • 2-Way M Metri-Pack 150 Series (BK)
Pin Wire Color Circuit No. Function
A BN 2409 Interior Park Lamps Supply Voltage
B BK 1450 Ground
Clearance Lamp Terminal Identification - RF

GM35441Courtesy of GENERAL MOTORS CORP.
Connector Part Information
  • 12047663
  • 2-Way M Metri-Pack 150 Series (BK)
Pin Wire Color Circuit No. Function
A BN 2409 Interior Park Lamps Supply Voltage
B BK 1050 Ground
Clearance Lamp Terminal Identification - RR

GM35441Courtesy of GENERAL MOTORS CORP.
Connector Part Information
  • 12047663
  • 2-Way M Metri-Pack 150 Series (BK)
Pin Wire Color Circuit No. Function
A BN 2409 Interior Park Lamps Supply Voltage
B BK 1450 Ground
Courtesy Lamp Terminal Identification - Left B Pillar

GM258620Courtesy of GENERAL MOTORS CORP.
Connector Part Information
  • 12162222
  • 2-Way Metri-Pack 150.2 Series Sealed Pull To Seat (WH)
Pin Wire Color Circuit No. Function
A GY/BK 690 Courtesy Lamp Supply Voltage
B BK 1150 Ground
Courtesy Lamp Terminal Identification - Left Front Door

GM82383Courtesy of GENERAL MOTORS CORP.
Connector Part Information
  • 12047662
  • 2-Way F Metri-Pack 150 Series (BK)
Pin Wire Color Circuit No. Function
A D-BU/WH 149 Courtesy Lamp Supply Voltage
B D-BU 660 Left Courtesy Lamp Control
Courtesy Lamp Terminal Identification - Left Rear Door

GM82383Courtesy of GENERAL MOTORS CORP.
Connector Part Information
  • 12047662
  • 2-Way F Metri-Pack 150 Series (BK)
Pin Wire Color Circuit No. Function
A GY/BK 690 Courtesy Lamp Supply Voltage
B BK 1150 Ground
Courtesy Lamp Terminal Identification - Right B Pillar

GM258620Courtesy of GENERAL MOTORS CORP.
Connector Part Information
  • 12162222
  • 2-Way Metri-Pack 150.2 Series Sealed Pull To Seat (WH)
Pin Wire Color Circuit No. Function
A GY/BK 690 Courtesy Lamp Supply Voltage
B BK 1250 Ground
Courtesy Lamp Terminal Identification - Right Front Door

GM82383Courtesy of GENERAL MOTORS CORP.
Connector Part Information
  • 12047662
  • 2-Way F Metri-Pack 150 Series (BK)
Pin Wire Color Circuit No. Function
A WH 156 Courtesy Lamp Supply Voltage
B L-BU 661 Right Courtesy Lamp Control
Courtesy Lamp Terminal Identification - Right Rear Door

GM82383Courtesy of GENERAL MOTORS CORP.
Connector Part Information
  • 12047662
  • 2-Way F Metri-Pack 150 Series (BK)
Pin Wire Color Circuit No. Function
A GY/BK 690 Courtesy Lamp Supply Voltage
B BK 1250 Ground
Courtesy/Reading Lamp Terminal Identification - Center

GM333035Courtesy of GENERAL MOTORS CORP.
Connector Part Information
  • 12047781
  • 3-Way F Metri-Pack 150 Series (BK)
Pin Wire Color Circuit No. Function
A GY/BK 690 Courtesy Lamp Supply Voltage
B BK 1050 Ground
C OG 1732 Inadvertent Load Control Courtesy Lamps Supply Voltage
Courtesy/Reading Lamps Terminal Identification - Left Front

GM333035Courtesy of GENERAL MOTORS CORP.
Connector Part Information
  • 12047781
  • 3-Way F Metri-Pack 150 Series (BK)
Pin Wire Color Circuit No. Function
A GY/BK 690 Courtesy Lamp Supply Voltage
B BK 1050 Ground
C OG 1732 Inadvertent Power Courtesy Lamps Supply Voltage
Courtesy/Reading Lamps Terminal Identification - Right Front

GM333035Courtesy of GENERAL MOTORS CORP.
Connector Part Information
  • 12047781
  • 3-Way F Metri-Pack 150 Series (BK)
Pin Wire Color Circuit No. Function
A GY/BK 690 Courtesy Lamp Supply Voltage
B BK 1050 Ground
C OG 1732 Inadvertent Power Courtesy Lamps Supply Voltage
Courtesy/Reading Lamp Terminal Identification - Rear

GM333035Courtesy of GENERAL MOTORS CORP.
Connector Part Information
  • 12047781
  • 3-Way F Metri-Pack 150 Series (BK)
Pin Wire Color Circuit No. Function
A GY/BK 690 Courtesy Lamp Supply Voltage
B BK 1050 Ground
C OG 1732 Inadvertent Power Courtesy Lamps Supply Voltage
Daytime Running Lamp (DRL) Terminal Identification - Left

GM845635Courtesy of GENERAL MOTORS CORP.
Connector Part Information
  • 15409404
  • 3-Way F SLD Delphi Packard (BK)
Pin Wire Color Circuit No. Function
1 BK 150 Ground
2 - - Plugged
3 D-BU 545 DRL Supply Voltage
Daytime Running Lamp (DRL) Terminal Identification - Right

GM845635Courtesy of GENERAL MOTORS CORP.
Connector Part Information
  • 15409404
  • 3-Way SLD Delphi Packard (BK)
Pin Wire Color Circuit No. Function
1 BK 150 Ground
2 - - Plugged
3 D-BU 545 DRL Supply Voltage
Door Latch Assembly Terminal Identification - Driver

GM845631Courtesy of GENERAL MOTORS CORP.
Connector Part Information
  • 10768367
  • 10-Way F AMP SLD (BK)
Pin Wire Color Circuit No. Function
1 - - Not Used
2 TN 294 Door Lock Actuator Unlock Control
3 GY 295 Door Lock Actuator Lock Control
4-5 - - Not Used
6 GY/BK 745 Left Front Door Ajar Switch Signal
7 - - Not Used
8 BN 1183 Left Front Door Switch Low Reference
9 L-GN 262 Driver Door Key Switch Signal
10 - - Not Used
Door Latch Assembly Terminal Identification - Front Passenger

GM845631Courtesy of GENERAL MOTORS CORP.
Connector Part Information
  • 10768367
  • 10-Way F AMP SLD (BK)
Pin Wire Color Circuit No. Function
1 BK/WH 746 Right Front Door Ajar Switch Signal
2 - - Not Used
3 D-GN 1178 Right Front Door Switch Low Reference
4 L-GN 265 Passenger Door Key Switch Signal
5-6 - - Not Used
7 TN 294 Door Lock Actuator Unlock Control
8 GY 295 Door Lock Actuator Lock Control
9-10 - - Not Used
Door Latch Assembly Terminal Identification - LR

GM845632Courtesy of GENERAL MOTORS CORP.
Connector Part Information
  • 10768369
  • 6-Way F AMP SLD (BK)
Pin Wire Color Circuit No. Function
1 - - Not Used
2 TN 294 Door Lock Actuator Unlock Control
3 GY 295 Door Lock Actuator Lock Control
4 L-BU/BK 747 Left Rear Door Ajar Switch Signal
5 - - Not Used
6 BK 1150 Ground
Door Latch Assembly Terminal Identification - RR

GM845632Courtesy of GENERAL MOTORS CORP.
Connector Part Information
  • 10768369
  • 6-Way F AMP SLD (BK)
Pin Wire Color Circuit No. Function
1 L-GN/BK 748 Right Rear Door Ajar Switch Signal
2 - - Not Used
3 BK 1250 Ground
4 - - Not Used
5 TN 294 Door Lock Actuator Unlock Control
6 GY 295 Door Lock Actuator Lock Control
Driver Door Module (DDM) Terminal Identification - C2

GM845629Courtesy of GENERAL MOTORS CORP.
Connector Part Information
  • 15398841
  • 26-Way F AMP Lever Assist (BK)
Pin Wire Color Circuit No. Function
1-2 - - Not Used
3 BN 1183 Left Front Door Switch Low Reference
4 D-BU 660 Left Courtesy Lamp Control
5-9 - - Not Used
10 GY 1690 Automatic Day/Night Mirror Signal
11 - - Not Used
12 PK 1691 Automatic Day/Night Mirror Low Reference
13 D-BU/WH 149 Courtesy Lamp - Left Front Door Supply Voltage
14 OG 4140 Battery Positive Voltage
15 L-GN 262 Driver Door Key Switch Signal
16-17 - - Not Used
18 GY/BK 745 Left Front Door Ajar Switch Signal
19 - - Not Used
20 TN 294 Door Lock Actuator Unlock Control
21 GY 295 Door Lock Actuator Lock Control
22 BN 1046 DDM Class 2 Serial Data
23-26 - - Not Used
Front Passenger Door Module (FPDM) Terminal Identification - C2

GM845629Courtesy of GENERAL MOTORS CORP.
Connector Part Information
  • 15398841
  • 26-Way F AMP Lever Assist (BK)
Pin Wire Color Circuit No. Function
1-4 - - Not Used
5 BK/WH 746 Right Front Door Ajar Switch Signal
6-7 - - Not Used
8 WH 156 Courtesy Lamp - Right Front Door Supply Voltage
9 - - Not Used
10 GY 295 Door Lock Actuator Lock Control
11 TN 294 Door Lock Actuator Unlock Control
12-13 - - Not Used
14 OG 4240 Battery Positive Voltage
15-18 - - Not Used
19 L-BU 661 Right Courtesy Lamp Control
20 D-GN 1178 Right Front Door Switch Low Reference
21 - - Not Used
22 TN 1047 PDM Class 2 Serial Data
23 - - Not Used
24 L-GN 265 Passenger Door Key Switch Signal
25-26 - - Not Used
Headlamp and Panel Dimmer Terminal Identification Switch

GM845611Courtesy of GENERAL MOTORS CORP.
Connector Part Information
  • 15393872
  • 14-Way F (GN)
Pin Wire Color Circuit No. Function
1 PU 328 Interior Lamp Defeat Switch Signal
2 GY/BK 308 Park Lamp Switch On Signal
3 BK/WH 1851 Ground
4 WH 103 Headlamp Switch On Signal
5 D-GN 588 DRL Switch Signal
6 BK 1050 Ground
7 PK 1348 Headlamp On Indicator Control
8 PU 359 DRL Off Indicator Switch
9 PU/WH 1382 LED Dimming Signal
10 D-BU/WH 1495 Courtesy Lamps On Signal
11 OG/BK 2090 Dimmer Potentiometer Signal
12 GY/BK 2226 Dimmer Switch Low Reference
13 GY 1056 Dimming Potentiometer 5-volt Reference
14 BN/WH 230 Instrument Panel Lamps Dimming Control
Headlamp Terminal Identification - Left

GM295492Courtesy of GENERAL MOTORS CORP.
Connector Part Information
  • 12048369
  • 3-Way F Metri-Pack 280 Series Sealed (BU)
Pin Wire Color Circuit No. Function
A YE 712 Left Headlamp Low Beam Supply Voltage
B BK 550 Ground
C D-GN/WH 711 Left Headlamp High Beam Supply Voltage
Headlamp Terminal Identification - Right

GM295492Courtesy of GENERAL MOTORS CORP.
Connector Part Information
  • 12048369
  • 3-Way F Metri-Pack 280 Series Sealed (BU)
Pin Wire Color Circuit No. Function
A TN/WH 312 Right Headlamp Low Beam Supply Voltage
B BK 150 Ground
C L-GN/BK 311 Right Headlamp High Beam Supply Voltage
I/P Compartment Terminal Identification Lamp/Switch

GM82383Courtesy of GENERAL MOTORS CORP.
Connector Part Information
  • 12047662
  • 2-Way F Metri-Pack 150 Series (BK)
Pin Wire Color Circuit No. Function
A OG 1732 Inadvertent Power Courtesy Lamps Supply Voltage
B BK 1050 Ground
Junction Block Terminal Identification - Rear - C1

GM524408Courtesy of GENERAL MOTORS CORP.
Connector Part Information
  • 15317304
  • 8-Way F GT 280 Sealed (BU)
Pin Wire Color Circuit No. Function
A L-BU 2114 Left Turn Signal Lamps Supply Voltage
B L-BU 1320 Stop Lamp Supply Voltage
C L-GN 24 Backup Lamp Supply Voltage
D BN/WH 2609 Right Rear Park Lamps Supply Voltage
E BK 1750 Ground
F - - Not Used
G BN 2509 Left Rear Park Lamps Supply Voltage
H D-BU 2115 Right Turn Signal Lamps Supply Voltage
Junction Block Terminal Identification - Rear - C2

GM814663Courtesy of GENERAL MOTORS CORP.
Connector Part Information
  • 15317305
  • 8-Way F GT 280 SLD (MD GY)
Pin Wire Color Circuit No. Function
A L-GN/BK 1750 Ground
B GY/BK 1750 Ground
C BK 1750 Ground
D RD 1320 CHMSL Supply Voltage/Stop Lamp Supply Voltage
E BU 2509 Left Rear Park Lamps Supply Voltage
F GY 24 Backup Lamp Supply Voltage
G - - Not Used
H OG 2114 Left Turn Signal Lamps Supply Voltage
Junction Block Terminal Identification - Rear - C3

GM814663Courtesy of GENERAL MOTORS CORP.
Connector Part Information
  • 15317306
  • 8-Way F GT 280 SLD (BK)
Pin Wire Color Circuit No. Function
A RD 1320 CHMSL Supply Voltage/Stop Lamp Supply Voltage
B L-BU 2609 Right Rear Park Lamps Supply Voltage
C L-GN/BK 1750 Ground
D BK 1750 Ground
E GY 24 Backup Lamp Supply Voltage
F OG 2115 Right Turn Signal Lamps Supply Voltage
G - - Not Used
H GY/BK 1750 Ground
License Lamp Terminal Identification - Left

GM68721Courtesy of GENERAL MOTORS CORP.
Connector Part Information
  • 15300027
  • 2-Way F Metri-Pack 280 Series Sealed (BK)
Pin Wire Color Circuit No. Function
A BN/WH 2509 Left License Lamp Supply Voltage
B BK 1450 Ground
License Lamp Terminal Identification - Right

GM68721Courtesy of GENERAL MOTORS CORP.
Connector Part Information
  • 15300027
  • 2-Way F Metri-Pack 280 Series Sealed (BK)
Pin Wire Color Circuit No. Function
A BN/WH 2609 Right License Lamp Supply Voltage
B BK 1450 Ground
Liftgate Ajar Switch Terminal Identification - Left

GM537107Courtesy of GENERAL MOTORS CORP.
Connector Part Information
  • 12052644
  • 2-Way F Metri-Pack 150 Series Sealed (GY)
Pin Wire Color Circuit No. Function
A BK 1450 Ground
B PK/BK 1303 Liftgate Ajar Switch Signal
Liftgate Ajar Switch Terminal Identification - Right

GM537107Courtesy of GENERAL MOTORS CORP.
Connector Part Information
  • 12052644
  • 2-Way F Metri-Pack 150 Series Sealed (GY)
Pin Wire Color Circuit No. Function
A BK 1450 Ground
B PK/BK 1303 Liftgate Ajar Switch Signal
Marker Lamp Terminal Identification - LF

GM333041Courtesy of GENERAL MOTORS CORP.
Connector Part Information
  • 12162000
  • 2-Way M Metri-Pack 150 Series (BK)
Pin Wire Color Circuit No. Function
A BN 2309 Front Park Lamps Supply Voltage
B L-BU 2114 Left Turn Signal Lamps Supply Voltage
Marker Lamp Terminal Identification - RF

GM333041Courtesy of GENERAL MOTORS CORP.
Connector Part Information
  • 12162000
  • 2-Way M Metri-Pack 150 Series (BK)
Pin Wire Color Circuit No. Function
A BN 2309 Front Park Lamps Supply Voltage
B D-BU 2115 Right Turn Signal Lamps Supply Voltage
Marker Lamp Terminal Identification - LR

GM635009Courtesy of GENERAL MOTORS CORP.
Connector Part Information
  • 12052641
  • 2-Way F Metri-Pack 150 Series (BK)
Pin Wire Color Circuit No. Function
A BN 2509 Left Rear Marker Lamp Supply Voltage
B L-BU 2114 Left Turn Signal Lamps Supply Voltage
Marker Lamp Terminal Identification - RR

GM635009Courtesy of GENERAL MOTORS CORP.
Connector Part Information
  • 12052641
  • 2-Way F Metri-Pack 150 Series (BK)
Pin Wire Color Circuit No. Function
A BN/WH 2609 Right Rear Marker Lamp Supply Voltage
B D-BU 2115 Right Turn Signal Lamps Supply Voltage
Off-Road Lamps Terminal Identification - Grille Guard (w/UNR)

GM635009Courtesy of GENERAL MOTORS CORP.
Connector Part Information
  • 12052641
  • 2-Way F Metri-Pack 150 Series (BK)
Pin Wire Color Circuit No. Function
A PU 2234 Front Off-Road Lamps Supply Voltage
B BK 1050 Ground
Off-Road Lamps Terminal Identification - Relay 1 (w/USB/USC or UNR)

GM281199Courtesy of GENERAL MOTORS CORP.
Connector Part Information
  • 871896
  • 5-Way F Sumitomo (BK)
Pin Wire Color Circuit No. Function
1 RD 122 Roof Off-Road Lamps Supply Voltage 1
2 YE 317 Off-Road Lamp Relay Control
3 - - Not Used
4 BU 316 Battery Positive Voltage
5 BK 1050 Ground
Off-Road Lamps Terminal Identification - Relay 2 (w/USB/USC or UNR)

GM281199Courtesy of GENERAL MOTORS CORP.
Connector Part Information
  • 871896
  • 5-Way F Sumitomo (BK)
Pin Wire Color Circuit No. Function
1 PU 34 Front Off-Road Lamps Supply Voltage (UNR)
PU 2234 Roof Off-Road Lamps Supply Voltage 2 (USB/USC)
2 YE 317 Off-Road Lamp Relay Control
3 - - Not Used
4 BU 316 Battery Positive Voltage
5 BK 1050 Ground
Off-Road Lamps Terminal Identification - Roof Inner (w/USB/USC)

GM635009Courtesy of GENERAL MOTORS CORP.
Connector Part Information
  • 12052641
  • 2-Way F Metri-Pack 150 Series (BK)
Pin Wire Color Circuit No. Function
A RD 122 Roof Off-Road Lamps Supply Voltage 1
B BK 1050 Ground
Off-Road Lamps Terminal Identification - Roof Outer (w/USB/USC)

GM635009Courtesy of GENERAL MOTORS CORP.
Connector Part Information
  • 12052641
  • 2-Way F Metri-Pack 150 Series (BK)
Pin Wire Color Circuit No. Function
A PU 34 Roof Off-Road Lamps Supply Voltage 2
B BK 1050 Ground
PRNDL Terminal Identification Lamp (2)

GM407137Courtesy of GENERAL MOTORS CORP.
Connector Part Information
  • 12162711
  • 2-Way W-2 Axial (BK)
Pin Wire Color Circuit No. Function
A BN/WH 230 Instrument Panel Lamps Dimming Control
B BK 1050 Ground
Park/Turn Signal Lamp Terminal Identification - LF

GM845637Courtesy of GENERAL MOTORS CORP.
Connector Part Information
  • 15409405
  • 3-Way F 3W SLD (BK)
Pin Wire Color Circuit No. Function
1 BK 150 Ground
2 BN 2309 Front Park Lamps Supply Voltage
3 L-BU 2114 Left Turn Signal Lamps Supply Voltage
Park/Turn Signal Lamp Terminal Identification - RF

GM845637Courtesy of GENERAL MOTORS CORP.
Connector Part Information
  • 15409405
  • 3-Way F 3W SLD (BK)
Pin Wire Color Circuit No. Function
1 BK 150 Ground
2 BN 2309 Front Park Lamps Supply Voltage
3 D-BU 2115 Right Turn Signal Lamps Supply Voltage
Roof Lamps Terminal Identification - Center Front (3)

GM68721Courtesy of GENERAL MOTORS CORP.
Connector Part Information
  • 15300027
  • 2-Way F Metri-Pack 280 Series Sealed (BK)
Pin Wire Color Circuit No. Function
A BN 2409 Interior Park Lamps Supply Voltage
B BK 1050 Ground
Roof Lamps Terminal Identification - Center Rear (3)

GM68721Courtesy of GENERAL MOTORS CORP.
Connector Part Information
  • 15300027
  • 2-Way F Metri-Pack 280 Series Sealed (BK)
Pin Wire Color Circuit No. Function
A BN 2409 Interior Park Lamps Supply Voltage
B BK 1450 Ground
Stop Lamp Terminal Identification Switch

GM62424Courtesy of GENERAL MOTORS CORP.
Connector Part Information
  • 12040551
  • 6-Way F Metri-Pack 480 Series (BK)
Pin Wire Color Circuit No. Function
A WH 17 Stop Lamp Switch Signal
B OG 1540 Battery Positive Voltage
C BN 441 Ignition 3 Voltage
D PU 420 TCC Brake Switch/Cruise Control Release Signal
E L-GN/BK 584 A/T Shift Lock Control Switch Supply Voltage
F D-GN/WH 1135 A/T Shift Lock Control Solenoid Supply Voltage
Tail/Stop Lamp Terminal Identification - Left

GM882587Courtesy of GENERAL MOTORS CORP.
Connector Part Information
  • 0001036
  • 3-Way F CE-F29.14-6A Series (BK)
Pin Wire Color Circuit No. Function
A RD 1320 Stop Lamp Supply Voltage
B L-GN/BK 1750 Ground
C L-BU 2509 Left Rear Park Lamps Supply Voltage
Tail/Stop Lamp Terminal Identification - Right

GM882587Courtesy of GENERAL MOTORS CORP.
Connector Part Information
  • 0001036
  • 3-Way F CE-F29.14-6A Series (BK)
Pin Wire Color Circuit No. Function
A RD 1320 Stop Lamp Supply Voltage
B L-GN/BK 1750 Ground
C L-BU 2609 Right Rear Park Lamps Supply Voltage
Turn Signal Lamp Terminal Identification - LR

GM882584Courtesy of GENERAL MOTORS CORP.
Connector Part Information
  • 0001035
  • 2-Way F CE-F29.14-5A Series (BK)
Pin Wire Color Circuit No. Function
A OG 2114 Left Turn Signal Lamps Supply Voltage
B BK 1750 Ground
Turn Signal Lamp Terminal Identification - RR

GM882584Courtesy of GENERAL MOTORS CORP.
Connector Part Information
  • 0001035
  • 2-Way F CE-F29.14-5A Series (BK)
Pin Wire Color Circuit No. Function
A OG 2115 Right Turn Signal Lamps Supply Voltage
B BK 1750 Ground
Trailer Terminal Identification Connector

GM525095Courtesy of GENERAL MOTORS CORP.
Connector Part Information
  • 15354653
  • 7-Way F Metri-Pack 280 Sealed (BK)
Pin Wire Color Circuit No. Function
A L-GN 1624 Trailer Backup Lamps Supply Voltage
B BK 1750 Ground
C D-BU 47 Trailer Auxiliary Supply Voltage
D D-GN 1619 Trailer Right Rear Turn/Stop Lamp Supply Voltage
E RD 742 Battery Positive Voltage
F BN 2109 Trailer Park Lamps Supply Voltage
G YE 1618 Trailer Left Rear Turn/Stop Lamp Supply Voltage
Turn Signal/Multi-Function Switch Terminal Identification - C1

GM39746Courtesy of GENERAL MOTORS CORP.
Connector Part Information
  • 12064862
  • 8-Way F Metri-Pack 150 Series (BK)
Pin Wire Color Circuit No. Function
A L-GN 1427 Right Turn Signal Switch Signal
B PK 639 Ignition 1 Voltage
C D-GN 1428 Left Turn Signal Switch Signal
D-F - - Not Used
G BK/YE 28 Horn Relay Control
H WH 111 Hazard Switch Signal
Turn Signal/Multi-Function Switch Terminal Identification - C3

GM130718Courtesy of GENERAL MOTORS CORP.
Connector Part Information
  • 12059800
  • 5-Way F Metri-Pack 150 Series (BK)
Pin Wire Color Circuit No. Function
A TN 1851 Ground
B YE/BK 307 Headlamp Switch Flash to Pass Signal
C L-GN 11 Headlamp Dimmer Switch Signal
D-E - - Not Used
Underhood Terminal Identification Lamp (If Equipped)

GM635009Courtesy of GENERAL MOTORS CORP.
Connector Part Information
  • 12052641
  • 2-Way F Metri-Pack 150 Series Sealed (BK)
Pin Wire Color Circuit No. Function
A OG 1732 Inadvertent Power Courtesy Lamps Supply Voltage
B BK 1050 Ground
Vanity Mirror Lamp Terminal Identification - Left

GM35441Courtesy of GENERAL MOTORS CORP.
Connector Part Information
  • 12047663
  • 2-Way M Metri-Pack 150 Series (BK)
Pin Wire Color Circuit No. Function
A OG 1732 Inadvertent Power Courtesy Lamps Supply Voltage
B BK 1050 Ground
Vanity Mirror Lamp Terminal Identification - Right

GM35441Courtesy of GENERAL MOTORS CORP.
Connector Part Information
  • 12047663
  • 2-Way M Metri-Pack 150 Series (BK)
Pin Wire Color Circuit No. Function
A OG 1732 Inadvertent Power Courtesy Lamps Supply Voltage
B BK 1050 Ground