LEMON Manuals: Even more car manuals for everyone: 1960-2025
Home >> Hummer >> 2007 >> H3 Automatic >> Repair and Diagnosis (Single Page) >> Electrical >> Body Electrical >> OEM Connector End Views >> Powertrain Control Module Connector End Views >> Powertrain Control Module (PCM) Connector End View C1
April 5, 2026: LEMON Manuals is launched! Read the announcement.

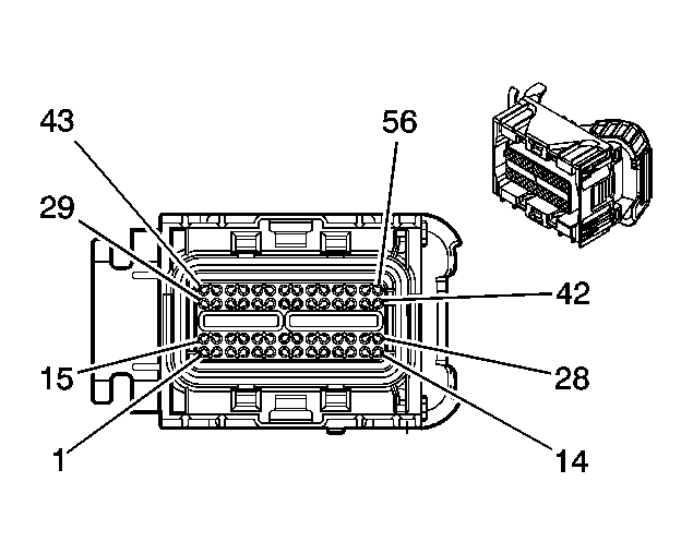
Powertrain Control Module (PCM) Connector End View C1

Fig 1: Powertrain Control Module (PCM) C1 Connector End Views
GM1567532Courtesy of GENERAL MOTORS CORP.
Powertrain Control Module (PCM) C1 Connector Parts Information

Connector Part Information 
  • OEM: 15487350
  • Service: See Catalog
  • Description: 31-Way F Micro 64 Series Sealed (BU)
Terminal Part Information 
  • Terminal/Tray: 15359541/4
  • Core/Insulation Crimp: M/M
  • Release Tool/Test Probe: 15381651-2/J-35616-64A (L-BU)
Powertrain Control Module (PCM) C1 Connector Terminal Identification

Pin Wire Color Circuit No. Function
1-2 - - Not Available
3 GY/BK 1694 4WD Low Signal
4-5 - - Not Available
6 D-GN/WH 459 A/C Compressor Clutch Relay Control
7 BN 1271 Low Reference
8 PU 1272 Low Reference
9-11 - - Not Available
12 PU 1589 Fuel Level Sensor Signal
13 PK 739 Ignition 1 Voltage
14 - - Not Available
15 PU 1807 Class 2 Serial Data
16 PU 1807 Class 2 Serial Data
17 GY 2700 5V
18 BN 4 Accessory Voltage
19 PK 639 Ignition 1 Voltage
20 OG 440 Battery Positive Voltage
21 D-GN/WH 817 Vehicle Speed Signal
22 WH 1310 EVAP Canister Vent Solenoid Control
23 BN/WH 6254 ISS Signal
24 D-GN 890 Fuel Tank Pressure Sensor Signal
25 - - Not Available
26 RD/BK 380 A/C Refrigerant Pressure Sensor Signal
27 D-BU 1161 APP Sensor 1 Signal
28 - - Not Available
29 BK 2759 Low Reference
30 WH/BK 1164 5V
31 - - Not Available
32 L-BU 20 Stop Lamp Supply Voltage
33 - - Not Available
34 BN 436 Air Pump Relay Control
35-36 - - Not Available
37 D-GN/WH 465 Fuel Pump Relay Control
38 WH/BK 448 Powertrain Diagnostic Enable
39 - - Not Available
40 BN/WH 419 MIL Control
41 L-BU 1162 APP Sensor 2 Signal
42 - - Not Available
43 TN 1274 5V
44 GY 1884 Cruise Control Switch Signal
45 - - Not Available
46 PU 420 TCC Brake Switch/Cruise Control Release Signal
47 GY 2709 5V
48 YE/BK 625 Starter Enable Relay Control
49-52 - - Not Available
53 BN/WH 379 CPP Switch Signal
54 D-GN 1433 PNP/Clutch Start Switch Signal
55 - - Not Available
56 BK 2751 Low Reference