LEMON Manuals: Even more car manuals for everyone: 1960-2025
Home >> Hummer >> 2007 >> H3 L5-3.7L >> Repair and Diagnosis >> Diagrams >> Connector Views >> Engine Control Module
April 5, 2026: LEMON Manuals is launched! Read the announcement.

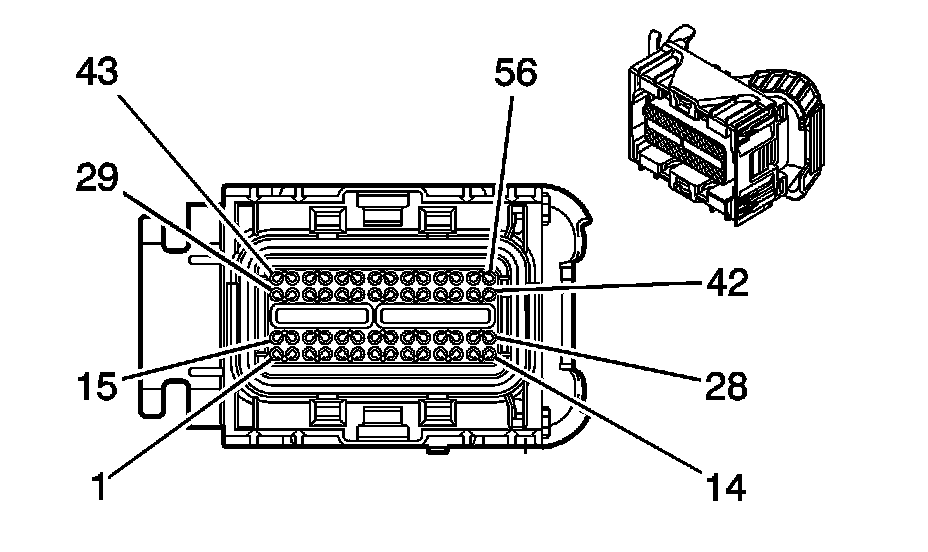
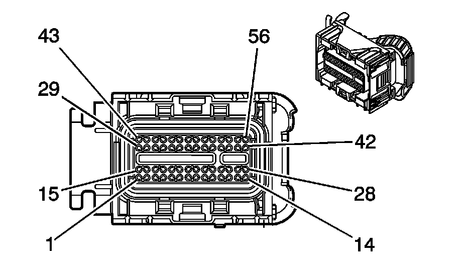
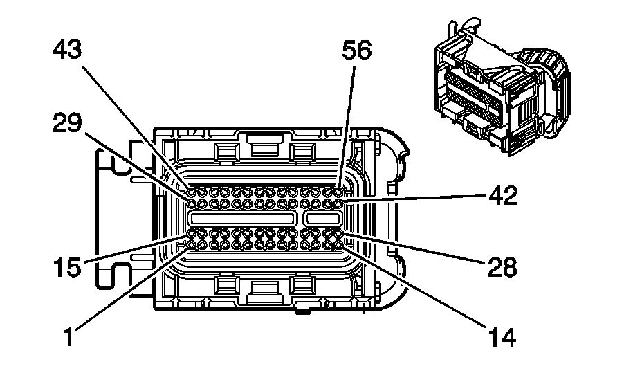
Engine Control Module



Powertrain Control Module Connector End Views

Powertrain Control Module (PCM) C1









Powertrain Control Module (PCM) C1 (Pin 1 To 33):





Powertrain Control Module (PCM) C1 (Pin 34 To 56):






Powertrain Control Module (PCM) C2









Powertrain Control Module (PCM) C2 (Pin 1 To 29):





Powertrain Control Module (PCM) C2 (Pin 30 To 73):






Powertrain Control Module (PCM) C3 (M30)














Powertrain Control Module (PCM) C3 (MA5)