LEMON Manuals: Even more car manuals for everyone: 1960-2025
Home >> Hummer >> 2008 >> H3 Alpha >> Repair and Diagnosis >> Electrical >> Component Locations >> Component Locations & Connector End Views >> Component Connector End Views >> Electronic Brake Control Module (EBCM) X2
April 5, 2026: LEMON Manuals is launched! Read the announcement.

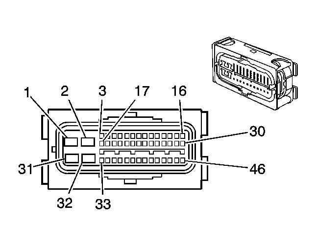
Electronic Brake Control Module (EBCM) X2

Fig 1: Electronic Brake Control Module (EBCM) X2 Connector End View
GM1567078Courtesy of GENERAL MOTORS CORP.
Electronic Brake Control Module (EBCM) X2

Pin Wire Circuit Function
1 3 BK 850 Ground
2 3 OG 540 Battery Positive Voltage
3 0.5 D-GN 872 Right Front Wheel Speed Sensor Signal
4 0.5 YE 873 Low Reference
5 0.5 BN 882 Right Rear Wheel Speed Sensor Signal
6 0.5 RD 885 Low Reference
7 - - Not Used
8 0.35 WH 1765 Steering Wheel Position Marker Pulse Signal
9 0.5 OG/BK 463 Requested Torque Signal
10 0.5 TN/BK 464 Delivered Torque Signal
11 0.35 D-BU 716 CAN HI
12-16 - - Not Used
17 0.5 TN 833 Low Reference
18 0.5 L-BU 830 Left Front Wheel Speed Sensor Signal
19 0.5 WH 883 Low Reference
20 0.5 BK 884 Left Rear Wheel Speed Sensor Signal
21 - - Not Used
22 0.35 L-BU 1764 Steering Wheel Position Signal B
23 0.35 L-GN 1763 Steering Wheel Position Signal A
24 - - Not Used
25 0.35 L-BU 2088 CAN LO
26 - - Not Used
27 0.35 PK 849 Brake Fluid Level Sensor Signal
28-30 - - Not Used
31 2 OG 2340 Battery Positive Voltage
32 3 BK 850 Ground
33-37 - - Not Used
38 0.35 BK 1835 Low Reference
39 0.35 L-BU 1059 Steering Wheel Position Sensor Signal
40 0.35 GY 1056 5-Volt Reference
41 - - Not Used
42 0.8 L-GN 24 Backup Lamp Control
43 - - Not Used
44 0.35 PU 1807 Class 2 Serial Data
45 0.8 L-BU 20 Stop Lamp Control
46 0.35 BN 441 Ignition Voltage
Connector Part Information 
  • OEM: 6189-1136
  • Service: See Catalog
  • Description: 46-Way F 025/187 Sealed (BK)
Terminal Part Information 
  • Pins: 1, 2, 31, 32
  • Terminal/Tray: 8100-0468/6
  • Core/Insulation Crimp: F/5
  • Release Tool/Test Probe: 12094430/J-35616-40 (BU)
  • Pins: 3-27, 38-46
  • Terminal/Tray: 8100-3455/22
  • Core/Insulation Crimp: Pins 3-6, 9-10, 17-20, 42, 45: 8/8
  • Core/Insulation Crimp: Pins 8, 11, 22-27, 38-41, 43-44, 46: 7/7
  • Release Tool/Test Probe: 15315247/J-35616-64A (L-BU)