LEMON Manuals: Even more car manuals for everyone: 1960-2025
Home >> Hummer >> 2008 >> H3 Alpha >> Repair and Diagnosis >> Electrical >> Component Locations >> Component Locations & Connector End Views >> Component Connector End Views >> Transmission Control Module (TCM) (M30)
April 5, 2026: LEMON Manuals is launched! Read the announcement.

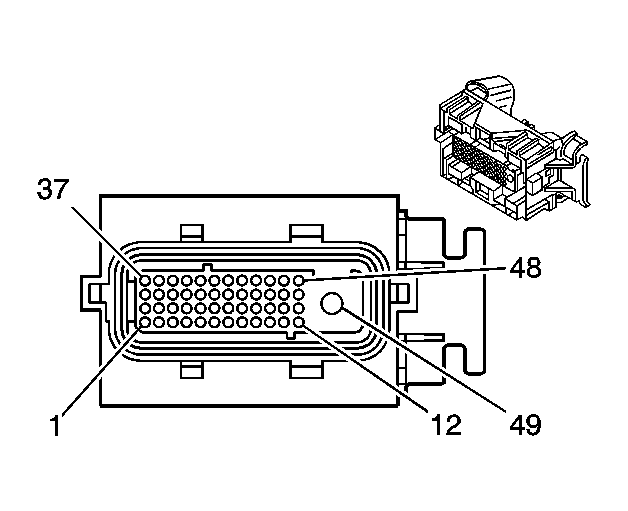
Transmission Control Module (TCM) (M30)

Fig 1: Transmission Control Module (TCM) (M30) Connector End View
GM1581650Courtesy of GENERAL MOTORS CORP.
Transmission Control Module (TCM) (M30)

Pin Wire Circuit Function
1 0.5 BN 418 TCC PWM Solenoid Valve Control
2 0.5 L-GN 1222 1-2 Shift Solenoid Valve Control
3 0.5 BN/WH 6254 Input Shaft Speed Sensor Signal
4-5 - - Not Used
6 0.5 TN 2501 GM High Speed LAN Serial Data -
7 0.5 TN/WH 2500 GM High Speed LAN Serial Data +
8-10 - - Not Used
11 0.5 BN 4 Ignition Voltage
12-13 - - Not Used
14 0.5 WH 687 3-2 Shift Solenoid Valve Control
15 - - Not Used
16 0.5 L-GN/BK 822 VSS Low Signal
17 0.5 L-BU/WH 1229 PC Solenoid Valve Low Control
18-19 - - Not Used
20 0.5 YE/BK 1223 2-3 Shift Solenoid Valve Control
21-22 - - Not Used
23 0.5 GY 773 Transmission Range Switch Signal C
24 0.5 PK 1224 Transmission Fluid Pressure Switch Signal A
25 0.5 TN/BK 422 TCC Solenoid Valve Control
26-28 - - Not Used
29 0.5 BK/WH 771 Transmission Range Switch Signal A
30 0.5 BK 452 Low Reference
31 0.5 PK 439 Ignition Voltage
32 0.5 OG 1540 Battery Positive Voltage
33 0.5 RD 1226 Transmission Fluid Pressure Switch Signal C
34 - - Not Used
35 0.5 YE/BK 1227 TFT Sensor Signal
36 - - Not Used
37 0.5 TN 2501 GM High Speed LAN Serial Data -
38 0.5 TN/WH 2500 GM High Speed LAN Serial Data +
39 0.5 WH 776 Transmission Range Switch Signal P
40 0.5 RD/BK 1228 PC Solenoid Valve High Control
41 0.5 PU/WH 821 VSS High Signal
42 0.5 L-BU 20 Stop Lamp Control
43 - - Not Used
44 0.5 D-BU 1225 Transmission Fluid Pressure Switch Signal B
45 0.5 D-BU 6253 Low Reference
46 0.5 YE 772 Transmission Range Switch Signal B
47-48 - - Not Used
49 0.5 BK/WH 451 Ground
Connector Part Information 
  • OEM: 13589417
  • Service: See Catalog
  • Description: 49-Way F GT 280 Series Sealed (BK)
Terminal Part Information 
  • Terminal/Tray: 15304719/19
  • Core/Insulation Crimp: E/5
  • Release Tool/Test Probe: 15315247/J-35616-4A (PU)