LEMON Manuals: Even more car manuals for everyone: 1960-2025
Home >> Hyundai >> 2002 >> XG350 Base >> Repair and Diagnosis >> Body & Frame >> Body, Cab Control Systems >> Body Control Modules >> System Tests >> Anti-Theft Function >> Disarm Function
April 5, 2026: LEMON Manuals is launched! Read the announcement.

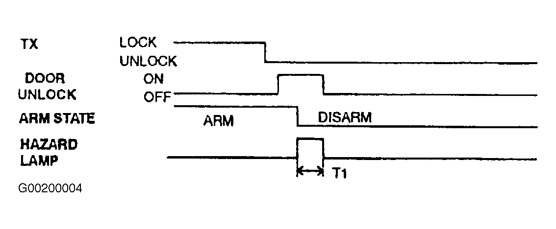
Disarm Function

Time Specification: T1: 1 sec.

Use illustration for timing wave form pattern. See Fig 1

Fig 1: Checking Disarm Function
G00200004Courtesy of HYUNDAI MOTOR CO.