LEMON Manuals: Even more car manuals for everyone: 1960-2025
Home >> Hyundai >> 2003 >> Tiburon L4-2.0L >> Repair and Diagnosis >> Powertrain Management >> Computers and Control Systems >> Body Control Module >> Testing and Inspection >> Component Tests and General Diagnostics >> Seat Belt Warning Lamp Timer Function
April 5, 2026: LEMON Manuals is launched! Read the announcement.

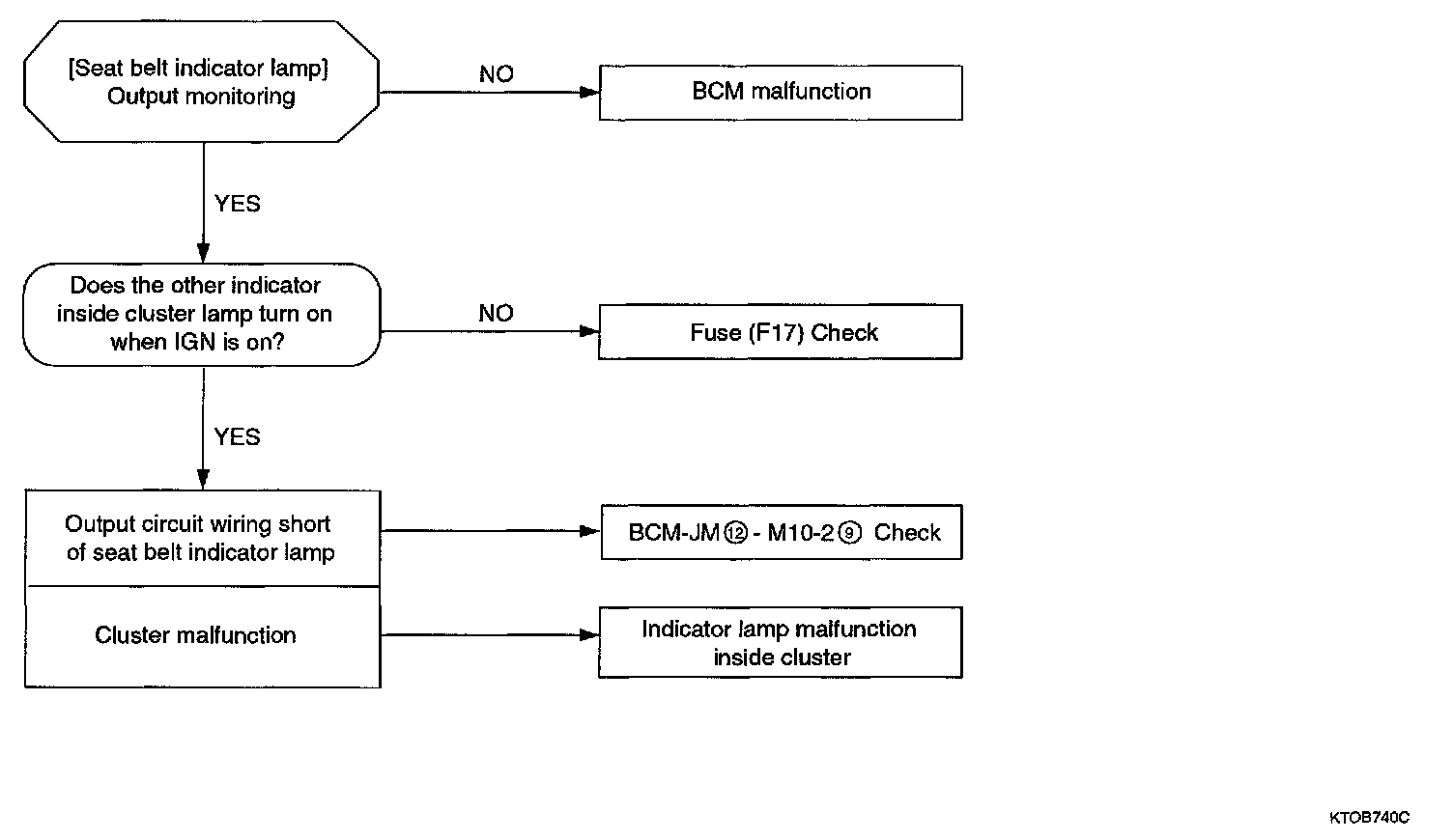
Seat Belt Warning Lamp Timer Function

SEAT BELT WARNING LAMP TIMER

1. Function explanation: Seat belt indicator lamp blinks for 6 seconds when IGN is turned on to recommend driver to buckle up.

2. Related schematic diagrams
- See the Indicators and Gauges.


3. Input/output signal
- Fuse F17 (10 A)
- Output Seat belt indicator lamp (J12)







4. Related Hi-scan(pro) failure diagnosis
1. Input/output monitoring
Select "07 ETC" and press [ENTER]. Then the following screen will be displayed.

Check output condition against seat belt indicator lamp.







2. Actuator inspection
Select "02 OUTPUT ACTUATION" and press [ENTER].

Perform forced drive against seat belt indicator lamp.

5. Expected failure symptoms
Seat belt indicator lamp does not work.




6. Actions by failure symptoms Seat belt indicator lamp does not work.