LEMON Manuals: Even more car manuals for everyone: 1960-2025
Home >> Hyundai >> 2004 >> Elantra GLS, Standard >> Repair and Diagnosis >> Engine Performance >> System >> Fuel System >> Fuel Delivery System >> Accelerator Pedal >> Installation
April 5, 2026: LEMON Manuals is launched! Read the announcement.

Accelerator Pedal: Installation

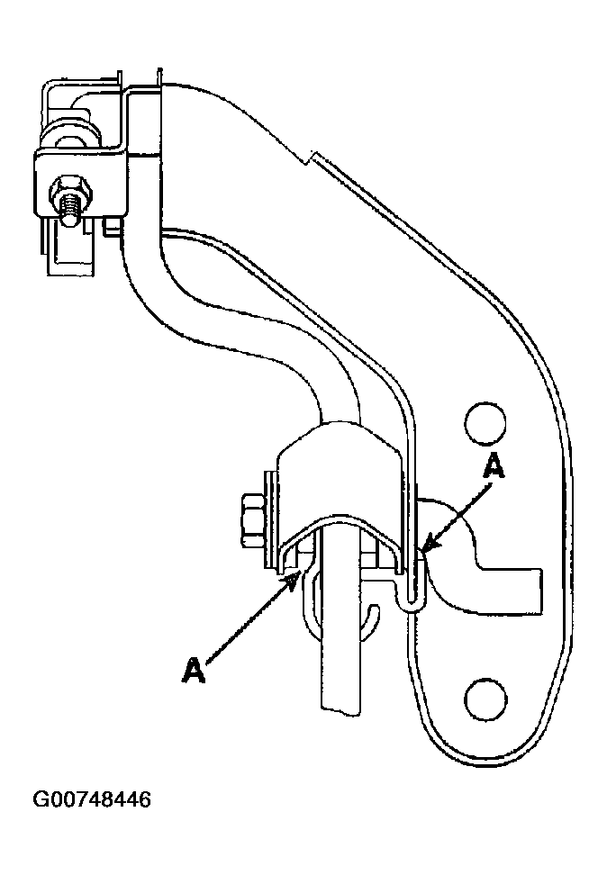
  1. When installing the return spring and accelerator pedal, apply multi-purpose grease around each moving point (A) of the accelerator pedal.
    Fig 1: Installing Accelerator Pedal Return Spring
    G00748446Courtesy of HYUNDAI MOTOR CO.
  2. Apply sealant to the bolt mounting holes (A), and tighten the accelerator pedal bracket.

    Tightening torque 

    Accelerator pedal bracket bolts :

    8 ~ 12Nm (80 ~ 120 kg. cm, 5.8 ~ 7.2 Ib. ft)

    Fig 2: Installing Accelerator Pedal Bracket
    G00748447Courtesy of HYUNDAI MOTOR CO.
  3. Securely install the resin bushing of the accelerator cable on the end of the accelerator pedal.
  4. Apply multipurpose grease around the cable end (A).
    Fig 3: Installing Accelerator Cable End Lubrication To Accelerator Pedal
    G00748448Courtesy of HYUNDAI MOTOR CO.