LEMON Manuals: Even more car manuals for everyone: 1960-2025
Home >> Hyundai >> 2005 >> Tiburon L4-2.0L >> Repair and Diagnosis >> Relays and Modules >> Relays and Modules - Powertrain Management >> Relays and Modules - Computers and Control Systems >> Body Control Module >> Testing and Inspection >> Non-Trouble Code Procedures >> Antitheft Function
April 5, 2026: LEMON Manuals is launched! Read the announcement.

Antitheft Function

Anti-Theft Function

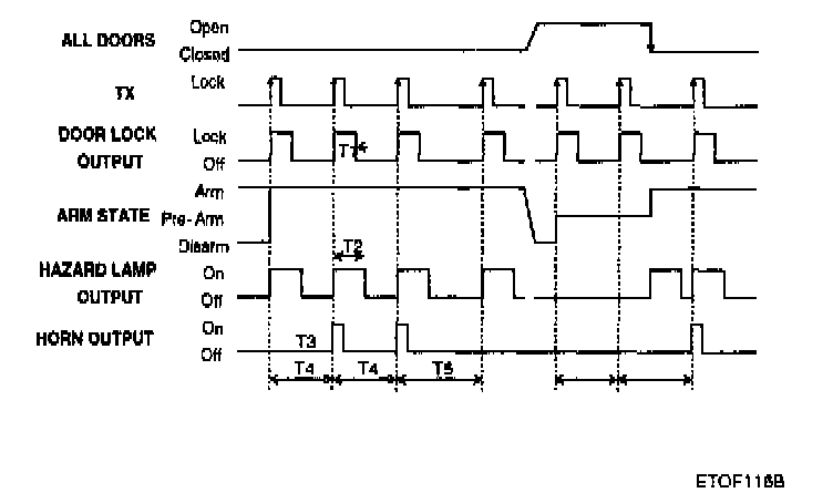
1. Arm function






Pressing the remote key lock button will result in a 0.5-second pulse issued to lock all doors. Pressing the remote keypad unlock button once will result in a 0.5-second unlock pulse issued to unlock all doors.

As part of the arming sequence the alarm first enters a pre-armed state before falling into the armed state. During this pre-armed state alarm triggers are ignored. Pre-armed state can be reached from the alarmed state, the start inhibit state or the disarmed state. Pre-Arming of the alarm can be achieved by a press of the lock button on the remote key. In the pre-armed state the visible and audible warnings are disabled.

This system enters the armed state if it is in the pre-armed state and, after 0.6 sec, check actuator lock and each door, hood and tail gate close, and no door warning switch (no key in ignition). On entering the arm state, a single flash of the hazard lamps is given, period of cycle 2 second, duty rate 50%.

If TX lock signal is received when a door, tail gate or hood is open, then lock output is given and a flash of hazard is not given.

After the armed state is entered, if a lock signal is received then a single flash of the hazard lamps is given, period of cycle 2 second, duty rate 50%. The armed state cannot be reached by locking the car with the keys.

2. Disarm function
Disarming can be performed while the alarm is armed, or alarming, or after alarming. The alarm can be disarmed by the following methods:

- Pressing the unlock button on the TX key. The hazard lamps shall be flashed twice for 1 sec period (of cycle), 50% duty rate.
- If door warning switch is on, IGN1 and IGN2 are on in arm state, then arm state should be immediately cancelled. This means that the driver is inside the vehicle before pushing TX lock, so system should not arm.






In the disarm state the visible and audible warnings are disabled and start is enabled. In the disarm state, if TX key unlock command is received, then the hazard lamps shall be flashed twice for period of cycle 1 sec, 50% duty rate. Disarm state cannot be reached using the door locks by key.

3. Alarm function






Once armed, should any door, hood or the tail-gate be opened, then:
- Start relay drive output is disabled, so starting is inhibited.
- Audible (horn) and visual (hazard lamp) warnings are issued, for three cycles, each cycle 27 ± 1 sec. duration on, 10 ± 1 sec off. The horn warning is continuously occurring during the on period. The hazard lamps operate with 1 sec period, 50 % duty rate during the on period.

The alarm is given in the case where a door is opened with a key.

After this time, the system maintains the start inhibit state, where no audible and visual warnings are issued but engine starting is not possible.

4. Operation during alarm conditions
1) Cancelling audible alarm with the remote transmitter

CASE 1 : Door closed






During or after alarming and then closing all doors and a TX lock signal is received Then The lock command is executed with 0.5 sec. ON
Horn and start inhibition are OFF Hazard lamp is flashed one time (period : 2 sec, duty: 50%, within 2 sec.) The state goes to arming mode (after a lock state check) The start is enabled

CASE 2 : Door Open






During or after alarming, with a door open and a TX lock signal is received Then
The lock command is executed with 0.5 sec. ON
Horn is disabled and start is enabled after confirmation of actuator lock
At this time, when the door is closed,
- Hazard lamp is flashed one time (period : 2 sec., duty 50%)
- The state goes to arming mode

2) New alarm conditions
Second alarm condition during alarming.

When another alarm occurs during alarming, the starting is disabled, and the alarm continues to sound for the remained time of warning signal.

The alarm continues to sound after the second alarm condition is removed.

New alarm condition occurs after alarming (with all entrances closed)

If any entrance is opened again then
- The horn is ON 3 times (EC area : one time for 27 sec)
- Start is disabled
- Hazard lamps flash during the ON time of horn






New alarm condition occur after alarming (with any entrance open).

If another entrance is opened, the BCM keeps start disabled and there is no horn output.

3) Key operation during alarm
After the alarm state or start inhibit state are entered, if door warning switch on (key in ignition) & IGN 2 ON, if IGN 2 state is changed to OFF within 30 sec, remain in alarm state.

4) Disarming using the key






During alarming, in case that door warning switch (key in) is ON and then IGN1 and IGN2 are both ON for 30 sec continuously, the alarm is cancelled, and the system enters the disarm state. After alarming, in case that door warning switch (key in) is ON and then IGN1 and IGN2 are both ON for 30 sec continuously, the alarm is cancelled, and the system enters the disarm state.

5. Alarm state in power down
If the battery is disconnected to the BCM in the following states:
- Alarm
- After alarming






Upon restoring the battery, the alarm state shall be entered and the alarm cycle shall restarted (timer reset to 0).

If the battery is disconnected in arm state, upon restoring the battery, arm state is resumed.

6. Automatic relocking
If either:
a. Car is unlocked but all doors closed, or
b. Car is closed and locked by keys, or
c. Car is closed, locked and in armed state.

Then if an unlock command sent from the TX key is received by the BCM, and within 30 seconds no door, hood or tail gate has been opened or TX lock received, then the BCM will instigate a lock doors function and enter arm state. A single flash of the hazard lamps is given, period of cycle 2 second duty rate 50%. If another unlock command is sent within this time then reset timer.

If a door is already open and an unlock command is received, then the auto relocking function shall be disabled. Even in the case where the door is closed within 30 seconds

7. Tail gate alarm triggers
During the armed state, if the tail gate is opened by the key switch, the car remains in the armed state and does not enter the alarm state. While the tailgate is open, the hood, drivers and passenger doors are still armed and capable of causing an alarm trigger. Once the tail gate is closed, the tailgate trigger rearms after two seconds If the interior tailgate release switch is pressed whilst the car is armed and the tailgate has been closed and armed, the alarm state will be entered.

If the tailgate is unlocked and not opened within 25 seconds, the tailgate section will once again be armed and capable of trigger.

8. Panic
If the BCM is alarm has not been triggered, pressing the remote keypad panic button once will result in audible (horn) and visual (hazard lamp) warnings for 30 seconds.

The horn sounding is be synchronised to the indicator flash.

The sounding is immediately cancelled by the following conditions:
- A press of the Transmitter, Panic button
- A press of the Transmitter, lock button
- A press of the Transmitter, unlock button
- Automatic re-locking
- key in ignition
- Alarm triggered
- Door unlocked with driver or passenger door key switch
- Tailgate unlock with tailgate key switch

9. Horn answer back





T1 : 0.5 ± 0.1 sec.
T2: 1 ± 0.2 sec.
T3: 0.02 ± 0.01 sec.
T4: Less than 4 sec.
T5: More than 4 sec.
If transmitter lock signal is received and then a subsequent press of the remote key lock button within 4 seconds will result in a horn sounding for 2Oms ±10ms duration. The function is disabled in the pre-arm state.


10. 2-Stage unlocking





T1 : Less than 4 sec.
T2 : More than 4 sec.
T3: 0.5 ± 0.1 sec.
T4 30 sec. (Auto relock)
Pressing the remote key lock button will result in a 0.5-second lock pulse issued to lock all doors, and the system enters the arm state then a single flash of the hazard lamps is given, period of cycle 2 seconds, duty rate 50%.

Pressing the remote keypad unlock button once will result in a 0.5-second unlock pulse issued to unlock the drivers door, and the system enters the disarm state. The hazard lamps shall be flashed twice for 1 sec period (of cycle), 50% duty rate. All doors are unlocked by a subsequent press of the remote key unlock button within 4 seconds. Pressing the remote key unlock button after 4 seconds will result in a 0.5-second unlock pulse issued to unlock the drivers door. A hazard flash will also follow.