LEMON Manuals: Even more car manuals for everyone: 1960-2025
Home >> Hyundai >> 2008 >> Entourage Limited >> Repair and Diagnosis (Single Page) >> Accessories & Equipment >> Communication Devices >> BCM (Body Control Module) >> BCM (Body Control Module) >> Body Network System >> Functions >> View Enhancement Function >> Rear Wiper And Washer
April 5, 2026: LEMON Manuals is launched! Read the announcement.

Rear Wiper And Washer

  1. Rear wiper working conditions
    • The rear wiper is available in RUN state.
    • In the START state, all the wiper and washer outputs are halted and then activated again.
    • In the OFF and ACC states, the rear wiper stops its movement at current position. The rear wiper will move to the park position at the next IGN ON. In these states, the rear washer is not activated.
  2. Rear washer working condition
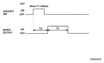
    • If the washer signal is active less than 60ms, the signal is neglected.
    • If the washer signal is active for T1 (between 60ms and 300ms), the rear wiper output is turned on for T2 (2.5~3.8 sec), T3 (300ms) after the washer has been turned ON.

      Rear washer activated for T1 : [60ms;300ms]

      Fig 1: Front Wiper And Washer Blinking Pattern
      G05324885Courtesy of HYUNDAI MOTOR CO.

      T1 : 0.06 ~ 0.3 sec

      T2 : 2.5 ~ 3.8 sec.

      T3 : 0.3 sec.

  3. Functional diagram
Fig 2: Front Wiper And Washer - Functional Diagram
G05324886Courtesy of HYUNDAI MOTOR CO.