LEMON Manuals: Even more car manuals for everyone: 1960-2025
Home >> Hyundai >> 2008 >> Tucson GLS, Automatic >> Repair and Diagnosis >> Transmission >> Automatic Trans >> Automatic Transaxle System >> Automatic Transaxle System >> Power Train >> Rev Gear Power Flow
April 5, 2026: LEMON Manuals is launched! Read the announcement.

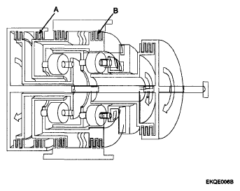
Rev Gear Power Flow

Hydraulic pressure is applied to the reverse clutch (A) and the LR brake (B), then the reverse clutch transmits driving force from the input shaft to the reverse sun gear, and the LR brake locks the LR annulus gear and OD planetary carrier to the case. The reverse clutch drives the reverse sun gear, and the reverse sun gear drives the output carrier through the OD pinion gear, and the output carrier drives the transfer drive gear, and the transfer drive gear drives the transfer driven gear of the output shaft, and power is transmitted to the differential gear through the differential drive gear.

Fig 1: Identifying Reverse Clutch And LR Brake
G04811182Courtesy of HYUNDAI MOTOR CO.