LEMON Manuals: Even more car manuals for everyone: 1960-2025
Home >> Hyundai >> 2009 >> Genesis Sedan V8-4.6L >> Repair and Diagnosis >> Diagrams >> Electrical Diagrams >> Powertrain Management >> Computers and Control Systems >> Body Control Module >> Driver Door Module (DDM)
April 5, 2026: LEMON Manuals is launched! Read the announcement.

Driver Door Module (DDM)





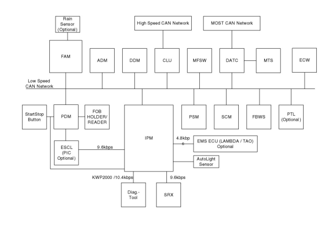
Schematic Diagram




** Abbreviation description
IPM : Instrument Panel Module
FAM : Front Area Module
DDM : Driver Door Module
ADM : Assist Door Module
SCM : Steering Control Module
SMK : Smart Key
PDM : Power Distribution Module
CLU : Cluster
MFSW : Multi Function Switch
PSM : Power Seat Module
FBWS : Front Back Warning System
PTM : Power Trunk Module
ECW : Electronic Control Wiper
ESCL : Electronic Steering Column Lock