LEMON Manuals
: Even more car manuals for everyone: 1960-2025
Home
>>
Hyundai
>>
2012
>>
Veracruz AWD V6-3.8L
>>
Repair and Diagnosis
>>
Diagrams
>>
Electrical Diagrams
>>
Memory Positioning Systems
>>
Memory Positioning Module
>>
IMS Control Switch
April 5, 2026:
LEMON Manuals is launched!
Read the announcement.
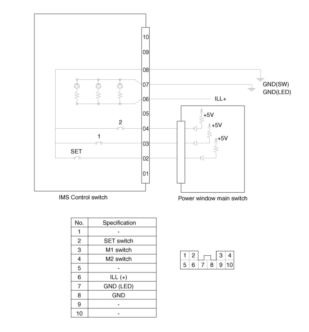
IMS Control Switch
Circuit Diagram