Repair Procedures: Removal
NOTE:
When replacing the ECM, the vehicle equipped with Immobilizer must be performed like the procedure depicted.
[In The Case Of Installing Used ECM]
- Perform "Neutral Mode" procedure with GDS. (Refer to: "Immobilizer" in BE procedure).
- Insert the key and turn it to the IGN ON and OFF position. Then the ECM key register process is completed automatically.
[In The Case Of Installing New ECM]
- Insert the key and turn it to the IGN ON and OFF position.
Then the ECM key register process is completed automatically.
- Turn ignition switch OFF and disconnect the negative (-) battery cable.
- Disconnect the ECM Connector (A).
- Remove the Battery (Refer to: "Charging System" in EM procedure).
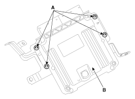
- Remove the Mounting Bolts and Nut and then remove the ECM Assembly (A).
- Remove the ECM (B) after removing 4 Nuts (A) from the Bracket.