LEMON Manuals: Even more car manuals for everyone: 1960-2025
Home >> Hyundai >> 2016 >> Elantra SE, Automatic Trans >> Repair and Diagnosis >> Transmission >> Transmission Control Systems >> Automatic Transaxle Control System - A6GF1 >> Transaxle Control Module (TCM) >> Schematic Diagrams >> Circuit Diagram
April 5, 2026: LEMON Manuals is launched! Read the announcement.

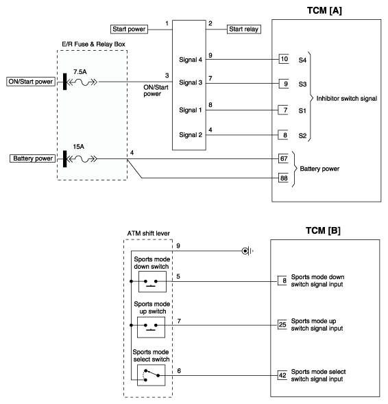
Circuit Diagram

Fig 1: Transaxle Control Module (TCM) Circuit Diagram (1 Of 2)
G10537998Courtesy of HYUNDAI MOTOR AMERICA
Fig 2: Transaxle Control Module (TCM) Circuit Diagram (2 Of 2)
G10537999Courtesy of HYUNDAI MOTOR AMERICA