LEMON Manuals: Even more car manuals for everyone: 1960-2025
Home >> Hyundai >> 2016 >> Veloster Base, Standard Trans >> Repair and Diagnosis >> Engine Performance >> Engine Control Systems >> Engine Control System - 1.6L GDI >> Engine Control Module (ECM) >> Repair Procedures >> Removal
April 5, 2026: LEMON Manuals is launched! Read the announcement.

Repair Procedures: Removal

NOTE: When replacing the ECM, the vehicle equipped with Immobilizer must be performed in the procedure depicted.
[In the case of installing used ECM]
  1. Perform "Neutral Mode" procedure with GDS. (Refer to: "Immobilizer" in BE procedure)
  2. Insert the Key and turn it to the IGN ON and OFF position.

Then ECM Key Register Process is completed automatically.
[In the case of installing new ECM]
  • Insert the Key and turn it to the IGN ON and OFF position.

Then ECM Key Register Process is completed automatically.
  1. Turn Ignition Switch OFF and disconnect the Negative (-) Battery Cable.
  2. Disconnect the ECM Connector (A).
    Fig 1: Identifying ECM Connector
    G10607905Courtesy of HYUNDAI MOTOR AMERICA
  3. Remove the Battery (Refer to: "Charging System" in EM procedure).
  4. Remove the Mounting Bolts and Nut and then remove the ECM Bracket Assembly (A).
    Fig 2: Removing ECM Bracket Assembly Mounting Bolt And Nut
    G10607906Courtesy of HYUNDAI MOTOR AMERICA
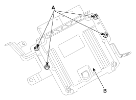
  5. Remove the ECM (B) after removing 4 nuts (A) from the Bracket.
Fig 3: ECM Bracket Nuts
G10607907Courtesy of HYUNDAI MOTOR AMERICA