LEMON Manuals: Even more car manuals for everyone: 1960-2025
Home >> Hyundai >> 2017 >> Azera Base >> Repair and Diagnosis >> Engine Performance >> Ignition System >> Engine Electrical System - General Information >> General Information >> Specifications >> Specification >> Charging System
April 5, 2026: LEMON Manuals is launched! Read the announcement.

Charging System

CHARGING SYSTEM SPECIFICATIONS

Items Specification
Alternator Rate voltage 13.5 V, 150A
Speed in use 1, 500 ~ 18, 000 RPM
Voltage regulator IC regulator built-in type
Regulator setting voltage External mode ECU control
Internal mode 14.0~15.0V
Temperature compensation External mode ECU control
Internal mode -4 ± 4 mV/°C
Battery Type 64 - 27 GL
Cold cranking amperage [at -18°C (-0.4°F)] 660 A
Reserve capacity 145 min
Specific gravity [at 25°C (77°F)] 1.280 ± 0.01
CAUTION:
  • COLD CRANKING AMPERAGE is the amperage a battery can deliver for 30 seconds and maintain a terminal voltage of 7.2V or greater at a specified temperature.
  • RESERVE CAPACITY RATING is amount of time a battery can deliver 25A and maintain a minimum terminal voltage of 10.5V at 26.7°C(80.1°F).
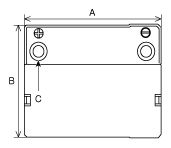
Fig 1: Battery Type Notation
G12087089Courtesy of HYUNDAI MOTOR AMERICA
Fig 2: Checking Battery
G12087090Courtesy of HYUNDAI MOTOR AMERICA