LEMON Manuals: Even more car manuals for everyone: 1960-2025
Home >> Hyundai >> 2017 >> Veloster Base, Standard Trans >> Repair and Diagnosis >> Body & Frame >> Door Locks >> Smart Key System >> Smart Key Unit >> Repair Procedures >> Removal >> Trunk antenna
April 5, 2026: LEMON Manuals is launched! Read the announcement.

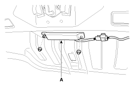
Trunk antenna

  1. Disconnect the negative (-) battery terminal.
  2. Remove the trunk transverse trim.

    (Refer to "INTERIOR TRIM ")

  3. Disconnect the connector, then remove the trunk antenna (A) after loosening 2 nuts.
Fig 1: Removing Trunk Antenna Nuts
G12126262Courtesy of HYUNDAI MOTOR AMERICA