LEMON Manuals: Even more car manuals for everyone: 1960-2025
Home >> Infiniti >> 2003 >> FX35 AWD >> Repair and Diagnosis >> Engine Mechanical >> Engine Lubrication System >> VQ35DE >> Lubrication System >> System Drawing
April 5, 2026: LEMON Manuals is launched! Read the announcement.

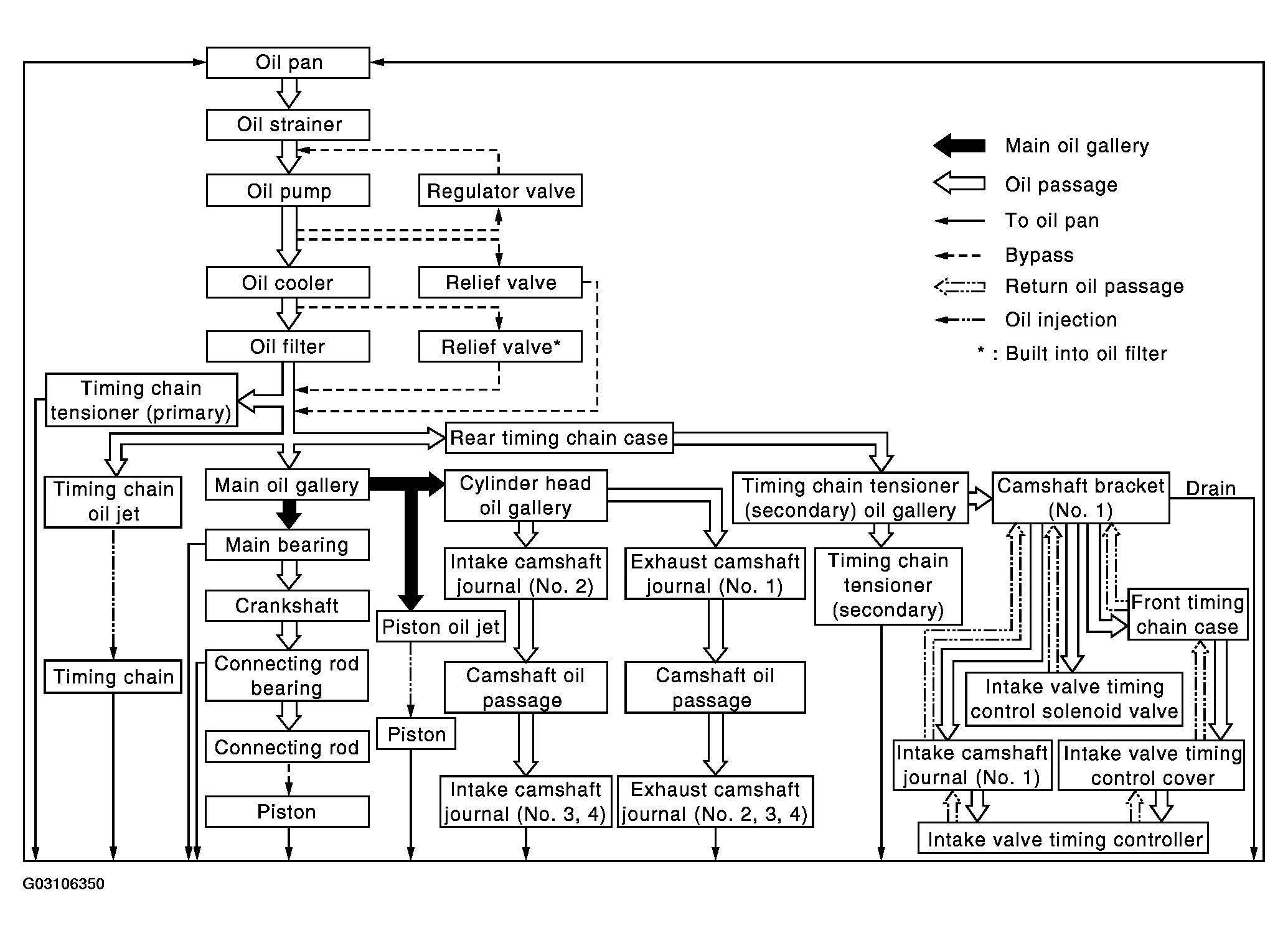
System Drawing

Fig 1: Lubrication System Drawing
G03106350Courtesy of NISSAN MOTOR CO., U.S.A.