LEMON Manuals: Even more car manuals for everyone: 1960-2025
Home >> Infiniti >> 2004 >> FX45 >> Repair and Diagnosis >> Engine Performance >> Engine Control System >> Basic Service Procedure >> Idle Speed and Ignition Timing Check >> Ignition Timing >> Method B
April 5, 2026: LEMON Manuals is launched! Read the announcement.

Method B

  1. Remove No. 1 ignition coil.
    Fig 1: Locating & Identifying Ignition Coils
    G00344419Courtesy of NISSAN MOTOR CO., U.S.A.
  2. Connect No. 1 ignition coil and No. 1 spark plug with suitable high-tension wire as shown, and attach timing light clamp to this wire.
    Fig 2: Identifying No. 1 Ignition Coil, High-Tension Wire & Timing Light
    G00344420Courtesy of NISSAN MOTOR CO., U.S.A.
    Fig 3: Identifying Dimensions Of High Tension Wire Electrode
    G00344421Courtesy of NISSAN MOTOR CO., U.S.A.
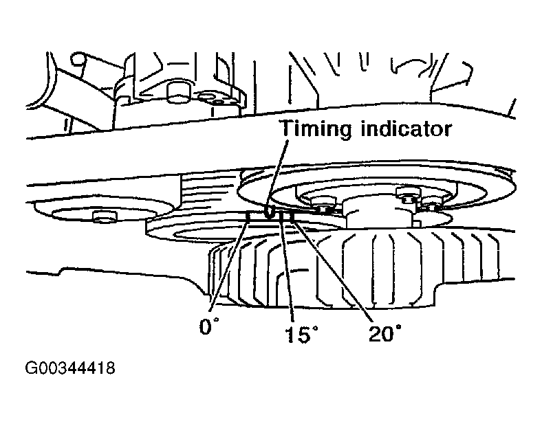
  3. Check ignition timing. See Figure .