LEMON Manuals
: Even more car manuals for everyone: 1960-2025
Home
>>
Infiniti
>>
2006
>>
M35 Base
>>
Repair and Diagnosis
>>
Transmission
>>
Automatic Transmission
>>
A/T Control System
>>
TCM Function
>>
Control System Diagram
April 5, 2026:
LEMON Manuals is launched!
Read the announcement.
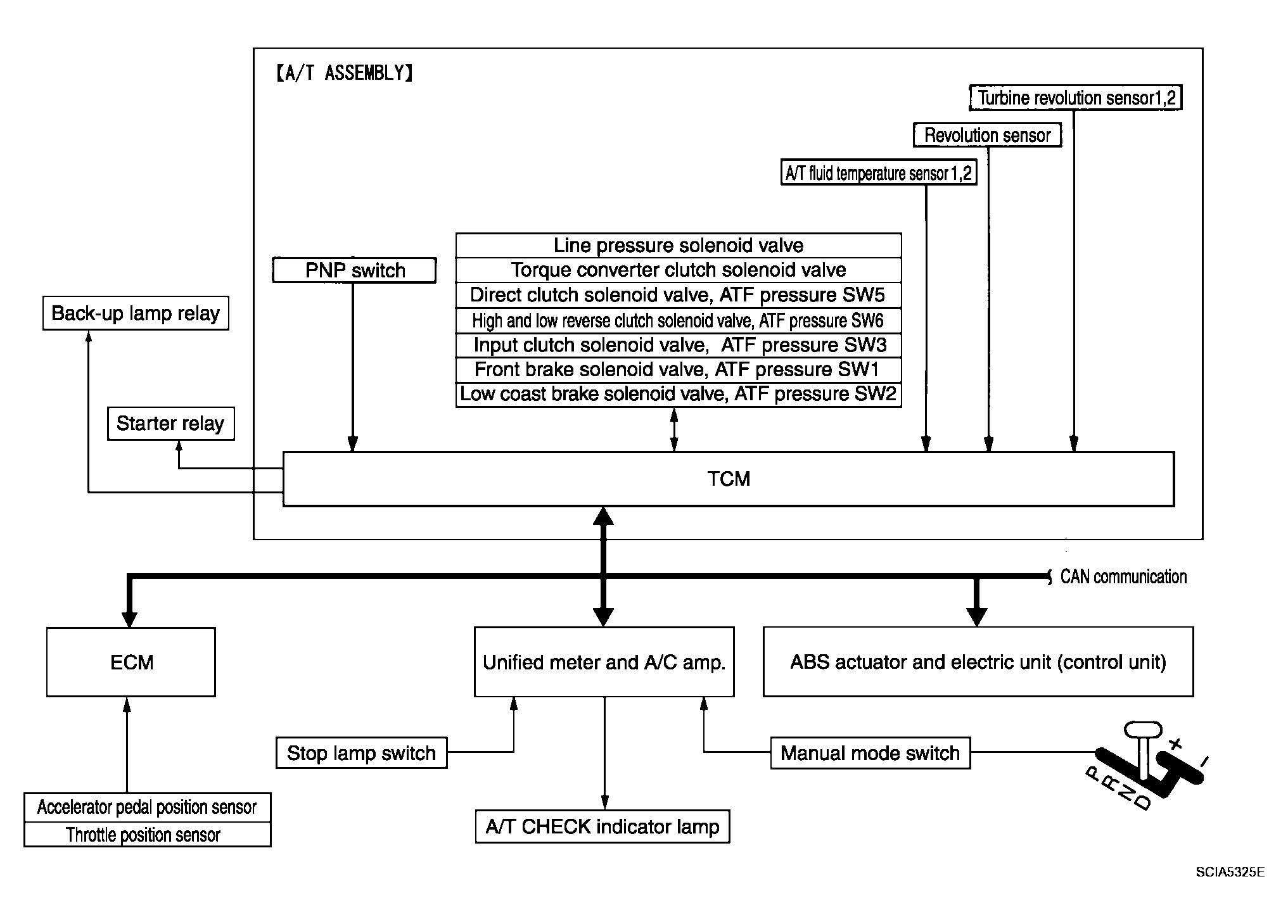
Control System Diagram
Fig 1: Control System Diagram
Courtesy of NISSAN MOTOR CO., U.S.A.