LEMON Manuals: Even more car manuals for everyone: 1960-2025
Home >> Infiniti >> 2008 >> G37 Base >> Repair and Diagnosis >> External Pages >> Different car >> Section 60 (Power Window Control System) >> Basic Inspection >> Diagnosis And Repair Workflow >> Work Flow >> Work Flow
April 5, 2026: LEMON Manuals is launched! Read the announcement.

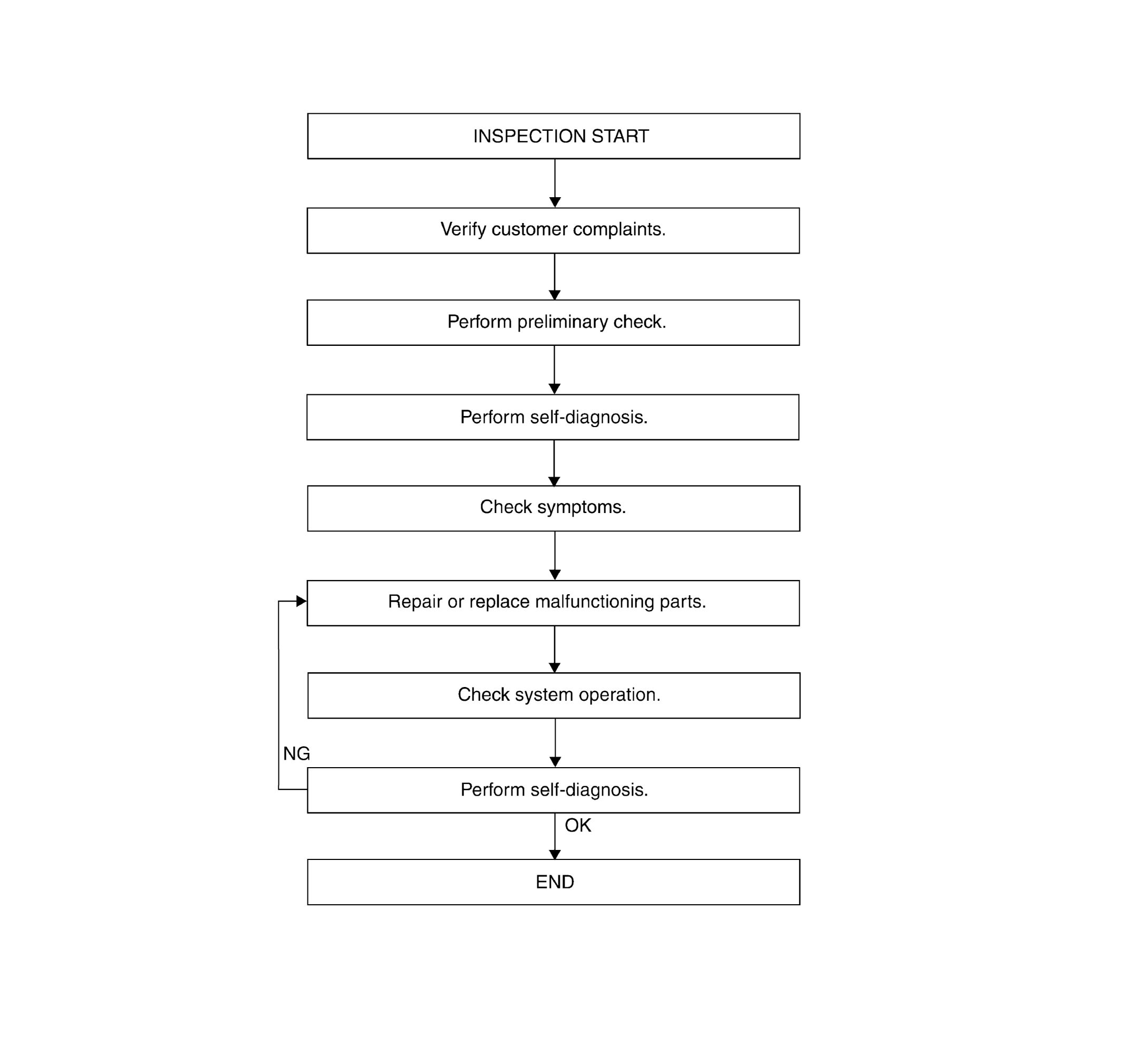
Work Flow

WARNING: This page is about a different car, the 2008 Nissan Titan. However, it is still accessible from the selected car via links, so may be relevant.
Fig 1: Diagnosis And Repair Work flow Chart
G05720494Courtesy of NISSAN MOTOR CO., U.S.A.