LEMON Manuals: Even more car manuals for everyone: 1960-2025
Home >> Infiniti >> 2009 >> M45 Base >> Repair and Diagnosis >> External Pages >> Different car >> Section 65 (Driver Information System) >> Combination Meters >> Electrical Components Inspection >> Fuel Level Sensor Unit >> Fuel Level Sensor Unit (Sub)
April 5, 2026: LEMON Manuals is launched! Read the announcement.

Fuel Level Sensor Unit (Sub)

WARNING: This page is about a different car, the 2008 Infiniti FX45 and 2008 Infiniti FX35. However, it is still accessible from the selected car via links, so may be relevant.

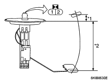
Check resistance between terminals 1 and 2.

Fig 1: Identifying Fuel Level Sensor Unit (Sub) Resistance
G05222313Courtesy of NISSAN MOTOR CO., U.S.A.
FUEL LEVEL SENSOR UNIT (SUB)

Terminal Float position [mm (in)] Resistance value [Ω]
1 2 *1 Full 6 (0.24) Approx. 3
*2 Empty 203 (7.99) Approx. 48
*1 and *2: When float rod is in contact with stopper.