LEMON Manuals: Even more car manuals for everyone: 1960-2025
Home >> Infiniti >> 2009 >> M45 Base >> Repair and Diagnosis >> External Pages >> Different car >> Section 80 (Body Control System) >> BCM (Body Control Module) >> System Description >> Combination Switch Reading Function >> Sample Operation: (When Lighting Switch 1ST Position Turned ON)
April 5, 2026: LEMON Manuals is launched! Read the announcement.

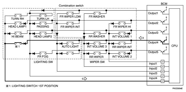
Sample Operation: (When Lighting Switch 1ST Position Turned ON)

WARNING: This page is about a different car, the 2008 Infiniti FX45 and 2008 Infiniti FX35. However, it is still accessible from the selected car via links, so may be relevant.
Fig 1: Operation Diagram (When Lighting Switch 1st Position Turned On)
G04919263Courtesy of NISSAN MOTOR CO., U.S.A.
NOTE: Each OUTPUT terminal transistor is activated at 10 ms intervals. Therefore after switch is turned ON, electrical loads are activated with time delay. But this time delay is so short that it cannot be detected by human senses.